lemon-mirror:
Home >> Lexus >> 2008 >> IS F >> Repair and Diagnosis >> Engine Performance >> Engine Control Systems >> Engine Control System - System & Component Testing, R & I >> Relay >> On-Vehicle Inspection

On-Vehicle Inspection

  1. DISCONNECT CABLE FROM NEGATIVE BATTERY TERMINAL 
    CAUTION: Wait at least 90 seconds after disconnecting the cable from the negative (-) battery terminal to disable the SRS system.
    NOTE: When disconnecting the cable, some systems need to be initialized after the cable is reconnected (See INITIALIZATION ).
  2. REMOVE COOL AIR INTAKE DUCT SEAL  (See REMOVAL )
  3. REMOVE ENGINE ROOM SIDE COVER LH  (See REMOVAL )
  4. REMOVE NO. 2 RELAY BLOCK COVER 
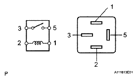
  5. INSPECT IG2 RELAY 
    1. Remove the IG2 relay from the No 2 relay block
    2. Measure the resistance according to the value(s) in the table below.

      Standard Resistance 

      TESTER CONNECTION SPECIFIED CONDITION CHART

      Tester Connection Condition Specified Condition
      3 - 5 No battery voltage is applied across terminals 1 and 2 10 kΩ or higher
      3 - 5 Battery voltage is applied across terminals 1 and 2 Below 1 Ω
      Fig 1: Identifying IG2 Relay Terminal
      G05752014Courtesy of © TOYOTA, LICENSE AGREEMENT TMS1002

      If the result is not as specified, replace the relay

  6. INSPECT VVT LH RELAY 
    1. Remove the VVT LH relay from the No 2 relay block
    2. Measure the resistance according to the value(s) in the table below

      Standard Resistance 

      TESTER CONNECTION SPECIFIED CONDITION CHART

      Tester Connection Condition Specified Condition
      3 - 5 No battery voltage is applied across terminals 1 and 2 10 kΩ or higher
      3 - 5 Battery voltage is applied across terminals 1 and 2 Below 1 Ω

      If the result is not as specified, replace the relay.

      Fig 2: Identifying VVT LH Relay Terminal
      G04943124Courtesy of © TOYOTA, LICENSE AGREEMENT TMS1002
  7. INSPECT VVT RH RELAY 
    1. Remove the VVT RH relay from the No 2 relay block
    2. Measure the resistance according to the value(s) in the table below

      Standard Resistance 

      TESTER CONNECTION SPECIFIED CONDITION CHART

      Tester Connection Condition Specified Condition
      3 - 5 No battery voltage is applied across terminals 1 and 2 10 kΩ or higher
      3 - 5 Battery voltage is applied across terminals 1 and 2 Below 1 Ω

      If the result is not as specified, replace the relay

      Fig 3: Identifying VVT RH Relay Terminal
      G04943124Courtesy of © TOYOTA, LICENSE AGREEMENT TMS1002
  8. INSPECT INJ2 RELAY 
    1. Remove the INJ2 relay from the No 2 relay block
    2. Measure the resistance according to the value(s) in the table below.

      Standard Resistance 

      TESTER CONNECTION SPECIFIED CONDITION CHART

      Tester Connection Condition Specified Condition
      3 - 5 No battery voltage is applied across terminals 1 and 2 10 kΩ or higher
      3 - 5 Battery voltage is applied across terminals 1 and 2 Below 1 Ω

      If the result is not as specified, replace the relay.

      Fig 4: Identifying INJ2 Relay Terminal
      G05752017Courtesy of © TOYOTA, LICENSE AGREEMENT TMS1002
  9. INSPECT A/F RELAY 
    1. Remove the A/F relay from the No. 2 relay block.
    2. Measure the resistance according to the value(s) in the table below.

      Standard Resistance 

      TESTER CONNECTION SPECIFIED CONDITION CHART

      Tester Connection Condition Specified Condition
      3 - 5 No battery voltage is applied across terminals 1 and 2 10 kΩ or higher
      3 - 5 Battery voltage is applied across terminals 1 and 2 Below 1 Ω

      If the result is not as specified, replace the relay

      Fig 5: Identifying A/F Relay Terminal
      G05752014Courtesy of © TOYOTA, LICENSE AGREEMENT TMS1002
  10. INSPECT F/PMP RELAY 
    1. Remove the F/PMP relay from the No 2 relay block.
    2. Measure the resistance according to the value(s) in the table below.

      Standard Resistance 

      TESTER CONNECTION SPECIFIED CONDITION CHART

      Tester Connection Condition Specified Condition
      3 - 4 No battery voltage is applied across terminals 1 and 2 Below 1 Ω
      3 - 4 Battery voltage is applied across terminals 1 and 2 10 kΩ or higher

      If the result is not as specified, replace the relay.

      Fig 6: Identifying F/PMP Relay Terminal
      G05752019Courtesy of © TOYOTA, LICENSE AGREEMENT TMS1002
  11. INSTALL NO. 2 RELAY BLOCK COVER 
  12. CONNECT CABLE TO NEGATIVE BATTERY TERMINAL 
    NOTE: When disconnecting the cable, some systems need to be initialized after the cable is reconnected (See INITIALIZATION ).
  13. INSTALL ENGINE ROOM SIDE COVER LH  (See INSTALLATION )
  14. INSTALL COOL AIR INTAKE DUCT SEAL  (See INSTALLATION )