lemon-mirror:
Home >> Lexus >> 2008 >> LX 570 >> Repair and Diagnosis >> Body & Frame >> Windows >> Windshield/WINDOWGLASS >> Rear Power Window Switch >> Removal

Rear Power Window Switch: Removal

HINT:

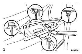
  1. REMOVE REAR UPPER DOOR ARMREST BASE PANEL LH 
    1. Using a molding remover, detach the 6 claws.
    2. Disconnect the connector and remove the armrest base panel.
      Fig 1: Identifying Rear Upper Door Armrest Base Panel LH And Screws
      G05767473Courtesy of © TOYOTA, LICENSE AGREEMENT TMS1002
  2. REMOVE REAR POWER WINDOW REGULATOR SWITCH ASSEMBLY 
    1. Detach the 2 claws and remove the regulator switch.
      Fig 2: Identifying Regulator Switch And Claws
      G05636357Courtesy of © TOYOTA, LICENSE AGREEMENT TMS1002