lemon-mirror:
Home >> Lexus >> 2008 >> LX 570 >> Repair and Diagnosis >> Transmission >> Automatic Trans >> Automatic Transmission >> Valve Body Assembly >> Inspection

Valve Body Assembly: Inspection

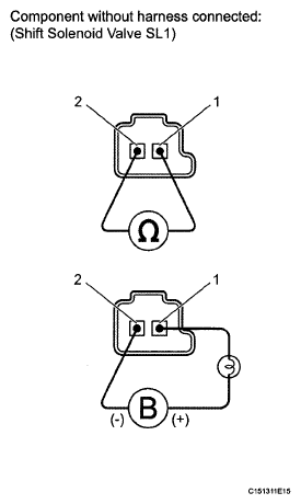
  1. INSPECT SHIFT SOLENOID VALVE SL1 
    1. Measure the resistance according to the value(s) in the table below.

      Standard Resistance 

      STANDARD RESISTANCE SPECIFICATION

      Tester Connection Condition Specified Condition
      1-2 20°C (68°F) 5.0 to 5.6 Ω
    2. Apply 12V battery voltage to the shift solenoid valve and check that the valve moves and makes an operating noise.

    OK 

    MEASUREMENT CONDITION AND SPECIFIED CONDITION

    Measurement Condition Specified Condition
    Battery positive (+) with a 21 W bulb → Terminal 1
    Battery negative (-) → Terminal 2
    Valve moves and makes an operating noise

    If the result is not as specified, replace the solenoid valve.

    Fig 1: Identifying Shift Solenoid Valve SL1
    G05154860Courtesy of © TOYOTA, LICENSE AGREEMENT TMS1002
  2. INSPECT SHIFT SOLENOID VALVE S1 
    1. Measure the resistance according to the value(s) in the table below.

      Standard Resistance 

      STANDARD RESISTANCE SPECIFICATION

      Tester Connection Condition Specified Condition
      Shift solenoid valve S1 connector terminal - Shift solenoid valve S1 body 20°C (68°F) 11 to 15 Ω
    2. Apply 12V battery voltage to the shift solenoid valve and check that the valve moves and makes an operating noise.
    Fig 2: Inspecting Shift Solenoid Valve S1
    G05154725Courtesy of © TOYOTA, LICENSE AGREEMENT TMS1002

    OK 

    MEASUREMENT CONDITION AND SPECIFIED CONDITION

    Measurement Condition Specified Condition
    Battery positive (+) → Shift solenoid valve S1 connector
    Battery negative (-) → Shift solenoid valve S1 body
    Valve moves and makes an operating noise

    If the result is not as specified, replace the solenoid valve.

  3. INSPECT SHIFT SOLENOID VALVE S2 
    1. Measure the resistance according to the value(s) in the table below.

      Standard Resistance 

      STANDARD RESISTANCE SPECIFICATION

      Tester Connection Condition Specified Condition
      Shift solenoid valve S2 connector terminal - Shift solenoid valve S2 body 20°C (68°F) 11 to 15 Ω
    2. Apply 12V battery voltage to the shift solenoid valve and check that the valve moves and makes an operating noise.
    Fig 3: Inspecting Shift Solenoid Valve S2
    G05154726Courtesy of © TOYOTA, LICENSE AGREEMENT TMS1002

    OK 

    MEASUREMENT CONDITION AND SPECIFIED CONDITION

    Measurement Condition Specified Condition
    Battery positive (+) → Shift solenoid valve S2 connector
    Battery negative (-) → Shift solenoid valve S2 body
    Valve moves and makes an operating noise

    If the result is not as specified, replace the solenoid valve.

  4. INSPECT SHIFT SOLENOID VALVE S3 
    1. Measure the resistance according to the value(s) in the table below.

      Standard Resistance 

      STANDARD RESISTANCE SPECIFICATION

      Tester Connection Condition Specified Condition
      Shift solenoid valve S3 connector terminal - Shift solenoid valve S3 body 20°C (68°F) 11 to 15 Ω
    2. Apply 12 V battery voltage to the shift solenoid valve and check that the valve moves and makes an operating noise.
    Fig 4: Inspecting Shift Solenoid Valve S3
    G05154728Courtesy of © TOYOTA, LICENSE AGREEMENT TMS1002

    OK 

    MEASUREMENT CONDITION AND SPECIFIED CONDITION

    Measurement Condition Specified Condition
    Battery positive (+) → Shift solenoid valve S3 connector
    Battery negative (-) → Shift solenoid valve S3 body
    Valve moves and makes an operating noise

    If the result is not as specified, replace the solenoid valve.

  5. INSPECT SHIFT SOLENOID VALVE S4 
    1. Measure the resistance according to the value(s) in the table below.

      Standard Resistance 

      STANDARD RESISTANCE SPECIFICATION

      Tester Connection Condition Specified Condition
      Shift solenoid valve S4 connector terminal - Shift solenoid valve S4 body 20°C (68°F) 11 to 15 Ω
    2. Apply 12V battery voltage to the shift solenoid valve and check that the valve moves and makes an operating noise.
    Fig 5: Inspecting Shift Solenoid Valve S4
    G05154730Courtesy of © TOYOTA, LICENSE AGREEMENT TMS1002

    OK 

    MEASUREMENT CONDITION AND SPECIFIED CONDITION

    Measurement Condition Specified Condition
    Battery positive (+) → Shift solenoid valve S4 connector
    Battery negative (-) → Shift solenoid valve S4 body
    Valve moves and makes an operating noise

    If the result is not as specified, replace the solenoid valve.

  6. INSPECT SHIFT SOLENOID VALVE SL2 
    1. Measure the resistance according to the value(s) in the table below.

      Standard Resistance 

      STANDARD RESISTANCE SPECIFICATION

      Tester Connection Condition Specified Condition
      1-2 20°C (68°F) 5.0 to 5.6 Ω
    2. Apply 12V battery voltage to the shift solenoid valve and check that the valve moves and makes an operating noise.

    OK 

    MEASUREMENT CONDITION AND SPECIFIED CONDITION

    Measurement Condition Specified Condition
    Battery positive (+) with a 21 W bulb → Terminal 1
    Battery negative (-) → Terminal 2
    Valve moves and makes an operating noise

    If the result is not as specified, replace the solenoid valve.

    Fig 6: Inspecting Shift Solenoid Valve SL2
    G05154865Courtesy of © TOYOTA, LICENSE AGREEMENT TMS1002
  7. INSPECT SHIFT SOLENOID VALVE SR 
    1. Measure the resistance according to the value(s) in the table below.
      Fig 7: Inspecting Shift Solenoid Valve SR
      G05154770Courtesy of © TOYOTA, LICENSE AGREEMENT TMS1002

      Standard Resistance 

      STANDARD RESISTANCE SPECIFICATION

      Tester Connection Condition Specified Condition
      Shift solenoid valve SR connector terminal - Shift solenoid valve SR body 20°C (68°F) 11 to 15 Ω
    2. Apply 12V battery voltage to the shift solenoid valve and check that the valve moves and makes an operating noise.

    OK 

    MEASUREMENT CONDITION AND SPECIFIED CONDITION

    Measurement Condition Specified Condition
    Battery positive (+) → Shift solenoid valve SR connector
    Battery negative (-) → Shift solenoid valve SR body
    Valve moves and makes an operating noise

    If the result is not as specified, replace the solenoid valve.

  8. INSPECT SHIFT SOLENOID VALVE SLT 
    1. Measure the resistance according to the value(s) in the table below.

      Standard Resistance 

      STANDARD RESISTANCE SPECIFICATION

      Tester Connection Condition Specified Condition
      1-2 20°C (68°F) 5.0 to 5.6 Ω
    2. Apply 12V battery voltage to the shift solenoid valve and check that the valve moves and makes an operating noise.

    OK 

    MEASUREMENT CONDITION AND SPECIFIED CONDITION

    Measurement Condition Specified Condition
    Battery positive (+) with a 21 W bulb → Terminal 2
    Battery negative (-) → Terminal 1
    Valve moves and makes an operating noise

    If the result is not as specified, replace the solenoid valve.

    Fig 8: Inspecting Shift Solenoid Valve SLT
    G05154867Courtesy of © TOYOTA, LICENSE AGREEMENT TMS1002
  9. INSPECT SHIFT SOLENOID VALVE SLU 
    1. Measure the resistance according to the value(s) in the table below.

      Standard Resistance 

      STANDARD RESISTANCE SPECIFICATION

      Tester Connection Condition Specified Condition
      1-2 20°C (68°F) 5.0 to 5.6 Ω
    2. Apply 12V battery voltage to the shift solenoid valve and check that the valve moves and makes an operating noise.

    OK 

    MEASUREMENT CONDITION AND SPECIFIED CONDITION

    Measurement Condition Specified Condition
    Battery positive (+) with a 21 W bulb → Terminal 2
    Battery negative (-) → Terminal 1
    Valve moves and makes an operating noise

    If the result is not as specified, replace the solenoid valve.

    Fig 9: Inspecting Shift Solenoid Valve SLU
    G05154868Courtesy of © TOYOTA, LICENSE AGREEMENT TMS1002