lemon-mirror:
Home >> Lexus >> 2008 >> RX 350 FWD >> Repair and Diagnosis >> Brakes >> Traction Control >> Brake Control >> Vehicle Stability Control System >> System Diagram

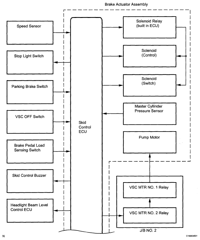
System Diagram

Fig 1: Brake Control System Diagram (1 Of 2)
G05841833Courtesy of © TOYOTA, LICENSE AGREEMENT TMS1002
Fig 2: Brake Control System Diagram (2 Of 2)
G05841834Courtesy of © TOYOTA, LICENSE AGREEMENT TMS1002
COMMUNICATION CHART

Transmission ECU (transmitter) Receiving ECU Signals Communication Method
ECM Skid control ECU
  • Shift position signal
  • Throttle position signal
  • Engine revolution signal
  • Intake air temperature signal
  • Engine torque request signal
  • Accelerator pedal position signal
CAN communication system
Skid control ECU Yaw rate and acceleration sensor Yaw rate and acceleration request signal CAN communication system
Skid control ECU Steering angle sensor Steering angle sensor request signal CAN communication system
Skid control ECU ECM
  • Wheel speed signal
  • VSC data signal
CAN communication system
Skid control ECU Gateway ECU
  • ABS warning light ON signal
  • Brake warning light ON signal
  • VSC OFF indicator light ON signal
  • SLIP indicator light ON signal
  • DTC output signal
CAN communication system