lemon-mirror:
Home >> Lexus >> 2008 >> RX 400h FWD >> Repair and Diagnosis >> Brakes >> Traction Control >> Brake Control >> Electronically Controlled Brake System >> System Diagram

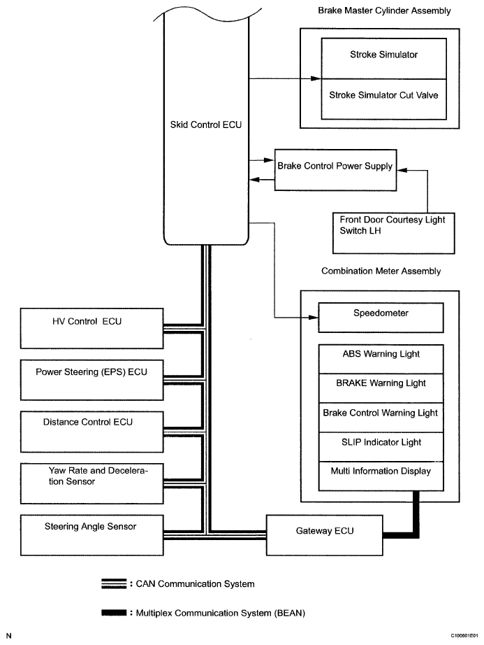
System Diagram

Fig 1: Electronically Controlled Brake System Diagram (1 Of 4)
G05202623Courtesy of © TOYOTA, LICENSE AGREEMENT TMS1002
Fig 2: Electronically Controlled Brake System Diagram (2 Of 4)
G05202624Courtesy of © TOYOTA, LICENSE AGREEMENT TMS1002
Fig 3: Electronically Controlled Brake System Diagram (3 Of 4)
G05202625Courtesy of © TOYOTA, LICENSE AGREEMENT TMS1002
Fig 4: Electronically Controlled Brake System Diagram (4 Of 4)
G05202626Courtesy of © TOYOTA, LICENSE AGREEMENT TMS1002
COMMUNICATION METHOD REFERENCE

Transmitting ECU (Transmitter) Receiving ECU Signals Communication Method
HV control ECU Skid control ECU
  • Shift position signal
  • Throttle position signal
  • Engine revolution signal
  • Intake air temperature signal
  • Engine torque request signal
  • Accelerator pedal position signal
CAN communication system
Skid control ECU Yaw rate and deceleration sensor Yaw rate and deceleration request signal CAN communication system
Skid control ECU Steering angle sensor Steering angle sensor request signal CAN communication system
Skid control ECU HV control ECU
  • Wheel speed signal
  • VSC data signal
CAN communication system
Skid control ECU Gateway ECU
  • ABS warning light ON signal
  • BRAKE warning light ON signal
  • VSC warning signal
  • Brake control warning light ON signal
  • SLIP indicator light ON signal
CAN communication system
Skid control ECU Power steering ECU Target additional torque signal CAN communication system
Power steering ECU Skid control ECU EPS cooperative control enabling signal CAN communication system
Distance control ECU Skid control ECU
  • Brake control request signal
CAN communication system