lemon-mirror:
Home >> Lexus >> 2008 >> SC 430 >> Repair and Diagnosis (Single Page) >> Engine Mechanical >> Mechanical >> Engine Mechanical >> Engine Unit >> Components

Engine Unit: Components

Fig 1: Identifying Engine Unit Replacement Components With Torque Specifications (1 Of 11)
G05289022Courtesy of © TOYOTA, LICENSE AGREEMENT TMS1002
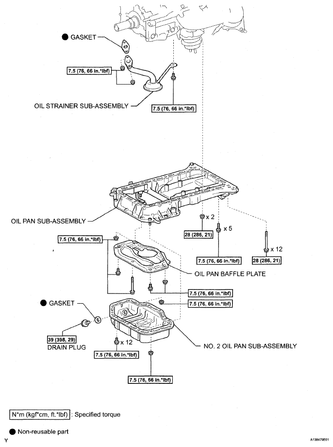
Fig 2: Identifying Engine Unit Replacement Components With Torque Specifications (2 Of 11)
G05289023Courtesy of © TOYOTA, LICENSE AGREEMENT TMS1002
Fig 3: Identifying Engine Unit Replacement Components With Torque Specifications (3 Of 11)
G05289024Courtesy of © TOYOTA, LICENSE AGREEMENT TMS1002
Fig 4: Identifying Engine Unit Replacement Components With Torque Specifications (4 Of 11)
G05289025Courtesy of © TOYOTA, LICENSE AGREEMENT TMS1002
Fig 5: Identifying Engine Unit Replacement Components With Torque Specifications (5 Of 11)
G05289026Courtesy of © TOYOTA, LICENSE AGREEMENT TMS1002
Fig 6: Identifying Engine Unit Replacement Components With Torque Specifications (6 Of 11)
G05289027Courtesy of © TOYOTA, LICENSE AGREEMENT TMS1002
Fig 7: Identifying Engine Unit Replacement Components With Torque Specifications (7 Of 11)
G05289028Courtesy of © TOYOTA, LICENSE AGREEMENT TMS1002
Fig 8: Identifying Engine Unit Replacement Components (8 Of 11)
G05289029Courtesy of © TOYOTA, LICENSE AGREEMENT TMS1002
Fig 9: Identifying Engine Unit Replacement Components With Torque Specifications (9 Of 11)
G05289030Courtesy of © TOYOTA, LICENSE AGREEMENT TMS1002
Fig 10: Identifying Engine Unit Replacement Components With Torque Specifications (10 Of 11)
G05289031Courtesy of © TOYOTA, LICENSE AGREEMENT TMS1002
Fig 11: Identifying Engine Unit Replacement Components With Torque Specifications (11 Of 11)
G05289032Courtesy of © TOYOTA, LICENSE AGREEMENT TMS1002