lemon-mirror:
Home >> Lexus >> 2008 >> SC 430 >> Repair and Diagnosis >> Engine Performance >> Engine Control System >> SFI System >> Fuel Pump Control Circuit >> Inspection Procedure

Inspection Procedure

HINT:

This troubleshooting procedure is based on the premise that the engine is started. If the engine is not started, proceed to the problem symptoms table (see PROBLEM SYMPTOMS TABLE ).

  1. PERFORM ACTIVE TEST BY TECHSTREAM (OPERATE C/OPN RELAY) 
    1. Connect the Techstream to the DLC3.
    2. Turn the ignition switch ON and turn the tester ON.
    3. Enter the following menus: Powertrain / Engine and ECT / Active Test / Control the Fuel Pump / Speed.
    4. Check the relay operation while operating it using the tester.

    OK: 

    Operating noise can be heard from the relay. 

    OK:  Go to step  6

    NG: Go to next step 

  2. INSPECT FUSE (IGN) 
    1. Remove the IGN fuse from the engine room No. 1 relay block.
    2. Measure the resistance of the fuse.

    Standard resistance: 

    Below 1 Ω 

    NG: REPLACE FUSE 

    Fig 1: Identifying IGN Fuse
    G05291537Courtesy of © TOYOTA, LICENSE AGREEMENT TMS1002

    OK: Go to next step 

  3. INSPECT CIRCUIT OPENING RELAY (Marking: CIR OPN) 
    1. Remove the circuit opening relay from the engine room No. 2 relay block.
    2. Measure the resistance of the relay.

    Standard resistance: 

    Below 1 Ω. 

    NG: REPLACE CIRCUIT OPENING RELAY 

    Fig 2: Engine Room No. 2 Relay Circuit Diagram
    G05291303Courtesy of © TOYOTA, LICENSE AGREEMENT TMS1002

    OK: Go to next step 

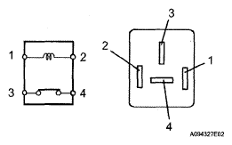
  4. INSPECT IG2 RELAY (Marking: IG2) 
    1. Remove the IG2 relay from the engine room No. 1 relay block.
    2. Measure the resistance of the relay.

    Standard resistance 

    TESTER CONNECTION SPECIFIED CONDITION CHART

    Tester Connection Specified Condition
    3-5 10 kΩ or higher
    3-5 Below 1 Ω (when battery voltage is applied to terminals 1 and 2)
    Fig 3: IG2 Relay Circuit Diagram
    G05291303Courtesy of © TOYOTA, LICENSE AGREEMENT TMS1002

    NG: REPLACE IG2 RELAY 

    OK: Go to next step 

  5. CHECK ECM (FC VOLTAGE) 
    1. Turn the ignition switch ON.
    2. Measure the voltage of the ECM connector.

    Standard voltage 

    TESTER CONNECTION SPECIFIED CONDITION CHART

    Tester Connection Specified Condition
    E6-14 (FC) - Body ground 9 to 14 V

    NG: REPAIR OR REPLACE HARNESS AND CONNECTOR 

    Fig 4: Identifying E6 ECM Connector Terminals
    G05291552Courtesy of © TOYOTA, LICENSE AGREEMENT TMS1002

    OK: REPLACE ECM 

  6. INSPECT FUEL PUMP RELAY (Marking: F/PMP) 
    1. Remove the fuel pump relay from the engine room No. 2 relay block.
    2. Measure the resistance of the relay.

    Standard resistance 

    TESTER CONNECTION SPECIFIED CONDITION CHART

    Tester Connection Specified Condition
    3-4 Below 1 Ω
    3-4 10 kΩ or higher (when battery voltage is applied to terminals 1 and 2)
    Fig 5: Fuel Pump Relay Circuit Diagram
    G05291391Courtesy of © TOYOTA, LICENSE AGREEMENT TMS1002

    NG: REPLACE FUEL PUMP RELAY 

    OK: Go to next step 

  7. INSPECT FUEL PUMP 
    1. Check the resistance of the fuel pump.
      1. Measure the resistance between terminals 4 and 5.

      Standard resistance: 

      0.2 to 3.0 Ω at 20°C (68°F) 

    2. Check the operation of the fuel pump.
      1. Apply battery voltage to both the terminals. Check that the pump operates.
      Fig 6: Identifying Fuel Pump Connector
      G05291554Courtesy of © TOYOTA, LICENSE AGREEMENT TMS1002
    NOTE:
    • These tests must be done quickly (within 10 seconds) to prevent the coil from burning out.
    • Keep fuel pump as far away from the battery as possible.
    CAUTION: Always turn the voltage on and off on the battery side, not the fuel pump.

    NG: REPLACE FUEL PUMP 

    OK: Go to next step 

  8. INSPECT FUEL PUMP RESISTOR 
    1. Measure the resistance of the resistor.

    Standard resistance: 

    0.30 to 0.34 Ω at 20°C (68°F) 

    NG: REPLACE FUEL PUMP RESISTOR 

    Fig 7: Inspecting Fuel Pump Resistor
    G05291555Courtesy of © TOYOTA, LICENSE AGREEMENT TMS1002

    OK: Go to next step 

  9. CHECK ECM (FPR VOLTAGE) 
    1. Turn the ignition switch ON.
    2. Measure the voltage of the ECM connector.

    Standard voltage 

    TESTER CONNECTION SPECIFIED CONDITION CHART

    Tester Connection Specified Condition
    E6-15 (FPR) - Body ground 9 to 14 V

    NG: REPAIR OR REPLACE HARNESS AND CONNECTOR 

    Fig 8: Identifying E6 ECM Connector
    G05291556Courtesy of © TOYOTA, LICENSE AGREEMENT TMS1002

    OK: Go to next step 

  10. CHECK FOR SHORT OR OPEN IN ALL HARNESSES CONNECTED TO FUEL PUMP AND FUEL PUMP RESISTOR 

    NG: REPAIR OR REPLACE HARNESS AND CONNECTOR 

    OK: REPLACE ECM