lemon-mirror:
Home >> Lexus >> 2008 >> SC 430 >> Repair and Diagnosis >> External Pages >> Different car >> Section 46 (Navigation) >> Navigation System >> System Diagram

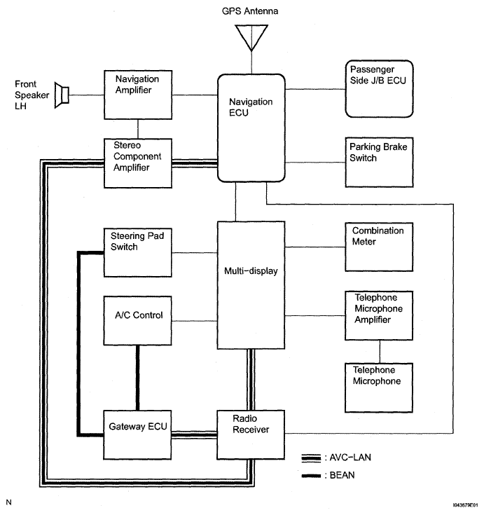
System Diagram

WARNING: This page is about a different car, the 2007 Lexus SC 430. However, it is still accessible from the selected car via links, so may be relevant.
Fig 1: Navigation System Diagram
G05293187Courtesy of © TOYOTA, LICENSE AGREEMENT TMS1002