lemon-mirror:
Home >> Lexus >> 2011 >> LX 570 >> Repair and Diagnosis >> General Information >> Identification >> Introduction >> Repair Instruction >> Precaution (08/2011 - ) >> Precaution

Precaution (08/2011 - ): Precaution

  1. BASIC REPAIR HINT 
    1. HINTS ON OPERATIONS
      Fig 1: Basic Repair Instructions
      GTY357260Courtesy of © TOYOTA, LICENSE AGREEMENT TMS1002
      1 Attire
      • Always wear a clean uniform.
      • Hat and safety shoes must be worn.
      2 Vehicle protection Prepare a grille cover, fender cover, seat cover and floor mat before starting the operation.
      3 Safe operation
      • Use wheel chocks to secure the vehicle.
      • When working with the engine running, make sure to provide ventilation for exhaust fumes in the workshop.
      • When removing or installing heavy parts, such as the engine, transmission, differential, etc., before starting work make sure there are no problems with the equipment that will be used.
      • When working with 2 or more persons, be sure to check safety for one another.
      • If working on high temperature, high pressure, rotating, moving, or vibrating parts, wear appropriate safety equipment and take extra care not to injure yourself or others.
      4 Preparation of tools and measuring gauge Before starting operation, prepare a tool stand, SST, a gauge, oil and the parts for replacement.
      5 Removal and installation, disassembly and assembly operations
      • Diagnose with a thorough understanding of proper procedures and of the reported problem.
      • Before removing the parts, check the general condition of the assembly and for deformation and damage.
      • When the assembly is complicated, take notes. For example, note the total number of electrical connections, bolts, or hoses removed. Add matchmarks to ensure reassembly of components in the original positions. Temporarily mark hoses and their fittings if needed.
      • Clean and wash the removed parts if necessary and assemble them after a thorough check.
      6 Removed parts
      • Place the removed parts in a separate box to avoid mixing them up with the new parts or contaminating the new parts.
      • For non-reusable parts such as gaskets, O-rings, and self-locking nuts, replace them with new ones as instructed in this service information.
      • Retain the removed parts for customer inspection, if requested.
      7* Checks to perform after work is finished
      • Make sure that removed and installed parts (oil filler cap, level dipstick, floor mat, etc.) are properly installed/tightened.
      • Make sure that none of the cloths or tools that were used have been left in the engine compartment or within the vehicle.
      • Check that there are no oil leaks.
      WARNING:

      *:Be sure to perform these checks properly, not performing these checks properly after finishing work can lead to serious accident or injury.

    2. JACKING UP AND SUPPORTING VEHICLE
      1. Care must be taken when jacking up and supporting the vehicle. Be sure to lift and support the vehicle at the proper locations.
    3. PRECOATED PARTS
      Fig 2: Identifying Seal Lock Adhesive
      GTY357147Courtesy of © TOYOTA, LICENSE AGREEMENT TMS1002
      1. Precoated parts are bolts and nuts that are coated with a seal lock adhesive at the factory.
      2. If a precoated part is retightened, loosened or moved in any way, it must be recoated with the specified adhesive.
      3. When reusing a precoated part, clean off the old adhesive and dry the part with compressed air. Then apply new seal lock adhesive appropriate to that part.
      4. Some seal lock agents harden slowly. You may have to wait for the seal lock adhesive to harden.
    4. GASKETS
      1. When necessary, use a sealer on gaskets to prevent leaks.
    5. BOLTS, NUTS AND SCREWS
      1. Carefully follow all the specifications for tightening torques. Always use a torque wrench.
    6. FUSES
      Fig 3: Identifying Fuse Condition
      GTY347842Courtesy of © TOYOTA, LICENSE AGREEMENT TMS1002
      1. When inspecting a fuse, check that the wire of the fuse is not broken.
      2. If the wire of a fuse is broken, confirm that there are no shorts in its circuit.
      3. When a fuse is replaced, a fuse with the same amperage rating must be used.
        Illustration Symbol Part Name Abbreviation
        GTY349253Courtesy of © TOYOTA, LICENSE AGREEMENT TMS1002
        GTY264459Courtesy of © TOYOTA, LICENSE AGREEMENT TMS1002
        FUSE FUSE
        GTY263878Courtesy of © TOYOTA, LICENSE AGREEMENT TMS1002
        GTY263732Courtesy of © TOYOTA, LICENSE AGREEMENT TMS1002
        MEDIUM CURRENT FUSE M-FUSE
        GTY263483Courtesy of © TOYOTA, LICENSE AGREEMENT TMS1002
        GTY283653Courtesy of © TOYOTA, LICENSE AGREEMENT TMS1002
        HIGH CURRENT FUSE H-FUSE
        GTY258156Courtesy of © TOYOTA, LICENSE AGREEMENT TMS1002
        GTY258380Courtesy of © TOYOTA, LICENSE AGREEMENT TMS1002
        FUSIBLE LINK FL
        GTY282557Courtesy of © TOYOTA, LICENSE AGREEMENT TMS1002
        GTY258826Courtesy of © TOYOTA, LICENSE AGREEMENT TMS1002
        CIRCUIT BREAKER CB
    7. CLIPS
      1. The removal and installation methods of typical clips used for vehicle body parts are shown in the table below.

        HINT: 

        If clips are damaged during a procedure, always replace the clips with new clips.

        Shape (Example) Illustration Procedures
        GTY259011Courtesy of © TOYOTA, LICENSE AGREEMENT TMS1002
        GTY257368Courtesy of © TOYOTA, LICENSE AGREEMENT TMS1002
        Remove clips with a clip remover or pliers.
        GTY257614Courtesy of © TOYOTA, LICENSE AGREEMENT TMS1002
        GTY282376Courtesy of © TOYOTA, LICENSE AGREEMENT TMS1002
        Remove clips with a clip remover or screwdriver.
        GTY258143Courtesy of © TOYOTA, LICENSE AGREEMENT TMS1002
        GTY256641Courtesy of © TOYOTA, LICENSE AGREEMENT TMS1002
        Remove clips with a wide scraper to prevent panel damage.
        GTY281849Courtesy of © TOYOTA, LICENSE AGREEMENT TMS1002
        GTY256240Courtesy of © TOYOTA, LICENSE AGREEMENT TMS1002
        Remove clips by pushing the center pin through and prying out the shell.
        GTY281969Courtesy of © TOYOTA, LICENSE AGREEMENT TMS1002
        GTY255005Courtesy of © TOYOTA, LICENSE AGREEMENT TMS1002
        Remove clips by unscrewing the center pin and prying out the shell.
        GTY254819Courtesy of © TOYOTA, LICENSE AGREEMENT TMS1002
        GTY255419Courtesy of © TOYOTA, LICENSE AGREEMENT TMS1002
        Remove clips by prying out the pin and then prying out the shell.
    8. CLAWS
      1. The removal and installation methods of typical claws used for vehicle body parts are shown in the table below.

        HINT: 

        If claws of caps or covers are damaged during a procedure, always replace the caps or covers with new ones.

        Shape (Example) Illustration Procedures
        GTY256386Courtesy of © TOYOTA, LICENSE AGREEMENT TMS1002
        GTY258410Courtesy of © TOYOTA, LICENSE AGREEMENT TMS1002
        Using a screwdriver, detach the claws and remove the caps or covers.
        GTY263869Courtesy of © TOYOTA, LICENSE AGREEMENT TMS1002
        GTY297136Courtesy of © TOYOTA, LICENSE AGREEMENT TMS1002
        Using a screwdriver, detach the claws and remove the caps or covers.
        GTY260664Courtesy of © TOYOTA, LICENSE AGREEMENT TMS1002
        GTY261279Courtesy of © TOYOTA, LICENSE AGREEMENT TMS1002
        Using a screwdriver, detach the claws and remove the caps or covers.
    9. HINGE, GUIDE, CLAMP, PIN ETC.
      1. The removal and installation methods of typical hinges, guides, clamps and pins used for vehicle body parts are shown in the table below.

        HINT: 

        If clamps are damaged during a procedure, always replace the cap or cover that has damaged clamps with a new one.

        Shape (Example) Illustration Procedures
        GTY341155Courtesy of © TOYOTA, LICENSE AGREEMENT TMS1002
        GTY341722Courtesy of © TOYOTA, LICENSE AGREEMENT TMS1002
        Disengage the pins by pulling.
        GTY324481Courtesy of © TOYOTA, LICENSE AGREEMENT TMS1002
        GTY324378Courtesy of © TOYOTA, LICENSE AGREEMENT TMS1002
        Disengage the pins by pulling.
        GTY341418Courtesy of © TOYOTA, LICENSE AGREEMENT TMS1002
        GTY342001Courtesy of © TOYOTA, LICENSE AGREEMENT TMS1002
        Remove the clamps with pliers.
        GTY341609Courtesy of © TOYOTA, LICENSE AGREEMENT TMS1002
        GTY336248Courtesy of © TOYOTA, LICENSE AGREEMENT TMS1002
        Disengage the pins by pulling.
    10. REMOVAL AND INSTALLATION OF VACUUM HOSES
      1. To disconnect a vacuum hose, pull and twist from the end of the hose. Do not pull from the middle of the hose as this may cause damage.
        Fig 4: Identifying Correct & Incorrect Method Of Disconnecting Vacuum Hose
        GTY350148Courtesy of © TOYOTA, LICENSE AGREEMENT TMS1002
      2. When disconnecting vacuum hoses, use tags to identify where they should be reconnected.
        Fig 5: Applying Tag On Vacuum Hoses
        GTY355494Courtesy of © TOYOTA, LICENSE AGREEMENT TMS1002
      3. After completing any hose related repairs, double check that the vacuum hoses are properly connected. The label under the hood shows the proper layout.
      4. When using a vacuum gauge, never force the hose onto a connector that is too large. If a hose has been stretched, it may leak air. Use a step-down adapter if necessary.
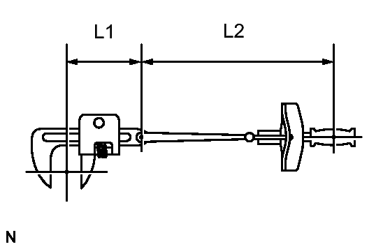
    11. TORQUE WHEN USING TORQUE WRENCH WITH EXTENSION TOOL
      Fig 6: Identifying Torque Wrench Dimension
      GTY358450Courtesy of © TOYOTA, LICENSE AGREEMENT TMS1002
      1. Use the formula below to calculate special torque values for situations where SST or an extension tool is combined with a torque wrench.
        Fig 7: Identifying Torque Wrench Dimension
        GTY358090Courtesy of © TOYOTA, LICENSE AGREEMENT TMS1002

        Formula

        T' = L2 / (L1 + L2) * T

        T' Reading of torque wrench {N*m (kgf*cm, ft.*lbf)}
        T Torque {N*m (kgf*cm, ft.*lbf)}
        L1 Length of SST or extension tool {cm (in.)}
        L2 Length of torque wrench {cm (in.)}
        NOTE:

        If an extension tool or SST is combined with a torque wrench and the wrench is used to tighten to a torque specification in this service information, the actual torque will be excessive and parts will be damaged.

  2. FOR VEHICLES WITH SUPPLEMENTAL RESTRAINT SYSTEM 

    The LEXUS LX570 is equipped with a Supplemental Restraint System (SRS). The SRS of this vehicle consists of the following:

    1. Steering pad
    2. Front passenger airbag assembly
    3. Curtain shield airbag assembly
    4. Front seat side airbag assembly
    5. Knee airbag assembly
    6. Rear seat side airbag assembly
    7. Rear floor airbag sensor assembly
    8. Seat belt pretensioner
    9. Center airbag sensor assembly
    10. Front airbag sensor
    11. Side airbag sensor
    12. Rear airbag sensor
    13. Seat position airbag sensor
    14. Occupant classification ECU
    WARNING:
    • Failure to carry out service procedures in the correct sequence could cause SRS parts to unexpectedly deploy and possibly lead to serious injuries. Furthermore, if a mistake is made when servicing SRS parts, they may fail to operate when required. Before performing servicing (including installation/removal, inspection and replacement of parts), be sure to read the following precautions.
    • Before starting work, wait at least 90 seconds after the engine switch is turned off and after the cable is disconnected from the negative (-) battery terminal. (SRS parts are equipped with a backup power source. If work is started within 90 seconds of turning the engine switch off and disconnecting the cable from the negative (-) battery terminal, SRS parts may deploy).
    • Do not expose SRS parts directly to hot air or flames.
    NOTE:
    • Malfunction symptoms of SRS parts are difficult to confirm. DTCs are the most important source of information when troubleshooting. During troubleshooting, always confirm DTCs before disconnecting the cable from the negative (-) battery terminal.
    • For minor collisions where SRS parts do not deploy, always inspect the SRS parts.
    • Before performing repairs, remove airbag sensors as necessary if any kind of impact is likely to occur to an airbag sensor during repairs.
    • Never use SRS parts from another vehicle. When replacing SRS parts, replace them with new ones.
    • Never disassemble or attempt to repair SRS parts.
    • If an SRS part has been dropped, or if there are any cracks, dents or other defects in the case, bracket or connector, replace the SRS part with a new one.
    • Use an ohmmeter/voltmeter with high impedance (10 kΩ/V minimum) for troubleshooting the electrical circuits.
    • Information labels are attached to the periphery of SRS parts. Follow the cautions and instructions on the labels.
    • After work on SRS parts is completed, perform the SRS warning light check.
    • When the cable is disconnected from the negative (-) battery terminal, the memory settings of each system will be cleared. Because of this, be sure to write down the settings of each system before starting work. When work is finished, reset the settings of each system as before. Never use a backup power supply from outside the vehicle to avoid erasing the memory in a system.
    • w/ Navigation system:

      After the engine switch is turned off, the HDD navigation system requires approximately 6 minutes to record various types of memory and settings. As a result, after turning the engine switch off, wait 6 minutes or more before disconnecting the cable from the negative (-) battery terminal.

    • An airbag or pretensioner may be activated by static electricity. To prevent this, be sure to touch a metal surface with bare hands to discharge static electricity before performing this procedure.
    1. SPIRAL CABLE
      1. The steering wheel must be fitted correctly to the steering column with the spiral cable at the neutral position, as cable disconnection and other problems may occur. Refer to the information about correct installation of the steering wheel.
    2. AIRBAG ASSEMBLY
      1. Airbag assembly with pad:

        Always place a removed or new airbag assembly with the pad surface facing upward. Placing the airbag assembly with the airbag inflation direction facing downward could cause a serious accident if the airbag inflates. Also, do not place anything on top of the airbag assembly.

      2. Never measure the resistance of the airbag squib. This may cause the airbag to inflate, which could cause a serious injury.
      3. Grease or detergents of any kind should not be applied to the airbag assembly.
      4. Store the airbag assembly in an area where the ambient temperature is below 93°C (200°F), the humidity is not high and there is no electrical noise.
      5. When using electric welding anywhere on the vehicle, disconnect the center airbag sensor connectors. These connectors contain shorting springs. This feature reduces the possibility of the airbag deploying due to currents entering the squib wiring.
      6. When disposing of the vehicle or the airbag assembly by itself, the airbag should be deployed using SST before disposal. Activate the airbag in a safe place away from electrical noise.
    3. SEAT OUTER BELT ASSEMBLY WITH PRETENSIONER
      1. Never measure the resistance of the seat outer belt. This may cause the pretensioner of the seat outer belt to activate, which could cause a serious injury.
      2. Never install the seat outer belt on another vehicle.
      3. Store the seat outer belt in an area where the ambient temperature is below 80°C (176°F), the humidity is not high and there is no electrical noise.
      4. When using electric welding anywhere on the vehicle, disconnect the center airbag sensor connectors (2 pins). These connectors contain shorting springs. This feature reduces the possibility of the pretensioner deploying due to currents entering the squib wiring.
      5. When disposing of a vehicle or the seat outer belt by itself, the pretensioner should be activated before disposal. Activate the pretensioner in a safe place away from electrical noise.
      6. As the seat outer belt is hot after the pretensioner is activated, allow some time for it to cool down sufficiently before disposal. Never apply water to try to cool down the seat outer belt.
      7. Grease, detergents, oil or water should not be applied to the seat outer belt.
    4. AIRBAG SENSOR ASSEMBLY
      1. Never reuse an airbag sensor assembly that has been involved in a collision where the SRS has deployed.
      2. The connectors to the airbag sensor assembly should be connected or disconnected with the sensor placed on the floor. If the connectors are connected or disconnected while the airbag sensor assembly is not placed on the floor, the SRS may activate.
      3. Work must be started at least 90 seconds after the engine switch is turned off and the cable is disconnected from the negative (-) battery terminal, even if only loosening the set bolts of the airbag sensor assembly.
    5. WIRE HARNESS AND CONNECTOR
      1. The SRS wire harness is integrated with the instrument panel wire harness assembly. All the connectors in the system are yellow. If the SRS wire harness becomes disconnected or the connector becomes broken, repair or replace it.
  3. ELECTRONIC CONTROL 
    1. REMOVAL AND INSTALLATION OF BATTERY CABLE
      Fig 8: Disconnecting Cable From Negative (-) Battery Terminal
      GTY360211Courtesy of © TOYOTA, LICENSE AGREEMENT TMS1002
      1. Before performing electronic work, disconnect the cable from the negative (-) battery terminal to prevent component and wire damage caused by accidental short circuits.
      2. When disconnecting the cable, turn the engine switch off and headlight dimmer switch off and loosen the cable nut completely. Perform these operations without twisting or prying the cable. Then disconnect the cable.
      3. Clock settings*, radio settings, audio system memory, DTCs and other data are cleared when the cable is disconnected from the negative (-) battery terminal. Write down any necessary data before disconnecting the cable.

        HINT: 

        *: w/o Navigation System

      4. Certain systems need to be initialized after disconnecting and reconnecting the cable to the negative (-) battery terminal.
    2. HANDLING OF ELECTRONIC PARTS
      1. Do not open the cover or case of an ECU unless absolutely necessary. If the IC terminals are touched, the IC may be rendered inoperative by static electricity.
        Fig 9: Precaution For Handling Of Electronic Parts
        GTY360638Courtesy of © TOYOTA, LICENSE AGREEMENT TMS1002
      2. Do not pull the wires when disconnecting electronic connectors. Pull the connector.
      3. Be careful not to drop electronic components, such as sensors or relays. If they are dropped on a hard surface, they should be replaced.
      4. When cleaning the engine with steam, protect the electronic components, air filter and emissions-related components from water.
      5. Never use an impact wrench to remove or install temperature switches or temperature sensors.
      6. When measuring the resistance of a wire connector, insert the tester probe carefully to prevent the terminals from bending.
  4. REMOVAL AND INSTALLATION OF FUEL CONTROL PARTS 
    1. PLACE FOR REMOVING AND INSTALLING FUEL SYSTEM PARTS
      1. Work in a location with good air ventilation that does not have welders, grinders, drills, electric motors, stoves, or any other ignition sources.
      2. Never work in a pit or near a pit as vaporized fuel will collect in those places.
    2. REMOVING AND INSTALLING FUEL SYSTEM PARTS
      1. Prepare a fire extinguisher before starting the operation.
      2. To prevent static electricity, install a ground wire to the fuel changer, vehicle and fuel tank, and do not spray the surrounding area with water. Be careful when performing work in this area, as the work surface will become slippery. Do not clean up gasoline spills with water, as this may cause the gasoline to spread, and possibly create a fire hazard.
      3. Avoid using electric motors, working lights and other electric equipment that can cause sparks or high temperatures.
      4. Avoid using iron hammers as they may create sparks.
      5. Dispose of fuel-contaminated cloths separately using a fire resistant container.
  5. REMOVAL AND INSTALLATION OF ENGINE INTAKE PARTS 
    1. If any metal particles enter inlet system parts, they may damage the engine.
      Fig 10: Covering Engine Intake Parts
      GTY348455Courtesy of © TOYOTA, LICENSE AGREEMENT TMS1002
    2. When removing and installing inlet system parts, cover the openings of the removed parts and engine openings. Use gummed tape or other suitable materials.
    3. When installing inlet system parts, check that no metal particles have entered the engine or the installed parts.
  6. HANDLING OF HOSE CLAMPS 
    Fig 11: Identifying Clamp Track And Spring Type Clamp
    GTY360122Courtesy of © TOYOTA, LICENSE AGREEMENT TMS1002
    1. Before removing the hose, check the clamp position so that it can be reinstalled in the same position.
    2. Replace any deformed or dented clamps with new ones.
    3. When reusing a hose, attach the clamp on the clamp track portion of the hose.
    4. For a spring type clamp, you may want to spread the tabs slightly after installation by pushing in the direction of the arrows as shown in the illustration.
  7. FOR VEHICLES EQUIPPED WITH MOBILE COMMUNICATION SYSTEMS 
    1. Install the antenna as far away from the ECU and sensors of the vehicle electronic systems as possible.
      Fig 12: Identifying Antenna
      GTY359751Courtesy of © TOYOTA, LICENSE AGREEMENT TMS1002
    2. Install the antenna feeder at least 20 cm (7.87 in.) away from the ECU and sensors of the vehicle electronic systems. For details about ECU and sensor locations, refer to the appropriate information of the applicable components.
    3. Keep the antenna and feeder separate from other wiring as much as possible. This will prevent signals from the communication equipment from affecting vehicle equipment and vice versa.
    4. Check that the antenna and feeder are correctly adjusted.
    5. Do not install a high-powered mobile communication system.
  8. WHEN INSPECTING HEADLIGHT 
    1. When the headlights are illuminated, do not cover the headlights for 3 minutes or more.
      Fig 13: Identifying Headlights
      GTY353795Courtesy of © TOYOTA, LICENSE AGREEMENT TMS1002
      NOTE:

      As the outer lens of the headlight is made of resin, the resulting heat created when covering the headlight for an extended period of time may deform the headlight.

  9. WHEN SERVICING FULL-TIME 4WD VEHICLES 
    1. Full-time 4WD vehicles are equipped with a mechanical lock type center differential system.
      Fig 14: Identifying Mechanical Lock Type Center Differential System
      GTY360153Courtesy of © TOYOTA, LICENSE AGREEMENT TMS1002
    2. During tests that require the use of a brake tester or chassis dynamometer, such as braking force tests or speedometer tests, if only the front or rear wheels are to be rotated, it is necessary to set the center differential to lock or free depending on the type of test being performed.
      Fig 15: Locking Mechanical Lock Type Center Differential System
      GTY359857Courtesy of © TOYOTA, LICENSE AGREEMENT TMS1002
      CENTER DIFFERENTIAL FREE CONDITION

      Item Condition Wheel
      Center differential switch Off A lifted wheel can be rotated if only one wheel is lifted up, as long as the transmission is in N.
      Indicator light Off
      4WD control switch (H4/L4) Either
      CENTER DIFFERENTIAL LOCK CONDITION

      Item Condition Wheel
      Center differential switch On When only one wheel is lifted up and the transmission is in N, the lifted wheel cannot be rotated.
      Indicator light On
      4WD control switch (H4/L4) Either
      WARNING:

      Center differential lock ←→ free selecting procedures:

      • Operate the switch only when all 4 wheels are stopped or driving in a straight line.
      • Never operate the switch when any wheel is slipping.
      • Never operate the switch when any wheel is spinning freely.
      • Never operate the switch when swerving or cornering.
  10. FOR VEHICLES EQUIPPED WITH TRACTION CONTROL (TRAC) AND VEHICLE STABILITY CONTROL (VSC) SYSTEMS 

    When testing with a drum tester such as a speedometer tester, a combination tester for the speedometer and brake or a chassis dynamometer, or when jacking up the front wheels and turning the wheels, perform the following procedure to enter Test Mode and stop the TRAC and VSC systems.

    WARNING:

    Secure the vehicle with a lock chain for safety.

    NOTE:

    When performing procedures related to VSC OFF switch operation, make sure that the system is in VSC OFF mode.

    HINT: 

    The vehicle may move unexpectedly out of the dynamometer due to TRAC and VSC operations.

    1. Turn the engine switch off.
    2. Check that the steering wheel is centered and move the shift lever to P.
    3. Connect the Techstream to the DLC3.
    4. Turn the engine switch on (IG).
    5. Turn the Techstream on.
    6. Enter the following menus: Chassis / ABS/VSC/ TRAC / Utility / Test Mode.
    7. Check that the slip indicator light and ABS warning light blink in the test mode pattern.
      Fig 16: Identifying Blinking Pattern In Test Mode
      GTY357752Courtesy of © TOYOTA, LICENSE AGREEMENT TMS1002
    8. Start the engine.
  11. WHEN TESTING BRAKES, SPEEDOMETER, ETC. 
    1. When carrying out any kind of servicing or testing on a Full-time 4WD with Active Traction Control System & Vehicle Stability Control (VSC) System in which the front or rear wheels are to be rotated (braking test, speedometer test), be sure to observe the precautions listed below.

      Incorrect preparations or test procedures may cause damage as well as unsuccessful test results.

    2. Before starting any such servicing or test, be sure to check the following items:
      • The VSC system has been set to test mode using the Techstream.
      • The center differential condition (lock or free)
      • Whether the wheels should be touching the ground or jacked up.
      • The shift lever is in N.
      • 4WD control switch (H4 or L4 position)
      • Maximum testing vehicle speed
      • Maximum testing time
      WARNING:
      • The inspection should be done on the rear wheels.
      • Do not start, accelerate or decelerate the vehicle suddenly.
      • The maximum vehicle speed must be below 60 km/h (37 mph) (when using a free roller, it must be below 50 km/h (31 mph)).
      NOTE:
      • A tester with a load setting function for only two wheels cannot be used.
      • The driving time should be less than 1 minute.
    3. When using a braking force tester (not free roller type):

      When performing measurements using a low-speed type braking force tester, observe the following instructions.

      1. Enter test mode using the Techstream.
        Fig 17: Positioning Rear Wheels On Braking Force Tester
        GTY360802Courtesy of © TOYOTA, LICENSE AGREEMENT TMS1002
      2. Set the center differential to lock.
      3. Position the rear wheels on the braking force tester.
      4. Jack up the front wheels.
      5. Ensure that the vehicle does not move using chains or equivalent.
      6. Move the shift lever to N.
      7. Idle the engine, operate the brake booster and perform the test.
        WARNING:

        If the vehicle is tested in normal mode on the drum tester, VSC operation may cause the vehicle to jump out from the drum tester.

        NOTE:
        • The maximum driving time should be 1 minute.
        • Do not forget to change the VSC to the operational condition after the test.
    4. When using a braking force tester (free roller type):

      When performing measurements using a low-speed type braking force tester, observe the following instructions.

      1. Enter test mode using the Techstream.
        Fig 18: Positioning Rear Wheels On Braking Force Tester Roller
        GTY359914Courtesy of © TOYOTA, LICENSE AGREEMENT TMS1002
      2. Set the center differential to free.
      3. Position the rear wheels on the braking force tester roller.
      4. Position the front wheels on the free roller.
      5. Ensure that the vehicle does not move using chains or equivalent.
      6. Move the shift lever to N.
      7. Idle the engine, operate the brake booster and perform the test.
        WARNING:

        If the vehicle is tested in normal mode on the drum tester, VSC operation may cause the vehicle to jump out from the drum tester.

        NOTE:
        • The maximum driving time should be 1 minute.
        • Do not forget to change the VSC to the operational condition after the test.
    5. When using a speedometer (not free roller type):

      Observe the following instructions and then measure with the rear wheels.

      Fig 19: Positioning Rear Wheels On Braking Force Tester
      GTY360802Courtesy of © TOYOTA, LICENSE AGREEMENT TMS1002
      1. Enter test mode using the Techstream.
      2. Set the center differential to lock.
      3. Position the rear wheels on the speedometer.
      4. Jack up the front wheels.
      5. Ensure that the vehicle does not move using chains or equivalent.
      6. Move the shift lever to D.
        WARNING:

        If the vehicle is tested in normal mode on the drum tester, VSC operation may cause the vehicle to jump out from the drum tester.

        NOTE:
        • The maximum speed should be less than 50 km/h (31 mph).
        • If the measurement must be made while the vehicle speed is over 50 km/h (31 mph), remove the front propeller shaft.
        • Do not forget to change the VSC to the operational condition and the center differential to free condition after the test.
    6. When using a speedometer (free roller type):

      Observe the following instructions and then measure with the rear wheels.

      Fig 20: Positioning Rear Wheels On Braking Force Tester Roller
      GTY359914Courtesy of © TOYOTA, LICENSE AGREEMENT TMS1002
      1. Enter test mode using the Techstream.
      2. Set the center differential to lock.
      3. Position the rear wheels on the speedometer tester roller.
      4. Position the front wheels on the free roller.
      5. Ensure that the vehicle does not move using chains or equivalent.
      6. Move the shift lever to D.
        WARNING:

        If the vehicle is tested in normal mode on the drum tester, VSC operation may cause the vehicle to jump out from the drum tester.

        NOTE:
        • The maximum speed should be less than 50 km/h (31 mph).
        • If the measurement must be made while the vehicle speed is over 50 km/h (31 mph), remove the front propeller shaft.
        • Do not forget to change the VSC to the operational condition and the center differential to free condition after the test.
    7. Using a chassis dynamometer.
      Fig 21: Identifying 4-Wheel Drive Chassis Dynamometer
      GTY351527Courtesy of © TOYOTA, LICENSE AGREEMENT TMS1002
      NOTE:

      If you do not observe the following conditions for the test, there will be cases where the 4WD functions will deteriorate, the parts in the drivetrain system will malfunction, or the vehicle will jump out. Therefore, do not conduct a test unless observing the following conditions.

      HINT: 

      When conducting a test with the vehicle highly loaded and driven at high speeds, observe the following:

      Chassis Dynamometer Type Vehicle Speed and Test Time Propeller Shaft
      4-wheel drive chassis dynamometer No restriction Normal (Do not remove)
      NOTE:
      • Do not suddenly accelerate and do not suddenly apply the brakes.
      • Confirm that the vehicle is securely immobilized.
  12. PRECAUTIONS FOR TOWING ALL WHEEL DRIVE VEHICLES 
    1. Use one of the following methods to tow the vehicle.
    2. If the vehicle has trouble with the chassis or drivetrain, use method 1 (flatbed truck).
      Fig 22: Precautions For Towing All Wheel Drive Vehicles
      GTY348847Courtesy of © TOYOTA, LICENSE AGREEMENT TMS1002
      NOTE:

      Do not use any towing method other than those shown above.

    3. If a tow truck is not available, in an emergency the vehicle may be temporarily towed using a cable or chain secured to the emergency towing eyelet(s).

      This should only be attempted on hard surfaced roads for distances of less than 80 km, and at speeds below 30km/h (19 mph).

      A driver must be in the vehicle to steer and operate the brakes. The vehicle's wheels, drivetrain, axles, steering and brakes must be in good condition.

      NOTE:

      If the towing speed or distance exceeds the above limits, or the vehicle is towed in a backward direction with any of the wheels on the ground, the drivetrain may be damaged.

      1. Emergency towing procedure
        1. Turn the ignition switch to ON.
        2. Depress the brake pedal and move the transmission shift lever to N.
        3. Release the parking brake.
        4. Release the brake pedal slowly.
        NOTE:
        • Use extreme caution when towing the vehicle. Avoid sudden starts or erratic driving maneuvers which place excessive stress on the emergency towing eyelet and the cables or chains.
        • Do not turn off the ignition switch. Turning off the ignition switch may result in engagement of the steering lock, resulting in a hazardous situation or accident.
    4. The towing methods shown below are dangerous and can damage the vehicle, so do not use them.
      Fig 23: Precautions For Towing All Wheel Drive Vehicles
      GTY354836Courtesy of © TOYOTA, LICENSE AGREEMENT TMS1002
      1. Do not tow the vehicle with only 2 wheels on the ground.
        NOTE:

        If the vehicle is towed with only the 2 wheels on the ground, the drivetrain may overheat and be damaged or the wheels may come off the dollies.

      2. Do not use a sling-type towing method either from the front or rear.
        NOTE:

        If a sling-type tow truck is used, damage may occur to the vehicle body.

  13. FOR VEHICLES EQUIPPED WITH CATALYTIC CONVERTER 
    WARNING:

    If a large amount of unburned gasoline or gasoline vapors flow into the converter, it may cause overheating and create a fire hazard. To prevent this, observe the following precautions.

    1. Use only unleaded gasoline.
    2. Avoid idling the engine for more than 20 minutes.
    3. When performing spark jump tests:
      1. Perform a spark jump test only when absolutely necessary. Perform this test as rapidly as possible.
      2. While testing, never race the engine.
    4. Avoid a prolonged engine compression measurement. Engine compression measurements must be performed as rapidly as possible.
    5. Do not run the engine when the fuel tank is nearly empty. This may cause the engine to misfire and create an extra load on the converter.