lemon-mirror:
Home >> Lexus >> 2012 >> IS 350C >> Repair and Diagnosis >> General Information >> Hoist/Jack >> Introduction >> Repair Instruction >> Precaution >> Precaution

Repair Instruction: Precaution: Precaution

  1. BASIC REPAIR HINT 
    1. HINTS ON OPERATIONS
      Fig 1: Basic Repair Instruction
      GTY357148Courtesy of © TOYOTA, LICENSE AGREEMENT TMS1002
      1 Attire
      • Always wear a clean uniform.
      • A hat and safety shoes must be worn.
      2 Vehicle protection Prepare a grille cover, fender cover, seat cover and floor mat before starting work.
      3 Safety procedures
      • When working with 2 or more persons, be sure to check the safety of one another.
      • When working with the engine running, make sure to provide ventilation for exhaust fumes in the workshop.
      • If working on high temperature, high pressure, rotating, moving, or vibrating parts, wear appropriate safety equipment and take extra care not to injure yourself or others.
      • When jacking up the vehicle, be sure to support the specified locations with safety stands.
      • When lifting up the vehicle, use appropriate safety equipment.
      4 Preparation of tools and measuring equipment Before starting work, prepare a tool stand, SST, measuring equipment, oil, and any replacement parts required.
      5 Removal and installation, disassembly and assembly operations
      • Diagnose with a thorough understanding of proper procedures and of the reported problem.
      • Before removing any parts, check the general condition of the assembly and for deformation and damage.
      • If the procedure is complicated, take notes. For example, note the total number of electrical connections, bolts, or hoses removed. Add matchmarks to ensure reassembly of components in the original positions. Temporarily mark hoses and their fittings if needed.
      • Clean and wash the removed parts if necessary and assemble them after a thorough check.
      6 Removed parts
      • Place the removed parts in a separate box to avoid mixing them up with new parts or contaminating the new parts.
      • For non-reusable parts such as gaskets, O-rings and self-locking nuts, replace them with new ones as instructed in this information.
      • Retain the removed parts for customer inspection, if requested.
      7* Checks to perform after work is finished
      • Make sure that removed and installed parts (oil filler cap, level dipstick, floor mat, etc.) are properly installed/tightened.
      • Make sure that none of the cloths or tools that were used have been left in the engine compartment or within the vehicle.
      • Check that there are no oil leaks.
      WARNING:

      *: Be sure to perform these checks properly, Notperforming these checks properly after finishing work can lead to serious accident or injury.

    2. JACKING UP AND SUPPORTING VEHICLE
      1. Care must be taken when jacking up and supporting the vehicle. Be sure to lift and support the vehicle at the proper locations.
    3. PRECOATED PARTS
      Fig 2: Identifying Bolt With Seal Lock Adhesive
      GTY236457Courtesy of © TOYOTA, LICENSE AGREEMENT TMS1002
      TEXT IN ILLUSTRATION

      *1 Seal Lock Adhesive
      1. Precoated parts are bolts and nuts that are coated with seal lock adhesive at the factory.
      2. If a precoated part is retightened, loosened or moved in any way, it must be recoated with the specified adhesive.
      3. When reusing a precoated part, clean off the old adhesive and dry the part with compressed air. Then apply new seal lock adhesive appropriately to that part.
      4. Some seal lock agents harden slowly. You may have to wait for the seal lock adhesive to harden.
    4. GASKETS
      1. When necessary, use a sealer on gaskets to prevent leaks.
    5. BOLTS, NUTS AND SCREWS
      1. Carefully follow all the specifications for tightening torque. Always use a torque wrench.
    6. FUSES
      Fig 3: View Of Fuse Inspection
      GTY231657Courtesy of © TOYOTA, LICENSE AGREEMENT TMS1002
      TEXT IN ILLUSTRATION

      *1 INCORRECT
      *2 CORRECT
      1. When inspecting a fuse, check that the wire of the fuse is not broken.
      2. If the wire of a fuse is broken, confirm that there are no shorts in its circuit.
      3. When a fuse is replaced, a fuse with the same amperage rating must be used.
        Illustration Symbol Part Name Abbreviation
        GTY101271Courtesy of © TOYOTA, LICENSE AGREEMENT TMS1002
        GTY101272Courtesy of © TOYOTA, LICENSE AGREEMENT TMS1002
        FUSE FUSE
        GTY101269Courtesy of © TOYOTA, LICENSE AGREEMENT TMS1002
        GTY101270Courtesy of © TOYOTA, LICENSE AGREEMENT TMS1002
        MEDIUM CURRENT FUSE M-FUSE
        GTY103959Courtesy of © TOYOTA, LICENSE AGREEMENT TMS1002
        GTY101267Courtesy of © TOYOTA, LICENSE AGREEMENT TMS1002
        HIGH CURRENT FUSE H-FUSE
        GTY101280Courtesy of © TOYOTA, LICENSE AGREEMENT TMS1002
        GTY101281Courtesy of © TOYOTA, LICENSE AGREEMENT TMS1002
        FUSIBLE LINK FL
        GTY103963Courtesy of © TOYOTA, LICENSE AGREEMENT TMS1002
        GTY101277Courtesy of © TOYOTA, LICENSE AGREEMENT TMS1002
        CIRCUIT BREAKER CB
    7. CLIPS
      1. The removal and installation methods of typical clips used for vehicle body parts are shown in the following table.

        HINT: 

        If clips are damaged during a procedure, always replace the damaged clips with new ones.

        Shape (Example) Removal/Installation
        GTY103962Courtesy of © TOYOTA, LICENSE AGREEMENT TMS1002
        GTY101278Courtesy of © TOYOTA, LICENSE AGREEMENT TMS1002

        Remove the clips with a clip remover or pliers.
        GTY101279Courtesy of © TOYOTA, LICENSE AGREEMENT TMS1002
        GTY101274Courtesy of © TOYOTA, LICENSE AGREEMENT TMS1002

        Remove the clips with a clip remover or screwdriver.
        GTY103961Courtesy of © TOYOTA, LICENSE AGREEMENT TMS1002
        GTY101275Courtesy of © TOYOTA, LICENSE AGREEMENT TMS1002

        Remove the clips with a wide scraper to prevent panel damage.
        GTY101293Courtesy of © TOYOTA, LICENSE AGREEMENT TMS1002
        GTY101292Courtesy of © TOYOTA, LICENSE AGREEMENT TMS1002

        Remove the clips by pushing the center pin through and prying out the shell.
        GTY101291Courtesy of © TOYOTA, LICENSE AGREEMENT TMS1002
        GTY101290Courtesy of © TOYOTA, LICENSE AGREEMENT TMS1002

        Remove the clips by unscrewing the center pin and prying out the shell.
        GTY101295Courtesy of © TOYOTA, LICENSE AGREEMENT TMS1002
        GTY103966Courtesy of © TOYOTA, LICENSE AGREEMENT TMS1002

        Remove the clips by prying out the pin and then prying out the shell.
    8. CLAWS
      1. The removal and installation methods of typical claws used for vehicle body parts are shown in the table below.

        HINT: 

        If claws are damaged during a procedure, always replace the cap or cover that has damaged claws with a new one.

        Shape (Example) Illustration Procedure
        GTY102292Courtesy of © TOYOTA, LICENSE AGREEMENT TMS1002
        GTY102294Courtesy of © TOYOTA, LICENSE AGREEMENT TMS1002
        Using a screwdriver, disengage the claws and remove the cap or cover.
        GTY102138Courtesy of © TOYOTA, LICENSE AGREEMENT TMS1002
        GTY140698Courtesy of © TOYOTA, LICENSE AGREEMENT TMS1002
        Using a screwdriver, disengage the claws and remove the cap or cover.
        GTY102146Courtesy of © TOYOTA, LICENSE AGREEMENT TMS1002
        GTY102144Courtesy of © TOYOTA, LICENSE AGREEMENT TMS1002
        Using a screwdriver, detach the claws and remove the cap or cover.
    9. HINGES, GUIDES, CLAMPS, PINS, ETC.
      1. The removal and installation methods of typical hinges, guides, clamps and pins used for vehicle body parts are shown in the table below.

        HINT: 

        If clamps are damaged during a procedure, always replace the cap or cover that has damaged clamps with a new one.

        Shape (Example) Removal/Installation
        GTY140313Courtesy of © TOYOTA, LICENSE AGREEMENT TMS1002
        GTY138253Courtesy of © TOYOTA, LICENSE AGREEMENT TMS1002
        GTY140315Courtesy of © TOYOTA, LICENSE AGREEMENT TMS1002
        GTY121175Courtesy of © TOYOTA, LICENSE AGREEMENT TMS1002
        GTY144345Courtesy of © TOYOTA, LICENSE AGREEMENT TMS1002
        GTY184657Courtesy of © TOYOTA, LICENSE AGREEMENT TMS1002
        GTY140314Courtesy of © TOYOTA, LICENSE AGREEMENT TMS1002
        GTY179566Courtesy of © TOYOTA, LICENSE AGREEMENT TMS1002
    10. REMOVAL AND INSTALLATION OF VACUUM HOSES
      1. To disconnect a vacuum hose, pull and twist it from the end of the hose. Do not pull it from the middle of the hose as this may damage the hose.
        Fig 4: Removal And Installation Of Vacuum Hoses
        GTY219803Courtesy of © TOYOTA, LICENSE AGREEMENT TMS1002
        TEXT IN ILLUSTRATION

        *1 INCORRECT
        *2 CORRECT
      2. When disconnecting vacuum hoses, use tags to identify where they should be reconnected.
        Fig 5: View Of Tags On Disconnected Vacuum Hoses
        GTY103856Courtesy of © TOYOTA, LICENSE AGREEMENT TMS1002
      3. After completing any hose related repairs, double-check that the vacuum hoses are properly connected. The label under the hood shows the proper layout.
      4. When using a vacuum gauge, never force the hose onto a connector that is too large. If a hose has been stretched, air may leak. Use a step-down adapter if necessary.
    11. TORQUE WHEN USING TORQUE WRENCH WITH EXTENSION TOOL
      Fig 6: Identifying Torque Wrench With Extension Tool(1 Of 2)
      GTY107697Courtesy of © TOYOTA, LICENSE AGREEMENT TMS1002
      1. Use the formula below to calculate special torque values for situations where SST or an extension tool is combined with a torque wrench.
        Fig 7: Identifying Torque Wrench With Extension Tool (2 Of 2)
        GTY100345Courtesy of © TOYOTA, LICENSE AGREEMENT TMS1002
        • Formula

          T' = (L2/(L1 + L2))*T

          T' Reading of torque wrench {N*m (kgf*cm, ft.*lbf)}
          T Torque {N*m (kgf*cm, ft.*lbf)}
          L1 Length of SST or extension tool {cm (in.)}
          L2 Length of torque wrench {cm (in.)}
        NOTE:

        If an extension tool or SST is combined with a torque wrench and used to tighten to a torque specification in this information, the actual torque will be excessive and parts will be damaged.

  2. FOR VEHICLES EQUIPPED WITH SRS AIRBAG AND SEAT BELT PRETENSIONER 

    This vehicle is equipped with a Supplemental Restraint System (SRS).

    WARNING:
    • Before performing pre-disposal deployment of any SRS component, review and closely follow all applicable environmental and hazardous material regulations. Pre-disposal deployment may be considered hazardous material treatment.
    • Failure to carry out the service operations in the correct sequence could cause the SRS to unexpectedly deploy during servicing and lead to serious injury. Furthermore, if a mistake is made when servicing the SRS, it is possible that the SRS may fail to operate properly. Before servicing (including removal or installation of parts, inspection or replacement), be sure to read the following information carefully.
    1. GENERAL NOTICE
      1. As malfunctions of the SRS are difficult to confirm, the Diagnostic Trouble Codes (DTCs) become the most important source of information when troubleshooting. When troubleshooting the SRS, always check for DTCs before disconnecting the battery.
      2. Work must be started at least 90 seconds after the engine switch is turned off and after the cable is disconnected from the negative (-) battery terminal.

        The SRS is equipped with a back-up power source. If work is started within 90 seconds after turning the engine switch off and disconnecting the cable from the negative (-) battery terminal, the SRS may deploy.

        When the cable is disconnected from the negative (-) battery terminal, the clock and audio system memory will be cleared. Before starting work, make a note of the settings of each memory system. When work is finished, reset the clock and audio system as before.

        WARNING:

        Never use a back-up power source (battery or other) to avoid clearing the system memory. The back-up power source may inadvertently power the SRS and cause it to deploy.

      3. If the vehicle has been involved in a minor collision where the SRS does not deploy, the steering pad, front passenger airbag assembly, knee airbag assembly, front seat side airbag assembly, curtain shield airbag assembly and front seat outer belt assembly should be inspected before further use of the vehicle.
      4. Never use SRS parts from another vehicle. When replacing parts, use new parts.
      5. Before repairs, remove the airbag sensor assemblies if impacts are likely to be applied to the sensor during repairs.
      6. Never disassemble and attempt to repair any airbag sensor assemblies or airbag assemblies.
        1. Steering pad
        2. Front passenger airbag assembly
        3. Knee airbag assembly
        4. Seat side airbag assembly
        5. Front seat outer belt assembly
      7. Replace the airbag sensor assemblies and the airbag assemblies if: 1) damage has occurred from being dropped, or 2) cracks, dents or other defects in the case, bracket or connector are present.
      8. Do not directly expose the airbag sensor assemblies or airbag assemblies to hot air or flames.
      9. Use a voltmeter/ohmmeter with high impedance (minimum = 10 kΩ) for troubleshooting electrical circuits.
      10. Information labels are attached to the SRS components. Follow the instructions on the labels.
      11. After work on the SRS is completed, check the SRS warning light.
    2. SPIRAL CABLE
      Fig 8: Spiral Cable
      GTY218993Courtesy of © TOYOTA, LICENSE AGREEMENT TMS1002
      TEXT IN ILLUSTRATION

      *1 Alignment Mark
      1. The steering wheel must be fitted correctly to the steering column with the spiral cable at the neutral position. Otherwise, cable damage and other problems may occur. Refer to the information about correct installation of the steering wheel. Refer to INSTALLATION .
    3. STEERING PAD
      1. Always place a removed or new steering pad with the surface facing upward as shown in the illustration. Placing the steering pad with the pad surface facing downward could cause a serious accident if the airbag deploys. Also, do not place anything on top of the steering pad.
        Fig 9: Identifying Correct Steering Pad Position
        GTY260604Courtesy of © TOYOTA, LICENSE AGREEMENT TMS1002
        TEXT IN ILLUSTRATION

        *1 CORRECT *2 INCORRECT
      2. Never measure the resistance of the airbag squib. This may cause the airbag to deploy, which could cause serious injury.
        Fig 10: View Of Steering Pad Airbag Deployment Warning
        GTY214987Courtesy of © TOYOTA, LICENSE AGREEMENT TMS1002
      3. Grease or detergents of any kind should not be applied to the steering pad.
      4. Store the steering pad in an area where the ambient temperature is below 93°C (200°F), the humidity is not high and there is no electrical noise.
      5. Before using an electric welder anywhere on the vehicle, disconnect the center airbag sensor assembly connectors. These connectors contain shorting springs. This feature reduces the possibility of the airbag deploying due to current entering the squib wiring.
      6. When disposing of the vehicle or the steering pad by itself, the airbag should be deployed using SST before disposal. Refer to DISPOSAL . Deploy the airbag in a safe place away from electrical noise.
    4. FRONT PASSENGER AIRBAG ASSEMBLY
      1. Always place a removed or new front passenger airbag assembly with the pad surface facing upward as shown in the illustration. Placing the airbag assembly with the airbag deployment direction facing downward could cause a serious accident if the airbag deploys.
        Fig 11: Identifying Correct Front Passenger Airbag Position
        GTY266290Courtesy of © TOYOTA, LICENSE AGREEMENT TMS1002
        TEXT IN ILLUSTRATION

        *1 CORRECT *2 INCORRECT
      2. Never measure the resistance of the airbag squib. This may cause the airbag to deploy, which could cause serious injury.
        Fig 12: View Of Front Passenger Airbag Deployment Warning
        GTY214989Courtesy of © TOYOTA, LICENSE AGREEMENT TMS1002
      3. Grease or detergents of any kind should not be applied to the front passenger airbag assembly.
      4. Store the airbag assembly in an area where the ambient temperature is below 93°C (200°F), the humidity is not high and there is no electrical noise.
      5. Before using an electric welder anywhere on the vehicle, disconnect the center airbag sensor assembly connectors. These connectors contain shorting springs. This feature reduces the possibility of the airbag deploying due to current entering the squib wiring.
      6. When disposing of the vehicle or the airbag assembly unit by itself, the airbag should be deployed using SST before disposal. Refer to DISPOSAL . Deploy the airbag in a safe place away from electrical noise.
    5. KNEE AIRBAG ASSEMBLY
      1. Always place a removed or new knee airbag assembly with the airbag deployment direction facing upward as shown in the illustration. Placing the airbag assembly with the airbag deployment direction facing downward could cause a serious accident if the airbag deploys.
        Fig 13: Identifying Correct Steering Pad Position
        GTY271231Courtesy of © TOYOTA, LICENSE AGREEMENT TMS1002
        TEXT IN ILLUSTRATION

        *1 CORRECT *2 INCORRECT
      2. Never measure the resistance of the airbag squib. This may cause the airbag to deploy, which could cause serious injury.
        Fig 14: View Of Knee Airbag Deployment Warning
        GTY232572Courtesy of © TOYOTA, LICENSE AGREEMENT TMS1002
      3. Grease or detergents of any kind should not be applied to the knee airbag assembly.
      4. Store the knee airbag assembly in an area where the ambient temperature is below 93°C (200°F), the humidity is not high and there is no electrical noise.
      5. Before using an electric welder anywhere on the vehicle, disconnect the center airbag sensor assembly connectors. These connectors contain shorting springs. This feature reduces the possibility of the airbag deploying due to current entering the squib wiring.
      6. When disposing of a vehicle or knee airbag assembly unit by itself, the airbag should be deployed using SST before disposal. Refer to DISPOSAL (for driver side). Refer to DISPOSAL (for front passenger side)). Deploy in a safe place away from electrical noise.
    6. SEAT SIDE AIRBAG ASSEMBLY
      1. Always place a removed or new seat side airbag assembly with the airbag deployment direction facing upward.
      2. Never measure the resistance of the airbag squib. This may cause the airbag to deploy, which could cause serious injury.
        Fig 15: View Of Seat Side Airbag Deployment Warning
        GTY218982Courtesy of © TOYOTA, LICENSE AGREEMENT TMS1002
      3. Grease or detergents of any kind should not be applied to the seat side airbag assembly.
      4. Store the airbag assembly in an area where the ambient temperature is below 93°C (200°F), the humidity is not high and there is no electrical noise.
      5. Before using an electric welder anywhere on the vehicle, disconnect the center airbag sensor assembly connectors. These connectors contain shorting springs. This feature reduces the possibility of the airbag deploying due to current entering the squib wiring.
      6. When disposing of a vehicle or the airbag assembly unit by itself, the airbag should be deployed using SST before disposal. Refer to DISPOSAL . Deploy the airbag in a safe place away from electrical noise.
    7. FRONT SEAT OUTER BELT ASSEMBLY (SEAT BELT PRETENSIONER)
      1. Never measure the resistance of the front seat outer belt assembly. This may cause the pretensioner of the front seat outer belt assembly to activate, which could cause serious injury.
        Fig 16: View Of Front Seat Outer Belt Assembly (Seat Belt Pretensioner) Airbag Deployment Warning
        GTY214980Courtesy of © TOYOTA, LICENSE AGREEMENT TMS1002
      2. Never disassemble the front seat outer belt assembly.
      3. Never install the front seat outer belt assembly on another vehicle.
      4. Store the front seat outer belt assembly in an area where the ambient temperature is below 80°C (176°F), the humidity is not high and there is no electrical noise.
      5. Before using an electric welder anywhere on the vehicle, disconnect the center airbag sensor assembly connectors. These connectors contain shorting springs. This feature reduces the possibility of the airbag deploying due to current entering the squib wiring.
      6. When disposing of a vehicle or the front seat outer belt assembly unit by itself, the front seat outer belt assembly should be activated before disposal. Refer to DISPOSAL . Activate the front seat outer belt assembly in a safe place away from electrical noise.
      7. As the front seat outer belt assembly is hot after being activated, allow some time for it to cool down sufficiently before disposal. Never apply water to cool down the front seat outer belt assembly.
      8. Grease, detergents, oil or water should not be applied to the front seat outer belt assembly.
    8. CENTER AIRBAG SENSOR ASSEMBLY
      1. Never reuse a center airbag sensor assembly that has been involved in a collision where the SRS has deployed.
      2. The connectors to the center airbag sensor assembly should be connected or disconnected with the sensor installed to the vehicle. If the connectors are connected or disconnected while the center airbag sensor assembly is not installed, the SRS may activate.
      3. Work must be started at least 90 seconds after the engine switch is turned off and the cable is disconnected from the negative (-) battery terminal, even if only loosening the bolts of the center airbag sensor assembly.
    9. WIRE HARNESS AND CONNECTOR
      1. All the connectors in the system are a standard yellow color. If an SRS wire harness has an open circuit or a connector is broken, replace it.
  3. ELECTRONIC CONTROL 
    Fig 17: Identifying Negative Battery Cable & Terminal
    GTY235193Courtesy of © TOYOTA, LICENSE AGREEMENT TMS1002
    TEXT IN ILLUSTRATION

    *1 Cable
    *2 Negative (-) Battery Terminal
    NOTE:
    • After the engine switch is turned off, the display and navigation module display (HDD navigation system) records various types of memory and settings. As a result, after turning the engine switch off, make sure to wait at least 60 seconds before disconnecting the cable from the negative (-) battery terminal.
    • Before starting the engine, make sure that the ground point is installed to the body with the bolts.
    1. DISCONNECTING AND RECONNECTING NEGATIVE BATTERY CABLE
      1. Before performing work on electronic components, disconnect the cable from the negative (-) battery terminal to prevent damage to the electrical system or components.
      2. When disconnecting the cable, turn the engine switch and headlight switch off and loosen the cable nut completely. Perform these operations without twisting or prying the cable. Then disconnect the cable.
      3. Clock settings, radio settings, audio system memory, DTCs and other data will be cleared when the cable is disconnected from the negative (-) battery terminal. Write down any necessary data before disconnecting the cable.
    2. HANDLING OF ELECTRONIC PARTS
      Fig 18: View Of Incorrect Electronic Parts Handling
      GTY214125Courtesy of © TOYOTA, LICENSE AGREEMENT TMS1002
      TEXT IN ILLUSTRATION

      *1 INCORRECT
      1. Do not open the cover or case of the ECU unless absolutely necessary. If the IC terminals are touched, the IC may be rendered inoperative by static electricity.
      2. Do not pull on the wires when disconnecting electronic connectors. Pull on the connector itself.
      3. Do not drop electronic components, such as sensors or relays. If they are dropped on a hard surface, they should be replaced.
      4. When cleaning the engine with steam, protect the electronic components, air filter and emission-related components from water.
      5. Never use an impact wrench to remove or install temperature switches or temperature sensors.
      6. When measuring the resistance between terminals of a wire connector, insert the tester probe carefully to prevent the terminals from bending.
  4. REMOVAL AND INSTALLATION OF FUEL CONTROL PARTS 
    1. PLACE FOR REMOVING AND INSTALLING FUEL SYSTEM PARTS
      1. Work in a location with good air ventilation that does not have welders, grinders, drills, electric motors, stoves, or any other ignition sources nearby.
      2. Never work in a pit or near a pit as fuel vapors will collect there.
    2. REMOVING AND INSTALLING FUEL SYSTEM PARTS
      1. Prepare a fire extinguisher before starting work.
      2. To prevent static electricity, install a ground wire to the fuel changer and vehicle, and do not spray the surrounding area with water. Be careful when performing work in this area, as the floor surface will become slippery. Do not clean up gasoline spills with water, as this may cause the gasoline to spread, and possibly create a fire hazard.
      3. Avoid using electric motors, work lights and other electric equipment that can cause sparks or high temperatures.
      4. Avoid using iron hammers as they may create sparks.
      5. Dispose of fuel-contaminated cloth separately using a fire resistant container.
  5. REMOVAL AND INSTALLATION OF ENGINE INTAKE PARTS 
    1. If any metal particles enter intake system parts, this may damage the engine.
      Fig 19: Removal And Installation Of Engine Intake Parts
      GTY216254Courtesy of © TOYOTA, LICENSE AGREEMENT TMS1002
    2. When removing and installing intake system parts, cover the openings of the removed parts and engine openings. Use adhesive tape or other suitable materials.
    3. When installing intake system parts, check that no metal particles have entered the engine or installed parts.
  6. HANDLING OF HOSE CLAMPS 
    Fig 20: Identifying Clamp Track Of Spring Type Clamp
    GTY239001Courtesy of © TOYOTA, LICENSE AGREEMENT TMS1002
    TEXT IN ILLUSTRATION

    *1 Clamp Track
    *2 Spring Type Clamp
    1. Before removing a hose, check the clamp position so that it can be reinstalled in the same position.
    2. Replace any deformed or dented clamps with new ones.
    3. When reusing a hose, attach the clamp on the clamp track portion of the hose.
    4. For a spring type clamp, it may be necessary to spread the tabs slightly after installation by pushing them in the direction of the arrows as shown in the illustration.
  7. FOR VEHICLES EQUIPPED WITH MOBILE COMMUNICATION SYSTEMS 
    Fig 21: Precaution For Handling Mobile Communication Systems
    GTY103758Courtesy of © TOYOTA, LICENSE AGREEMENT TMS1002
    1. Install an antenna as far away from the ECU and sensors of the vehicle electronic systems as possible.
    2. Install an antenna and feeder at least 20 cm (7.87 in.) away from the ECU and sensors of the vehicle electronic systems. For details about ECU and sensor locations, refer to the information on the applicable components.
    3. Keep the antenna and feeder separate from other wiring as much as possible. This will prevent signals sent from the communication equipment from affecting vehicle equipment and vice versa.
    4. Check that the antenna and feeder are correctly adjusted.
    5. Do not install a high-powered mobile communication system.
  8. HEADLIGHT INSPECTION OR MAINTENANCE 
    1. When the headlight dimmer switch assembly is set to head, do not touch the discharge headlight high-voltage socket area.
      NOTE:

      When performing inspection or maintenance, the discharge headlight precautions must be followed.

    2. When the headlights are illuminated, do not cover the headlights for 3 minutes or more.
      Fig 22: Identifying Illuminated Headlight
      GTY257830Courtesy of © TOYOTA, LICENSE AGREEMENT TMS1002
      TEXT IN ILLUSTRATION

      *1 Illumination for 3 minutes or more prohibited if covered
      NOTE:

      As the headlight's outer lens is made of resin, the resulting heat created when covering the headlight for an extended period of time may deform the headlight.

  9. FOR VEHICLES EQUIPPED WITH TRACTION CONTROL (TR(A)C) AND VEHICLE STABILITY CONTROL (VSC) SYSTEMS 

    When testing with a 2-wheel drum tester such as a speedometer tester, a combination speedometer and brake tester, or a chassis dynamometer, or when jacking up the front wheels and turning the wheels, perform the following procedure to enter inspection mode and disable the TR(A)C and VSC systems. Refer to PRECAUTION .

    HINT: 

    • The vehicle may slip unexpectedly out of the dynamometer because of TR(A)C and VSC operation.
    • Pressing the VSC OFF switch (for vehicles with a VSC OFF switch) does not disable TR(A)C and VSC operation completely.
    NOTE:
    • Make sure that the VSC warning light is blinking.
    • Secure the vehicle with chains for safety.
  10. PRECAUTIONS FOR TOWING REAR WHEEL DRIVE VEHICLES 
    1. Use one of the following methods to tow the vehicle.
    2. If the vehicle has trouble with the chassis or drivetrain, use method 1 (flatbed truck).
      Fig 23: Towing Front Wheel Drive Vehicles Methods
      GTY316473Courtesy of © TOYOTA, LICENSE AGREEMENT TMS1002
      NOTE:

      Do not use any towing method other than those shown above.

    3. If a tow truck is not available, in an emergency the vehicle may be temporarily towed using a cable or chain secured to the emergency towing eyelet(s). This should only be attempted on hard surfaced roads for distances of less than 80 km, and at speeds below 30 km/h (19 mph).

      A driver must be in the vehicle to steer and operate the brakes. The vehicle's wheels, drivetrain, axles, steering and brakes must be in good condition.

      NOTE:

      If the towing speed or distance exceeds the above limits, or the vehicle is towed in a backward direction with the wheels on the ground, the drivetrain or vehicle may be damaged.

      1. Emergency towing procedure
        1. Turn the engine switch on (IG).
        2. Depress the brake pedal and move the shift lever to N.
        3. Release the parking brake.
        4. Release the brake pedal slowly.
        NOTE:
        • Use extreme caution when towing the vehicle. Avoid sudden starts or erratic driving maneuvers which place excessive stress on the emergency towing eyelet and the cables or chains.
        • Do not turn off the engine switch. Turning off the engine switch may result in engagement of the steering lock, resulting in a hazardous situation or accident.
    4. The towing methods shown below are dangerous and can damage the vehicle, so do not use them.
      Fig 24: View Of Incorrect Way Of Towing
      GTY219604Courtesy of © TOYOTA, LICENSE AGREEMENT TMS1002
      1. Do not tow the vehicle with only 2 wheels on the ground.
        WARNING:

        If the vehicle is towed with only the front wheels on the ground, the steering may move, causing the vehicle to become unstable.

        NOTE:

        If the vehicle is towed with only the rear wheels on the ground, the drivetrain may overheat and be damaged.

      2. Do not use a sling-type towing method either from the front or rear.
        NOTE:

        If a sling-type tow truck is used, damage may occur to the vehicle body.

  11. FOR VEHICLES EQUIPPED WITH CATALYTIC CONVERTER 
    WARNING:

    If a large amount of unburned gasoline or gasoline vapors flow into the converter, it may cause converter overheating and create a fire hazard. To prevent this, observe the following precautions:

    1. Use only unleaded gasoline.
    2. Avoid idling the engine for more than 20 minutes.
    3. Avoid performing unnecessary spark tests.
      1. Perform a spark test only when absolutely necessary. Perform this test as rapidly as possible.
      2. While testing, never race the engine unless instructed.
    4. Avoid a prolonged engine compression measurement. Engine compression measurements must be performed as rapidly as possible.
    5. Do not run the engine when the fuel tank is nearly empty. This may cause the engine to misfire and create an extra load on the converter.
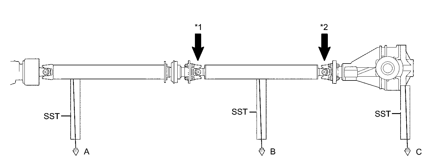
  12. INSPECTION AND ADJUSTMENT OF JOINT ANGLE DURING REMOVAL AND INSTALLATION OF PROPELLER SHAFT 
    1. for 2GR-FSE Engine:

      When performing operations which involve the removal and installation of the propeller shaft, always check the joint angle. Make adjustments if necessary. Refer to INSTALLATION .

      Fig 25: Identifying No. 2 And No. 3 Joint Angles (2GR-FSE)
      GTY282133Courtesy of © TOYOTA, LICENSE AGREEMENT TMS1002
      TEXT IN ILLUSTRATION

      *1 No. 2 Joint Angle *2 No. 3 Joint Angle
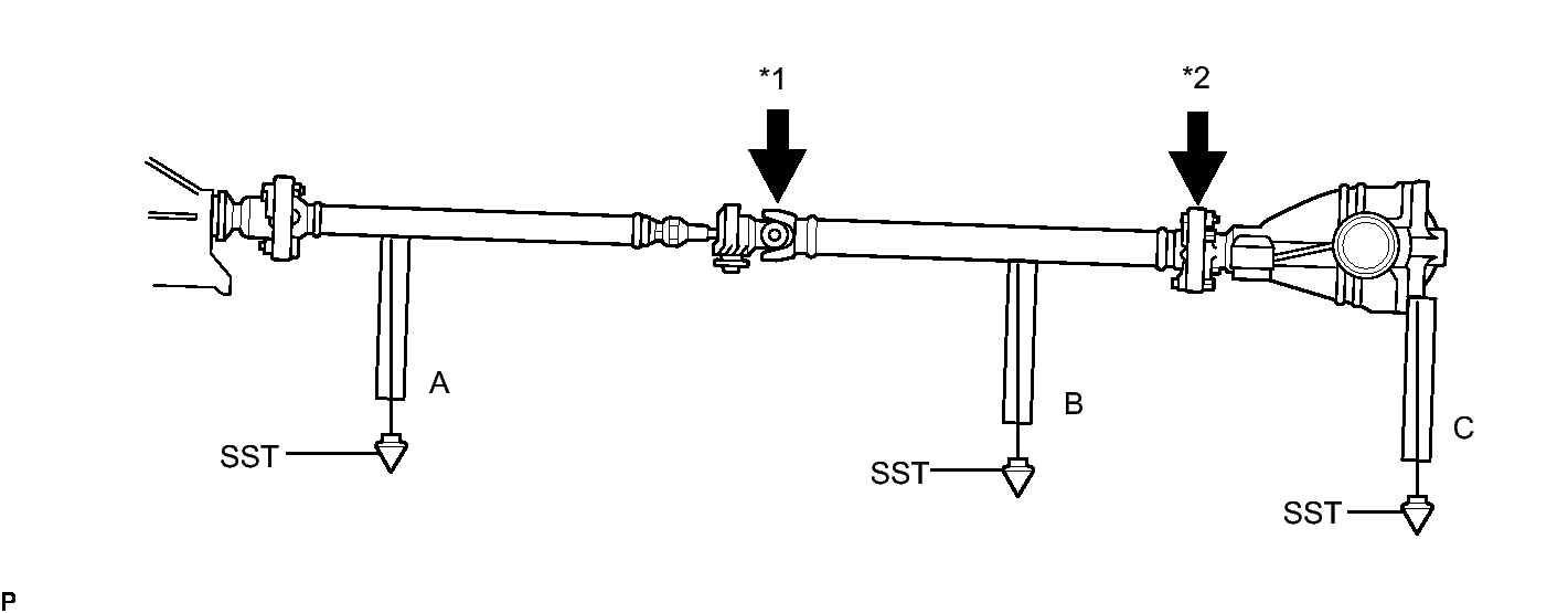
    2. for 4GR-FSE Engine:

      When performing operations which involve the removal and installation of the propeller shaft, always check the joint angle. Make adjustments if necessary. Refer to INSTALLATION .

      Fig 26: View Of Measuring The Installation Angle Of The Differential
      GTY259319Courtesy of © TOYOTA, LICENSE AGREEMENT TMS1002
      TEXT IN ILLUSTRATION

      *1 No. 2 Joint Angle *2 No. 3 Joint Angle