lemon-mirror:
Home >> Lexus >> 2012 >> LS 460 AWD >> Repair and Diagnosis >> Transmission >> Transfer Case >> Transfer Case (Service Information) >> Transfer Assembly >> Disassembly >> Disassembly

Transfer Assembly: Disassembly: Disassembly

  1. REMOVE DYNAMIC DAMPER 
    1. Remove the bolt, 2 washers and dynamic damper from the rear transfer case.
      Fig 1: Identifying Bolt, 2 Washers And Dynamic Damper
      GTY262815Courtesy of © TOYOTA, LICENSE AGREEMENT TMS1002
  2. REMOVE TRANSFER CASE PLUG 
    1. Using a 6 mm hexagon socket wrench, remove the 2 case plugs and 2 O-rings from the front transfer case.
      Fig 2: Identifying Case Plugs And O-Rings
      GTY275962Courtesy of © TOYOTA, LICENSE AGREEMENT TMS1002
  3. REMOVE FILLER PLUG 
    1. Using a 10 mm hexagon socket wrench, remove the filler plug and gasket from the rear transfer case.
      Fig 3: Identifying Filler Plug And Gasket
      GTY257316Courtesy of © TOYOTA, LICENSE AGREEMENT TMS1002
  4. REMOVE TRANSFER DRAIN PLUG 
    1. Using a 10 mm hexagon socket wrench, remove the drain plug and O-ring from the front transfer case.
      Fig 4: Identifying Drain Plug And O-Ring From Front Transfer Case
      GTY257315Courtesy of © TOYOTA, LICENSE AGREEMENT TMS1002
  5. REMOVE TRANSFER CASE BREATHER PLUG 
    1. Remove the breather plug from the front transfer case.
      Fig 5: Identifying Breather Plug
      GTY136389Courtesy of © TOYOTA, LICENSE AGREEMENT TMS1002
  6. REMOVE NO. 2 TRANSFER CASE PLUG 
    1. Using a 17 mm straight hexagon wrench, remove the case plug and gasket from the rear transfer case.
      Fig 6: Identifying Case Plug And Gasket
      GTY262817Courtesy of © TOYOTA, LICENSE AGREEMENT TMS1002
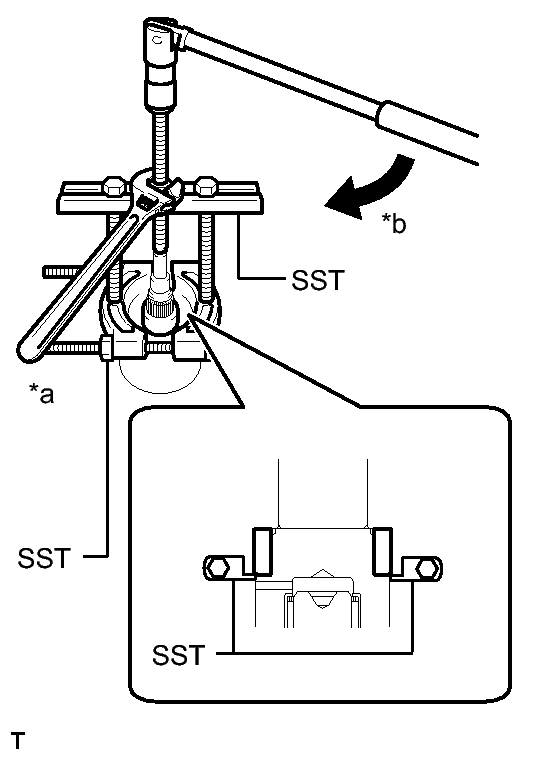
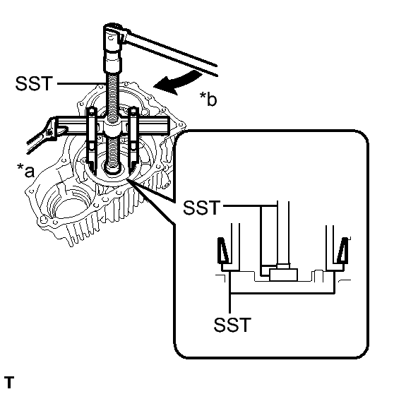
  7. REMOVE OUTPUT SHAFT COMPANION FLANGE SUB-ASSEMBLY 
    1. Using SST, hold the companion flange in place.
      • SST: 09213-58014 
      • SST: 09330-00021 

      HINT: 

      Use bolts of size M8 x P1.25 with a length of approximately 55 mm (2.16 in.) or equivalent to secure the companion flange.

      Fig 7: Using SST To Hold Companion Flange
      GTY121806Courtesy of © TOYOTA, LICENSE AGREEMENT TMS1002
    2. Remove the companion flange bolt and companion flange from the transfer assembly.
      Fig 8: Identifying Companion Flange Bolt And Companion Flange
      GTY263046Courtesy of © TOYOTA, LICENSE AGREEMENT TMS1002
      TEXT IN ILLUSTRATION

      *a Hold
      *b Turn
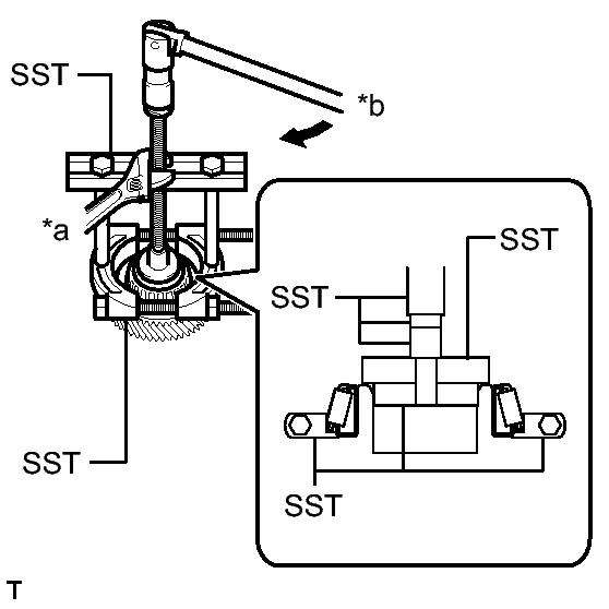
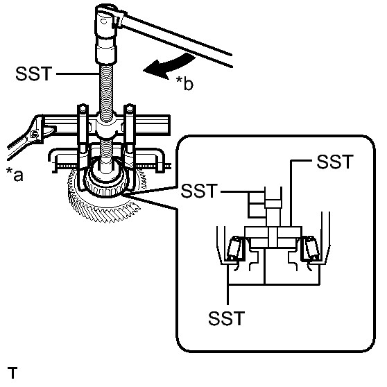
  8. REMOVE DRIVE PINION COMPANION FLANGE SUB-ASSEMBLY 
    1. Using SST and a hammer, loosen the staked part of the transfer output shaft nut.
      • SST: 09930-00010 
      • Fig 9: Loosening Staked Part Of Transfer Output Shaft Nut
        GTY289476Courtesy of © TOYOTA, LICENSE AGREEMENT TMS1002
      NOTE:
      • Completely loosen the staked part of the transfer output shaft nut.
      • Do not damage the threads of the No. 1 differential case.
      • Use SST with the tapered surface facing the No. 1 differential case.
      • Do not grind the end of SST with a grinder or other tool.
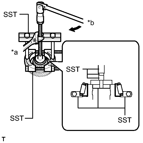
    2. Using SST, hold the companion flange in place.
      • SST: 09330-00021 
      • SST: 09950-30012 
        • 09955-03040
        Fig 10: Holding Companion Flange In Place
        GTY273360Courtesy of © TOYOTA, LICENSE AGREEMENT TMS1002
      TEXT IN ILLUSTRATION

      *a Hold
      *b Turn
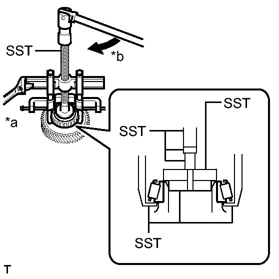
    3. Using a 30 mm socket wrench, remove the transfer output shaft nut.
    4. Using SST, remove the companion flange.
      • SST: 09950-30012 
        • 09951-03010
        • 09953-03010
        • 09954-03010
        • 09955-03040
        Fig 11: Identifying Companion Flange
        GTY268734Courtesy of © TOYOTA, LICENSE AGREEMENT TMS1002
      TEXT IN ILLUSTRATION

      *a Hold
      *b Turn
  9. REMOVE TRANSFER EXTENSION HOUSING OIL SEAL 
    1. Using SST, remove the oil seal.
      • SST: 09308-00010 
      • Fig 12: Identifying Oil Seal
        GTY135111Courtesy of © TOYOTA, LICENSE AGREEMENT TMS1002
      NOTE: Be careful not to damage the surface of the transfer extension housing that contacts the oil seal.
  10. REMOVE NO. 1 DIFFERENTIAL CASE HOLE SNAP RING 
    1. Using needle-nose pliers, remove the snap ring from the extension housing.
      Fig 13: Identifying Snap Ring
      GTY127859Courtesy of © TOYOTA, LICENSE AGREEMENT TMS1002
  11. REMOVE TRANSFER EXTENSION HOUSING 
    1. Remove the 11 bolts and bracket.
      Fig 14: Identifying Bolts And Bracket
      GTY262820Courtesy of © TOYOTA, LICENSE AGREEMENT TMS1002
    2. Using an oil pan seal cutter, remove the extension housing.
      NOTE: Be careful not to damage the contact surface of the extension housing or rear transfer case.
      Fig 15: Identifying Extension Housing
      GTY127860Courtesy of © TOYOTA, LICENSE AGREEMENT TMS1002
  12. REMOVE NO. 1 TRANSFER THRUST BEARING RACE 
    1. Using a screwdriver, remove the bearing race from the extension housing.
      Fig 16: Identifying Bearing Race
      GTY287279Courtesy of © TOYOTA, LICENSE AGREEMENT TMS1002
      TEXT IN ILLUSTRATION

      *1 Protective Tape

      HINT: 

      Tape the screwdriver tip before use.

      NOTE: Be careful not to damage the surface which contacts the bearing race.
  13. REMOVE TRANSFER OUTPUT SHAFT CYLINDRICAL ROLLER BEARING 
    1. Using SST and a press, remove the bearing (outer race) from the extension housing.
      • SST: 09950-60010 
        • 09951-00460
      • SST: 09950-70010 
        • 09951-07100
      • Fig 17: Identifying Bearing (Outer Race)
        GTY143330Courtesy of © TOYOTA, LICENSE AGREEMENT TMS1002

      HINT: 

      The bearing (inner race) is removed from the No. 1 differential case sub-assembly.

  14. REMOVE TRANSFER OUTPUT SHAFT WASHER 
    1. Remove the 2 shaft washers from the No. 1 differential case.
      Fig 18: Identifying Shaft Washers
      GTY262830Courtesy of © TOYOTA, LICENSE AGREEMENT TMS1002
  15. REMOVE DIFFERENTIAL CASE NEEDLE ROLLER BEARING 
    1. Remove the bearing from the No. 1 differential case.
      Fig 19: Identifying Bearing
      GTY262831Courtesy of © TOYOTA, LICENSE AGREEMENT TMS1002
  16. REMOVE NO. 2 TRANSFER THRUST BEARING RACE 
    1. Remove the bearing race from the No. 1 differential case.
      Fig 20: Identifying Bearing Race
      GTY262832Courtesy of © TOYOTA, LICENSE AGREEMENT TMS1002
  17. REMOVE TRANSFER OUTPUT SHAFT SHIM 
    1. Remove the shim from the No. 1 differential case.
      Fig 21: Identifying Transfer Output Shaft Shim
      GTY257946Courtesy of © TOYOTA, LICENSE AGREEMENT TMS1002
  18. REMOVE NO. 1 DIFFERENTIAL CASE SUB-ASSEMBLY 
    1. Remove the No. 1 differential case from the rear transfer case.
  19. REMOVE TRANSFER OUTPUT SHAFT CYLINDRICAL ROLLER BEARING 
    1. Using SST, remove the bearing (inner race) from the No. 1 differential case.
      • SST: 09950-00020 
      • SST: 09950-00030 
      Fig 22: Identifying Bearing (Inner Race)
      GTY261288Courtesy of © TOYOTA, LICENSE AGREEMENT TMS1002
      TEXT IN ILLUSTRATION

      *a Hold
      *b Turn
  20. REMOVE BREATHER OIL DEFLECTOR 
    1. Remove the 2 bolts and oil deflector.
      Fig 23: Identifying Bolts And Oil Deflector
      GTY283534Courtesy of © TOYOTA, LICENSE AGREEMENT TMS1002
  21. REMOVE TRANSFER INPUT GEAR STOPPER SHAFT SNAP RING 
    1. Using a snap ring expander, remove the snap ring from the input shaft.
      Fig 24: Identifying Snap Ring
      GTY262833Courtesy of © TOYOTA, LICENSE AGREEMENT TMS1002
  22. REMOVE TRANSFER INPUT GEAR STOPPER 
    1. Remove the gear stopper from the input shaft.
      Fig 25: Identifying Gear Stopper
      GTY262834Courtesy of © TOYOTA, LICENSE AGREEMENT TMS1002
  23. REMOVE REAR TRANSFER CASE 
    1. Remove the 7 bolts and rear transfer case.
      Fig 26: Identifying Bolts
      GTY262755Courtesy of © TOYOTA, LICENSE AGREEMENT TMS1002
  24. REMOVE TRANSFER IDLER GEAR ASSEMBLY 
    1. Remove the idler gear from the front transfer case.
      Fig 27: Identifying Idler Gear
      GTY262757Courtesy of © TOYOTA, LICENSE AGREEMENT TMS1002
  25. REMOVE TRANSFER OIL PUMP DRIVE SHAFT 
    1. Remove the oil pump drive shaft from the front transfer case.
      Fig 28: Identifying Oil Pump Drive Shaft
      GTY283515Courtesy of © TOYOTA, LICENSE AGREEMENT TMS1002
  26. REMOVE TRANSFER COUNTER GEAR ASSEMBLY 
    1. Remove the counter gear from the front transfer case.
      Fig 29: Identifying Counter Gear
      GTY283443Courtesy of © TOYOTA, LICENSE AGREEMENT TMS1002
  27. REMOVE TRANSFER FRONT DRIVE GEAR ASSEMBLY 
    1. Remove the drive gear from the front transfer case.
      Fig 30: Identifying Drive Gear
      GTY262444Courtesy of © TOYOTA, LICENSE AGREEMENT TMS1002
  28. REMOVE TRANSFER FRONT DRIVE GEAR PIN 
    1. Remove the drive gear pin from the front transfer case.
      Fig 31: Identifying Drive Gear Pin
      GTY262442Courtesy of © TOYOTA, LICENSE AGREEMENT TMS1002
  29. REMOVE TRANSFER INPUT SHAFT 
    1. Remove the input shaft from the drive gear.
      Fig 32: Identifying Input Shaft
      GTY283480Courtesy of © TOYOTA, LICENSE AGREEMENT TMS1002
  30. REMOVE TRANSFER OIL SEAL RING 
    1. Remove the oil seal ring from the input shaft.
      Fig 33: Identifying Oil Seal Ring
      GTY283482Courtesy of © TOYOTA, LICENSE AGREEMENT TMS1002
  31. REMOVE DRIVE PINION COMPANION FLANGE OIL SEAL 
    1. Using a screwdriver and hammer, tap out the oil seal from the companion flange.
      Fig 34: Tap Out Oil Seal
      GTY263335Courtesy of © TOYOTA, LICENSE AGREEMENT TMS1002
      TEXT IN ILLUSTRATION

      *1 Protective Tape

      HINT: 

      Tape the screwdriver tip before use.

  32. REMOVE TRANSFER IDLER GEAR BEARING 
    1. for Front Transfer Case Side:

      Using SST, remove the idler gear bearing (inner race) from the idler gear.

      Fig 35: Identifying Idler Gear Bearing (Inner Race)
      GTY254658Courtesy of © TOYOTA, LICENSE AGREEMENT TMS1002
      • SST: 09950-40011 
        • 09951-04020
        • 09952-04010
        • 09953-04030
        • 09954-04010
        • 09955-04021
        • 09957-04010
        • 09958-04011
      • SST: 09950-60010 
        • 09951-00420
        • 09951-00540
        • 09952-06010
      TEXT IN ILLUSTRATION

      *a Hold
      *b Turn
    2. for Rear Transfer Case Side:

      Using SST, remove the idler gear bearing (inner race) from the idler gear.

      Fig 36: Idler Gear Bearing (Inner Race)
      GTY267019Courtesy of © TOYOTA, LICENSE AGREEMENT TMS1002
      • SST: 09950-40011 
        • 09951-04020
        • 09952-04010
        • 09953-04030
        • 09954-04010
        • 09955-04021
        • 09957-04010
        • 09958-04011
      • SST: 09950-60010 
        • 09951-00440
        • 09951-00540
        • 09952-06010
      TEXT IN ILLUSTRATION

      *a Hold
      *b Turn
  33. REMOVE TRANSFER COUNTER GEAR BEARING 
    1. for Front Transfer Case Side:

      Using SST, remove the counter gear bearing (inner race) from the counter gear.

      Fig 37: Identifying Counter Gear Bearing (Inner Race)
      GTY257958Courtesy of © TOYOTA, LICENSE AGREEMENT TMS1002
      • SST: 09950-00020 
      • SST: 09950-00030 
      • SST: 09950-40011 
        • 09957-04010
      • SST: 09950-60010 
        • 09951-00280
        • 09951-00440
        • 09952-06010
      TEXT IN ILLUSTRATION

      *a Hold
      *b Turn
    2. for Rear Transfer Case Side:

      Using SST, remove the counter gear bearing (inner race) from the counter gear.

      Fig 38: Identifying Counter Gear Bearing (Inner Race)
      GTY278322Courtesy of © TOYOTA, LICENSE AGREEMENT TMS1002
      • SST: 09950-00020 
      • SST: 09950-00030 
      • SST: 09950-40011 
        • 09957-04010
      • SST: 09950-60010 
        • 09951-00360
        • 09951-00500
        • 09952-06010
      TEXT IN ILLUSTRATION

      *a Hold
      *b Turn
  34. REMOVE TRANSFER OIL SEPARATOR 
    1. Remove the 3 bolts and oil separator from the front transfer case.
      Fig 39: Identifying Bolts And Oil Separator
      GTY265404Courtesy of © TOYOTA, LICENSE AGREEMENT TMS1002
  35. REMOVE NO. 1 TRANSFER OIL STRAINER 
    1. Remove the oil strainer from the front transfer case.
      Fig 40: Identifying Oil Strainer
      GTY265405Courtesy of © TOYOTA, LICENSE AGREEMENT TMS1002
  36. REMOVE TRANSFER OIL COOLER RELIEF VALVE 
    1. Remove the bolt, relief valve plate and relief valve compression spring from the front transfer case.
      NOTE: Be careful to prevent the relief valve compression spring from jumping out.
      Fig 41: Identifying Bolt, Relief Valve Plate And Relief Valve Compression Spring
      GTY124040Courtesy of © TOYOTA, LICENSE AGREEMENT TMS1002
    2. Using a magnet hand, remove the relief valve from the front transfer case.
      Fig 42: Identifying Relief Valve From Front Transfer Case
      GTY129858Courtesy of © TOYOTA, LICENSE AGREEMENT TMS1002
  37. REMOVE TRANSFER OUTPUT SHAFT COMPANION FLANGE OIL SEAL 
    1. Using a screwdriver and hammer, tap out the oil seal from the front transfer case.
      Fig 43: Tap Out The Oil Seal
      GTY255640Courtesy of © TOYOTA, LICENSE AGREEMENT TMS1002
      TEXT IN ILLUSTRATION

      *1 Protective Tape
      NOTE: Be careful not to damage the surface which contacts the oil seal.
  38. REMOVE TRANSFER IDLER GEAR BEARING 
    1. for Front Transfer Case Side:

      Using SST, remove the idler gear bearing (outer race) from the front transfer case.

      Fig 44: Identifying Idler Gear Bearing (Outer Race)
      GTY277086Courtesy of © TOYOTA, LICENSE AGREEMENT TMS1002
      • SST: 09950-40011 
        • 09951-04020
        • 09952-04010
        • 09953-04030
        • 09954-04010
        • 09955-04071
        • 09957-04010
      • SST: 09950-60010 
        • 09951-00290
      TEXT IN ILLUSTRATION

      *a Hold
      *b Turn
    2. for Rear Transfer Case Side:

      Using SST, remove the idler gear bearing (outer race) from the rear transfer case.

      Fig 45: Identifying Idler Gear Bearing (Outer Race)
      GTY277324Courtesy of © TOYOTA, LICENSE AGREEMENT TMS1002
      • SST: 09950-40011 
        • 09951-04020
        • 09952-04010
        • 09953-04030
        • 09954-04010
        • 09955-04071
        • 09957-04010
      • SST: 09950-60010 
        • 09951-00380
      TEXT IN ILLUSTRATION

      *a Hold
      *b Turn
    3. Remove the idler gear shim from the rear transfer case.
  39. REMOVE TRANSFER OIL PUMP PLATE SUB-ASSEMBLY 
    1. Using an air gun, gradually apply air and remove the transfer oil pump plate from the front transfer case.
    2. Remove the transfer oil pump plate pin from the transfer oil pump plate.
    3. Remove the drive rotor and driven rotor from the front transfer case.
  40. REMOVE TRANSFER COUNTER GEAR BEARING 
    1. for Front Transfer Case Side:

      Using SST, remove the bearing (outer race) from the front transfer case.

      Fig 46: Identifying Bearing (Outer Race)
      GTY276364Courtesy of © TOYOTA, LICENSE AGREEMENT TMS1002
      • SST: 09612-65014 
        • 09612-01020
      TEXT IN ILLUSTRATION

      *a Hold
      *b Turn
    2. for Rear Transfer Case Side:

      Using SST, remove the bearing (outer race) from the rear transfer case.

      Fig 47: Identifying Bearing (Outer Race)
      GTY274997Courtesy of © TOYOTA, LICENSE AGREEMENT TMS1002
      • SST: 09950-40011 
        • 09951-04020
        • 09952-04010
        • 09953-04030
        • 09954-04010
        • 09955-04071
        • 09957-04010
      • SST: 09950-60010 
        • 09951-00420
      TEXT IN ILLUSTRATION

      *a Hold
      *b Turn
    3. Remove the counter gear shim from the rear transfer case.
  41. REMOVE FORWARD CLUTCH DRAM OIL SEAL RING 
    1. Remove the oil seal ring from the sleeve.
      Fig 48: Identifying Oil Seal Ring
      GTY265408Courtesy of © TOYOTA, LICENSE AGREEMENT TMS1002
  42. REMOVE TRANSFER FRONT CASE OIL SEAL 
    1. Using a screwdriver, pry out the oil seal from the front transfer case.
      Fig 49: Pry Out Oil Seal
      GTY259009Courtesy of © TOYOTA, LICENSE AGREEMENT TMS1002
      TEXT IN ILLUSTRATION

      *1 Protective Tape
      NOTE: Be careful not to damage the surface which contacts the oil seal.

      HINT: 

      Tape the screwdriver tip before use.

  43. REMOVE TRANSFER FRONT DRIVE GEAR CYLINDRICAL ROLLER BEARING (for Front Transfer Case Side) 
    1. Using a screwdriver, remove the bearing rollers and roller cage.
      Fig 50: Identifying Bearing Rollers And Roller Cage
      GTY280958Courtesy of © TOYOTA, LICENSE AGREEMENT TMS1002
      TEXT IN ILLUSTRATION

      *1 Roller
      *2 Roller Cage
    2. Remove the drive gear bearing and race from the front transfer case.
      Fig 51: Identifying Drive Gear Bearing And Race
      GTY262622Courtesy of © TOYOTA, LICENSE AGREEMENT TMS1002
    3. Using SST, remove the bearing from the front transfer case.
      • SST: 09649-17010 
      • SST: 09950-40011 
        • 09951-04010
        • 09952-04010
        • 09953-04020
        • 09954-04010
        • 09955-04041
        • 09957-04010
        Fig 52: Identifying Bearing
        GTY254988Courtesy of © TOYOTA, LICENSE AGREEMENT TMS1002
      TEXT IN ILLUSTRATION

      *a Hold
      *b Turn
  44. REMOVE TRANSFER OUTPUT SHAFT CYLINDRICAL ROLLER BEARING (for Rear Transfer Case Side) 
    1. Using needle-nose pliers, remove the snap ring from the rear transfer case.
      Fig 53: Identifying Snap Ring
      GTY265409Courtesy of © TOYOTA, LICENSE AGREEMENT TMS1002
    2. Using SST and a press, remove the bearing from the rear transfer case.
      • SST: 09950-60010 
        • 09951-00540
        • 09951-00650
        • 09952-06010
        Fig 54: Identifying Transfer Case Bearing
        GTY133007Courtesy of © TOYOTA, LICENSE AGREEMENT TMS1002
      • SST: 09950-70010 
        • 09951-07100
      NOTE: Be careful of the straight pins when placing the case on the press.