lemon-mirror:
Home >> Lexus >> 2012 >> LS 460 AWD >> Repair and Diagnosis >> Transmission >> Transfer Case >> Transfer Case (Service Information) >> Transfer Assembly >> Reassembly >> Reassembly

Transfer Assembly: Reassembly: Reassembly

  1. INSTALL TRANSFER FRONT DRIVE GEAR CYLINDRICAL ROLLER BEARING (for Rear Transfer Case Side) 
    1. Using SST and a press, install a new bearing to the rear transfer case.
      • SST: 09950-60020 
        • 09951-00710
      • SST: 09950-70010 
        • 09951-07100
      • Fig 1: Identifying Rear Transfer Case Bearing
        GTY144079Courtesy of © TOYOTA, LICENSE AGREEMENT TMS1002
    2. Using needle-nose pliers, install the snap ring to the rear transfer case.
  2. INSTALL TRANSFER FRONT DRIVE GEAR BEARING 
    1. Install the bearing and bearing race to the front transfer case.
  3. INSTALL TRANSFER FRONT DRIVE GEAR CYLINDRICAL ROLLER BEARING (for Front Transfer Case Side) 
    1. Using SST and a press, install a new bearing (outer race) to the front transfer case.
      • SST: 09527-17011 
      • SST: 09951-01000 
      • SST: 09950-70010 
        • 09951-07150
        Fig 2: Identifying Transfer Case New Bearing (Outer Race)
        GTY126749Courtesy of © TOYOTA, LICENSE AGREEMENT TMS1002
  4. INSTALL TRANSFER FRONT CASE OIL SEAL 
    1. Using SST and a hammer, install a new oil seal to the front transfer case.
      • SST: 09223-15020 

      Standard depth

      1.0 to 1.5 mm (0.0394 to 0.0591 in.)

      NOTE:
      • Do not tap in the oil seal at an angle.
      • Do not tap in the oil seal excessively.
      Fig 3: Identifying Transfer Front Case Oil Seal
      GTY138420Courtesy of © TOYOTA, LICENSE AGREEMENT TMS1002
    2. Coat the lip of the outer shaft lever oil seal with MP grease.
  5. INSTALL TRANSFER OUTPUT SHAFT COMPANION FLANGE OIL SEAL 
    1. Using SST and a hammer, install a new oil seal to the front transfer case.
      • SST: 09316-60011 
        • 09316-00011
        Fig 4: Identifying New Oil Seal To Front Transfer Case
        GTY131636Courtesy of © TOYOTA, LICENSE AGREEMENT TMS1002

      Standard depth

      2.5 to 3.0 mm (0.0984 to 0.118 in.)

      NOTE:
      • Do not tap in the oil seal at an angle.
      • Do not tap in the oil seal excessively.
    2. Coat the lip of the outer shaft lever oil seal with MP grease.
  6. INSTALL FORWARD CLUTCH DRAM OIL SEAL RING 
    1. Install the oil seal ring to the sleeve.
  7. INSTALL TRANSFER COUNTER GEAR BEARING (for Front Transfer Case Side) 
    1. Using SST and a press, install a new bearing (outer race) to the front transfer case.
      • SST: 09950-60010 
        • 09951-00580
        • 09951-00630
        • 09952-06010
      • SST: 09950-60020 
        • 09951-00750
        • 09951-00790
        • 09952-06010
      • SST: 09950-70010 
        • 09951-07100
      • Fig 5: Identifying New Bearing (Outer Race) To Front Transfer Case
        GTY122786Courtesy of © TOYOTA, LICENSE AGREEMENT TMS1002
  8. INSTALL TRANSFER COUNTER GEAR BEARING 
    1. for Front Transfer Case Side:

      Using SST and a press, install a new bearing (inner race) to the counter gear.

      • SST: 09316-60011 
        • 09316-00011
        • 09613-22011
      • SST: 09950-60010 
        • 09951-00420

      HINT: 

      Disassemble SST (09613-22011) and only use the tube part.

      Fig 6: Identifying New Bearing (Inner Race) To Counter Gear - Front Side
      GTY121129Courtesy of © TOYOTA, LICENSE AGREEMENT TMS1002
    2. for Rear Transfer Case Side:

      Using SST and a press, install a new bearing (inner race) to the counter gear.

      • SST: 09316-60011 
        • 09316-00011
      • SST: 09950-60010 
        • 09951-00420
      Fig 7: Identifying New Bearing (Inner Race) To Counter Gear - Rear Side
      GTY127934Courtesy of © TOYOTA, LICENSE AGREEMENT TMS1002
  9. ADJUST COUNTER GEAR BEARING PRELOAD 
    1. Using a vernier caliper and precision straightedge, measure dimension A between the top surface of the front transfer case [*1] and the top surface of the counter gear bearing (outer race) [*2].
      Fig 8: Measuring Dimension Between Top Surface Of Front Transfer Case [*1] And Top Surface Of Counter Gear Bearing (Outer Race) [*2]
      GTY262164Courtesy of © TOYOTA, LICENSE AGREEMENT TMS1002
      TEXT IN ILLUSTRATION

      *a Dimension A

      HINT: 

      Perform the measurement at 3 locations at intervals of 120° around the circumference of the outer race and calculate the average.

      NOTE: Perform the measurements with the idler gear assembly removed.
    2. Using a vernier caliper and precision straightedge, measure dimension B between the top surface of the rear transfer case [*1] and the surface which contacts the transfer counter gear shim [*2].
      Fig 9: Measuring Dimension B
      GTY257285Courtesy of © TOYOTA, LICENSE AGREEMENT TMS1002
      TEXT IN ILLUSTRATION

      *1 Rear Transfer Case
      *a Dimension B
      NOTE: Do not add the thickness of the precision straightedge.
    3. Using the formula below, calculate the thickness of the transfer counter gear shim and select an appropriate shim from the table.

      Transfer counter gear shim thickness

      Dimension B - Dimension A

      Transfer Counter Gear Shim Thickness

      Mark Specified Condition Mark Specified Condition Mark Specified Condition
      40 1.39 to 1.41 mm (0.0548 to 0.0555 in) 72 1.71 to 1.73 mm (0.0673 to 0.0681 in) 04 2.03 to 2.05 mm (0.0799 to 0.0807 in)
      42 1.41 to 1.43 mm (0.0555 to 0.0562 in) 74 1.73 to 1.75 mm (0.0681 to 0.0688 in) 06 2.05 to 2.07 mm (0.0807 to 0.0814 in)
      44 1.43 to 1.45 mm (0.0562 to 0.0570 in) 76 1.75 to 1.77 mm (0.0688 to 0.0696 in) 08 2.07 to 2.09 mm (0.0814 to 0.0822 in)
      46 1.45 to 1.47 mm (0.0570 to 0.0578 in) 78 1.77 to 1.79 mm (0.0696 to 0.0704 in) 10 2.09 to 2.11 mm (0.0822 to 0.0830 in)
      48 1.47 to 1.49 mm (0.0578 to 0.0586 in) 80 1.79 to 1.81 mm (0.0704 to 0.0712 in) 12 2.11 to 2.13 mm (0.0830 to 0.0838 in)
      50 1.49 to 1.51 mm (0.0586 to 0.0594 in) 82 1.81 to 1.83 mm (0.0712 to 0.0720 in) 14 2.13 to 2.15 mm (0.0838 to 0.0846 in)
      52 1.51 to 1.53 mm (0.0594 to 0.0602 in) 84 1.83 to 1.85 mm (0.0720 to 0.0728 in) 16 2.15 to 2.17 mm (0.0846 to 0.0854 in)
      54 1.53 to 1.55 mm (0.0602 to 0.0610 in) 86 1.85 to 1.87 mm (0.0728 to 0.0736 in) 18 2.17 to 2.19 mm (0.0854 to 0.0862 in)
      56 1.55 to 1.57 mm (0.0610 to 0.0618 in) 88 1.87 to 1.89 mm (0.0736 to 0.0744 in) 20 2.19 to 2.21 mm (0.0862 to 0.0870 in)
      58 1.57 to 1.59 mm (0.0618 to 0.0625 in) 90 1.89 to 1.91 mm (0.0744 to 0.0751 in) 22 2.21 to 2.23 mm (0.0870 to 0.0877 in)
      60 1.59 to 1.61 mm (0.0625 to 0.0633 in) 92 1.91 to 1.93 mm (0.0751 to 0.0759 in) 24 2.23 to 2.25 mm (0.0877 to 0.0885 in)
      62 1.61 to 1.63 mm (0.0633 to 0.0641 in) 94 1.93 to 1.95 mm (0.0759 to 0.0767 in) 26 2.25 to 2.27 mm (0.0885 to 0.0893 in)
      64 1.63 to 1.65 mm (0.0641 to 0.0649 in) 96 1.95 to 1.97 mm (0.0767 to 0.0775 in) 28 2.27 to 2.29 mm (0.0893 to 0.0901 in)
      66 1.65 to 1.67 mm (0.0649 to 0.0657 in) 98 1.97 to 1.99 mm (0.0775 to 0.0783 in) 30 2.29 to 2.31 mm (0.0901 to 0.0909 in)
      68 1.67 to 1.69 mm (0.0657 to 0.0665 in) 00 1.99 to 2.01 mm (0.0783 to 0.0791 in) - -
      70 1.69 to 1.71 mm (0.0665 to 0.0673 in) 02 2.01 to 2.03 mm (0.0791 to 0.0799 in) - -
    4. Using SST and a press, install the shim and a new bearing (outer race) to the rear transfer case.
      • SST: 09950-60020 
        • 09951-00750
      • SST: 09950-70010 
        • 09951-07100
      • Fig 10: Identifying Shim And New Bearing (Outer Race) To Rear Transfer Case
        GTY127047Courtesy of © TOYOTA, LICENSE AGREEMENT TMS1002
    5. Install the counter gear to the front transfer case.
    6. Install the rear transfer case with the 7 bolts to the front transfer case.

      Torque: 27 N*m (275 kgf*cm, 20 ft.*lbf) 

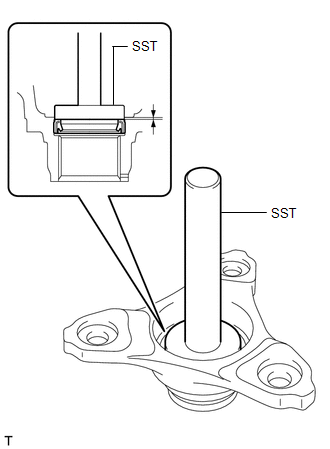
    7. Install the companion flange to the transfer assembly, and then using SST, hold the companion flange in place.
      • SST: 09213-58014 
      • SST: 09330-00021 
      • Fig 11: Using SST To Hold Companion Flange
        GTY121806Courtesy of © TOYOTA, LICENSE AGREEMENT TMS1002

      HINT: 

      Use bolts of size M8 x P1.25 with a length of approximately 55 mm (2.16 in.) or equivalent to secure the companion flange.

      Fig 12: Use Bolts Of Size M8 x P1.25 With Length Of Approximately 55 MM (2.16 In.)
      GTY264071Courtesy of © TOYOTA, LICENSE AGREEMENT TMS1002
    8. Tighten the companion flange bolt.

      Torque: 85 N*m (867 kgf*cm, 63 ft.*lbf) 

      TEXT IN ILLUSTRATION

      *a Hold
      *b Turn
    9. Remove SST and turn the counter gear back and forth to settle the bearing.
    10. Using a torque wrench, measure the turning torque of the counter gear bearing (counter gear preload).

      Standard turning torque

      0.66 to 1.18 N*m (6.7 to 12.0 kgf*cm, 5.8 to 10.4 in.*lbf)

      Fig 13: Measuring Turning Torque Of Counter Gear Bearing (Counter Gear Preload) Using Torque Wrench
      GTY123187Courtesy of © TOYOTA, LICENSE AGREEMENT TMS1002
      NOTE: Perform the measurements with the idler gear assembly removed.

      HINT: 

      Measure the turning torque while turning the counter gear at 60 rpm (1 rotation per second).

      • If the turning torque is not as specified, replace the counter gear shim with one of a different thickness so that the measured value is within the standard range.
    11. Using SST, hold the companion flange in place.
      • SST: 09213-58014 
      • SST: 09330-00021 

      HINT: 

      Use bolts of size M8 x P1.25 with a length of approximately 55 mm (2.16 in.) or equivalent to secure the companion flange.

      Fig 14: Using SST To Hold Companion Flange
      GTY121806Courtesy of © TOYOTA, LICENSE AGREEMENT TMS1002
    12. Remove the companion flange bolt and companion flange from the transfer assembly.
      Fig 15: Identifying Companion Flange Bolt And Companion Flange
      GTY263046Courtesy of © TOYOTA, LICENSE AGREEMENT TMS1002
      TEXT IN ILLUSTRATION

      *a Hold
      *b Turn
    13. Remove the 7 bolts from the rear transfer case.
    14. Remove the counter gear.
  10. INSTALL TRANSFER OIL PUMP PLATE SUB-ASSEMBLY 
    1. Install the drive rotor and driven rotor to the front transfer case.
    2. Install the plate pin to the oil pump plate.
    3. Install the plate to the front transfer case.
  11. INSTALL TRANSFER IDLER GEAR BEARING (for Front Transfer Case Side) 
    1. Using SST and a press, install a new bearing (outer race) to the front transfer case.
      • SST: 09950-60020 
        • 09951-00890
      • SST: 09950-70010 
        • 09951-07100
      • Fig 16: Identifying Front Transfer Case New Bearing (Outer Race)
        GTY125059Courtesy of © TOYOTA, LICENSE AGREEMENT TMS1002
  12. INSTALL TRANSFER IDLER GEAR BEARING 
    1. for Front Transfer Case Side:

      Using SST and a press, install a new bearing (inner race) to the idler gear.

      • SST: 09554-22010 
      Fig 17: Identifying Idler Gear New Bearing (Inner Race) Front Side
      GTY128724Courtesy of © TOYOTA, LICENSE AGREEMENT TMS1002
    2. for Rear Transfer Case Side:

      Using SST and a press, install a new bearing (inner race) to the idler gear.

      • SST: 09950-60010 
        • 09951-00540
      • SST: 09554-22010 
      Fig 18: Identifying Idler Gear New Bearing (Inner Race) Rear Side
      GTY130152Courtesy of © TOYOTA, LICENSE AGREEMENT TMS1002
  13. ADJUST TRANSFER IDLER GEAR BEARING PRELOAD 
    1. Install the counter gear to the front transfer case.
    2. Install the idler gear to the front transfer case.
      Fig 19: Identifying Idler Gear
      GTY127625Courtesy of © TOYOTA, LICENSE AGREEMENT TMS1002
    3. Using a vernier caliper and precision straightedge, measure dimension A between the top surface of the front transfer case [*1] and the top surface of the idler gear bearing (outer race) [*2].
      Fig 20: Measure Dimension A
      GTY275838Courtesy of © TOYOTA, LICENSE AGREEMENT TMS1002
      TEXT IN ILLUSTRATION

      *a Dimension A

      HINT: 

      Perform the measurement at 3 locations at intervals of 120° around the circumference of the outer race and calculate the average.

    4. Using a vernier caliper and precision straightedge, measure dimension B between the top surface of the rear transfer case [*1] and the surface which contacts the transfer idler gear shim [*2].
      Fig 21: Measure Dimension B
      GTY268862Courtesy of © TOYOTA, LICENSE AGREEMENT TMS1002
      TEXT IN ILLUSTRATION

      *1 Rear Transfer Case
      *a Dimension B
      NOTE: Do not add the thickness of the precision straightedge.
    5. Using the formula below, calculate the thickness of the transfer idler gear shim and select an appropriate shim from the table.

      Transfer idler gear shim thickness

      Dimension B - Dimension A

      Transfer Idler Gear Shim Thickness

      Mark Specified Condition Mark Specified Condition Mark Specified Condition
      90 0.89 to 0.91 mm (0.0350 to 0.0358 in) 22 1.21 to 1.23 mm (0.0476 to 0.0484 in) 54 1.53 to 1.55 mm (0.0602 to 0.0610 in)
      92 0.91 to 0.93 mm (0.0358 to 0.0366 in) 24 1.23 to 1.25 mm (0.0484 to 0.0492 in) 56 1.55 to 1.57 mm (0.0610 to 0.0618 in)
      94 0.93 to 0.95 mm (0.0366 to 0.0374 in) 26 1.25 to 1.27 mm (0.0492 to 0.0499 in) 58 1.57 to 1.59 mm (0.0618 to 0.0625 in)
      96 0.95 to 0.97 mm (0.0374 to 0.0381 in) 28 1.27 to 1.29 mm (0.0499 to 0.0507 in) 60 1.59 to 1.61 mm (0.0625 to 0.0633 in)
      98 0.97 to 0.99 mm (0.0381 to 0.0389 in) 30 1.29 to 1.31 mm (0.0507 to 0.0515 in) 62 1.61 to 1.63 mm (0.0633 to 0.0641 in)
      00 0.99 to 1.01 mm (0.0389 to 0.0397 in) 32 1.31 to 1.33 mm (0.0515 to 0.0523 in) 64 1.63 to 1.65 mm (0.0641 to 0.0649 in)
      02 1.01 to 1.03 mm (0.0397 to 0.0405 in) 34 1.33 to 1.35 mm (0.0523 to 0.0531 in) 66 1.65 to 1.67 mm (0.0649 to 0.0657 in)
      04 1.03 to 1.05 mm (0.0405 to 0.0413 in) 36 1.35 to 1.37 mm (0.0531 to 0.0539 in) 68 1.67 to 1.69 mm (0.0657 to 0.0665 in)
      06 1.05 to 1.07 mm (0.0413 to 0.0421 in) 38 1.37 to 1.39 mm (0.0539 to 0.0547 in) 70 1.69 to 1.71 mm (0.0665 to 0.0673 in)
      08 1.07 to 1.09 mm (0.0421 to 0.0429 in) 40 1.39 to 1.41 mm (0.0547 to 0.0555 in) 72 1.71 to 1.73 mm (0.0673 to 0.0681 in)
      10 1.09 to 1.11 mm (0.0429 to 0.0437 in) 42 1.41 to 1.43 mm (0.0555 to 0.0562 in) 74 1.73 to 1.75 mm (0.0681 to 0.0688 in)
      12 1.11 to 1.13 mm (0.0437 to 0.0444 in) 44 1.43 to 1.45 mm (0.0562 to 0.0570 in) 76 1.75 to 1.77 mm (0.0688 to 0.0696 in)
      14 1.13 to 1.15 mm (0.0444 to 0.0452 in) 46 1.45 to 1.47 mm (0.0570 to 0.0578 in) 78 1.77 to 1.79 mm (0.0696 to 0.0704 in)
      16 1.15 to 1.17 mm (0.0452 to 0.0460 in) 48 1.47 to 1.49 mm (0.0578 to 0.0586 in) 80 1.79 to 1.81 mm (0.0704 to 0.0712 in)
      18 1.17 to 1.19 mm (0.0460 to 0.0468 in) 50 1.49 to 1.51 mm (0.0586 to 0.0594 in) - -
      20 1.19 to 1.21 mm (0.0468 to 0.0476 in) 52 1.51 to 1.53 mm (0.0594 to 0.0602 in) - -
    6. Using SST and a press, install the shim and a new bearing (outer race) to the rear transfer case.
      • SST: 09950-60020 
        • 09951-00780
        • 09951-00890
        • 09952-06010
      • SST: 09950-70010 
        • 09951-07100
      • Fig 22: Identifying Rear Transfer Case) Shim & New Bearing (Outer Race)
        GTY143031Courtesy of © TOYOTA, LICENSE AGREEMENT TMS1002
    7. Install the rear transfer case with the 7 bolts to the front transfer case.

      Torque: 27 N*m (275 kgf*cm, 20 ft.*lbf) 

    8. Install the companion flange to the transfer assembly, and then using SST, hold the companion flange in place.
      • SST: 09213-58014 
      • SST: 09330-00021 
      Fig 23: Using SST To Hold Companion Flange
      GTY121806Courtesy of © TOYOTA, LICENSE AGREEMENT TMS1002

      HINT: 

      Use bolts of size M8 x P1.25 with a length of approximately 55 mm (2.16 in.) or equivalent to secure the companion flange.

      Fig 24: Use Bolts Of Size M8 x P1.25 With Length Of Approximately 55 Mm (2.16 In.)
      GTY264071Courtesy of © TOYOTA, LICENSE AGREEMENT TMS1002
    9. Tighten the companion flange bolt.

      Torque: 85 N*m (867 kgf*cm, 63 ft.*lbf) 

      TEXT IN ILLUSTRATION

      *a Hold
      *b Turn
    10. Remove SST and turn the idler gear back and forth to settle the bearing.
    11. Using a torque wrench, measure the turning torque of the idler gear bearing (idler gear preload).

      Standard turning torque

      1.54 to 2.64 N*m (15.7 to 26.9 kgf*cm, 13.6 to 23.4 in.*lbf)

      NOTE: The measured turning torque for the idler gear preload is the combined preload of the idler gear and counter gear.
      Fig 25: Measuring Turning Torque Of Idler Gear Bearing (Idler Gear Preload) Using Torque Wrench
      GTY141672Courtesy of © TOYOTA, LICENSE AGREEMENT TMS1002

      HINT: 

      Measure the turning torque while turning the counter gear at 60 rpm (1 rotation per second).

      • If the turning torque is not as specified, replace the idler gear shim with one of a different thickness so that the measured value is within the standard range.
    12. Using SST, hold the companion flange in place.
      • SST: 09213-58014 
      • SST: 09330-00021 

      HINT: 

      Use bolts of size M8 x P1.25 with a length of approximately 55 mm (2.16 in.) or equivalent to secure the companion flange.

      Fig 26: Using SST To Hold Companion Flange
      GTY121806Courtesy of © TOYOTA, LICENSE AGREEMENT TMS1002
    13. Remove the companion flange bolt and companion flange from the transfer assembly.
      TEXT IN ILLUSTRATION

      *a Hold
      *b Turn
      Fig 27: Identifying Companion Flange Bolt And Companion Flange
      GTY263046Courtesy of © TOYOTA, LICENSE AGREEMENT TMS1002
    14. Remove the 7 bolts and rear transfer case from the front transfer case.
    15. Remove the idler gear and counter gear from the front transfer case.
  14. INSTALL TRANSFER OIL COOLER RELIEF VALVE 
    1. Install the relief valve to the front transfer case.
      Fig 28: Identifying Relief Valve
      GTY123621Courtesy of © TOYOTA, LICENSE AGREEMENT TMS1002
    2. Install the compression spring and valve plate to the front transfer case with the bolt.

      Torque: 6.7 N*m (68 kgf*cm, 59 in.*lbf) 

      NOTE: Be careful to prevent the relief valve compression spring from jumping out.
      Fig 29: Identifying Bolt, Relief Valve Plate And Relief Valve Compression Spring
      GTY124040Courtesy of © TOYOTA, LICENSE AGREEMENT TMS1002
  15. INSTALL NO. 1 TRANSFER OIL STRAINER 
    1. Install the oil strainer to the front transfer case.
  16. INSTALL TRANSFER OIL SEPARATOR 
    1. Install the oil separator with the 3 bolts.

      Torque: 7.0 N*m (71 kgf*cm, 62 in.*lbf) 

  17. INSTALL DRIVE PINION COMPANION FLANGE OIL SEAL 
    1. Using SST and a hammer, install a new oil seal to the companion flange.
      • SST: 09950-60010 
        • 09951-00420
      • SST: 09950-70010 
        • 09951-07100
      • Fig 30: Using SST & Hammer To Install New Oil Seal To Companion Flange
        GTY128825Courtesy of © TOYOTA, LICENSE AGREEMENT TMS1002

      Standard oil seal depth

      0 to 0.3 mm (0 to 0.0118 in.)

      NOTE:
      • Do not tap in the oil seal at an angle.
      • Do not tap in the oil seal excessively.
    2. Coat the lip of the outer shaft lever oil seal with MP grease.
  18. INSTALL TRANSFER OIL SEAL RING 
    1. Install the oil seal ring to the input shaft.
      NOTE: Do not excessively widen the oil seal ring.
  19. INSTALL TRANSFER INPUT SHAFT 
    1. Install the input shaft to the drive gear.
  20. INSTALL TRANSFER FRONT DRIVE GEAR PIN 
    1. Install the pin to the front transfer case.
  21. INSTALL TRANSFER FRONT DRIVE GEAR ASSEMBLY 
    1. Install the drive gear and input shaft to the front transfer case.
  22. INSTALL TRANSFER COUNTER GEAR ASSEMBLY 
    1. Install the counter gear to the front transfer case.
  23. INSTALL TRANSFER OIL PUMP DRIVE SHAFT 
    1. Install the drive shaft to the front transfer case.
  24. INSTALL TRANSFER IDLER GEAR ASSEMBLY 
    1. Install the idler gear to the front transfer case.
  25. INSTALL REAR TRANSFER CASE 
    1. Apply seal packing to the rear transfer case as shown.
      Fig 31: Applying Seal Packing To Transfer Case
      GTY123627Courtesy of © TOYOTA, LICENSE AGREEMENT TMS1002

      Seal packing

      Toyota Genuine Seal Packing 1281, Three Bond 1281 or equivalent

      Seal packing diameter

      1.2 mm (0.0472 in.)

      NOTE:
      • Remove any oil from the contact surfaces.
      • Assemble the parts within 10 minutes of application. Otherwise, the packing (FIPG material) must be removed and reapplied.
    2. Install the rear transfer case with the 7 bolts to the front transfer case.

      Torque: 27 N*m (275 kgf*cm, 20 ft.*lbf) 

  26. INSTALL TRANSFER INPUT GEAR STOPPER 
    1. Install the gear stopper to the input shaft.
  27. INSTALL TRANSFER INPUT GEAR STOPPER SHAFT SNAP RING 
    1. Using a snap ring expander, install the snap ring to the input shaft.
  28. INSTALL BREATHER OIL DEFLECTOR 
    1. Install the oil deflector with the 2 bolts to the rear transfer case.

      Torque: 7.0 N*m (71 kgf*cm, 62 in.*lbf) 

  29. INSTALL TRANSFER OUTPUT SHAFT CYLINDRICAL ROLLER BEARING 
    1. Using SST and a press, install a new bearing (inner race) to the differential case.
      • SST: 09316-60011 
        • 09316-00011
        • 09316-00021
      Fig 32: Identifying Differential Case New Bearing (Inner Race)
      GTY121910Courtesy of © TOYOTA, LICENSE AGREEMENT TMS1002
  30. INSTALL NO. 1 DIFFERENTIAL CASE SUB-ASSEMBLY 
    1. Install the differential case to the rear transfer case.
  31. INSTALL TRANSFER OUTPUT SHAFT SHIM 
    1. Install the output shaft shim to the differential case.
  32. INSTALL NO. 2 TRANSFER THRUST BEARING RACE 
    1. Install the bearing race to the output shaft shim.
  33. INSTALL DIFFERENTIAL CASE NEEDLE ROLLER BEARING 
    1. Install the needle roller bearing to the bearing race.
  34. INSTALL TRANSFER OUTPUT SHAFT WASHER 
    1. Install the 2 shaft washers to the differential case.
  35. INSTALL NO. 1 TRANSFER THRUST BEARING RACE 
    1. Install the bearing race to the needle roller bearing.
      Fig 33: Identifying No. 1 Transfer Thrust Bearing Race
      GTY123622Courtesy of © TOYOTA, LICENSE AGREEMENT TMS1002
  36. ADJUST TRANSFER OUTPUT SHAFT SHIM 
    1. Using a vernier caliper and precision straightedge, measure dimension A between the top surface of the extension housing [*1] and the surface which contacts the No. 1 thrust bearing race [*2].
      Fig 34: Measuring Dimension A
      GTY275273Courtesy of © TOYOTA, LICENSE AGREEMENT TMS1002
      TEXT IN ILLUSTRATION

      *a Dimension A
      NOTE: Do not add the thickness of the precision straightedge.
    2. Using a vernier caliper and precision straightedge, measure dimension B between the surface of the No. 1 thrust bearing race [*1] and the surface of the rear transfer case extension housing [*2].
      Fig 35: Measuring Dimension B
      GTY282584Courtesy of © TOYOTA, LICENSE AGREEMENT TMS1002
      TEXT IN ILLUSTRATION

      *a Dimension B
      NOTE: Do not add the thickness of the precision straightedge.
    3. Using the formula below, calculate the thickness of the transfer output shim and select an appropriate shim from the table.

      Transfer output shim thickness

      Dimension A - Dimension B

      Transfer Output Shim Thickness

      Mark Specified Condition Mark Specified Condition
      98 0.96 to 1.00 mm (0.0378 to 0.0393 in.) 43 1.41 to 1.45 mm (0.0556 to 0.0570 in.)
      03 1.01 to 1.05 mm (0.0398 to 0.0413 in.) 48 1.46 to 1.50 mm (0.0575 to 0.0590 in.)
      08 1.06 to 1.10 mm (0.0418 to 0.0433 in.) 53 1.51 to 1.55 mm (0.0959 to 0.0610 in.)
      13 1.11 to 1.15 mm (0.0437 to 0.0452 in.) 58 1.56 to 1.60 mm (0.0615 to 0.0629 in.)
      18 1.16 to 1.20 mm (0.0457 to 0.0472 in.) 63 1.61 to 1.65 mm (0.0634 to 0.0649 in.)
      23 1.21 to 1.25 mm (0.0477 to 0.0492 in.) 68 1.66 to 1.70 mm (0.0653 to 0.0669 in)
      28 1.26 to 1.30 mm (0.0496 to 0.0511 in.) 73 1.71 to 1.75 mm (0.0674 to 0.0688 in.)
      33 1.31 to 1.35 mm (0.0516 to 0.0532 in.) 78 1.76 to 1.80 mm (0.0693 to 0.0708 in.)
      38 1.36 to 1.40 mm (0.0536 to 0.0551 in.) - -
  37. INSTALL TRANSFER OUTPUT SHAFT CYLINDRICAL ROLLER BEARING 
    1. Using SST and a press, install a new bearing (outer race) to the extension housing.
      • SST: 09950-60010 
        • 09951-00600
      • SST: 09950-70010 
        • 09951-07100
      Fig 36: Using SST & Press To Install New Bearing (Outer Race) To Extension Housing
      GTY133460Courtesy of © TOYOTA, LICENSE AGREEMENT TMS1002
  38. INSTALL NO. 1 DIFFERENTIAL CASE HOLE SNAP RING 
    1. Using needle-nose pliers, install the snap ring to the extension housing.
  39. INSTALL TRANSFER EXTENSION HOUSING OIL SEAL 
    1. Using SST and a hammer, install a new oil seal to the extension housing.
      Fig 37: Using SST & Hammer To Install New Oil Seal To Extension Housing
      GTY127465Courtesy of © TOYOTA, LICENSE AGREEMENT TMS1002
      • SST: 09726-36010 
      • SST: 09950-70010 
        • 09951-07100

      Standard oil seal depth

      12 to 12.5 mm (0.473 to 0.492 in.)

      NOTE:
      • Do not tap in the oil seal at an angle.
      • Do not tap in the oil seal excessively.
      • Be careful of the positions of the straight pins when performing this procedure.
    2. Coat the lip of the outer shaft lever oil seal with MP grease.
  40. INSTALL TRANSFER EXTENSION HOUSING 
    1. Apply seal packing to the transfer extension housing as shown.

      Seal packing

      Toyota Genuine Seal Packing 1281, Three Bond 1281 or equivalent

      Seal packing diameter

      1.2 mm (0.0472 in.)

      NOTE:
      • Remove any oil from the contact surfaces.
      • Assemble the parts within 10 minutes of application. Otherwise, the packing (FIPG material) must be removed and reapplied.
      Fig 38: Apply Seal Packing To Transfer Extension Housing
      GTY123625Courtesy of © TOYOTA, LICENSE AGREEMENT TMS1002
    2. Install the transfer extension housing with the 11 bolts to the rear transfer case.

      Torque: 27 N*m (275 kgf*cm, 20 ft.*lbf) 

  41. INSTALL DRIVE PINION COMPANION FLANGE SUB-ASSEMBLY 
    1. Install the companion flange to the output shaft.
    2. Install a new nut to the output shaft.
    3. Using SST, hold the companion flange in place.
      • SST: 09330-00021 
      • SST: 09950-30012 
        • 09955-03040
      Fig 39: Tightening Transfer Output Shaft Nut Using Socket Wrench
      GTY149308Courtesy of © TOYOTA, LICENSE AGREEMENT TMS1002
    4. Using a 30 mm socket wrench, tighten the transfer output shaft nut.

      Torque: 142 N*m (1448 kgf*cm, 105 ft.*lbf) 

    5. Using a chisel and hammer, stake the transfer output shaft nut.
      Fig 40: Using Chisel & Hammer To Stake Transfer Output Shaft Nut
      GTY126221Courtesy of © TOYOTA, LICENSE AGREEMENT TMS1002
  42. INSTALL OUTPUT SHAFT COMPANION FLANGE SUB-ASSEMBLY 
    1. Install the companion flange to the transfer assembly, and then using SST, hold the companion flange in place.
      Fig 41: Using SST To Hold Companion Flange
      GTY121806Courtesy of © TOYOTA, LICENSE AGREEMENT TMS1002
      • SST: 09213-58014 
      • SST: 09330-00021 

      HINT: 

      Use bolts of size M8 x P1.25 with a length of approximately 55 mm (2.16 in.) or equivalent to secure the companion flange.

      Fig 42: Use Bolts Of Size M8 x P1.25 With Length Of Approximately 55 MM (2.16 In.)
      GTY264071Courtesy of © TOYOTA, LICENSE AGREEMENT TMS1002
    2. Tighten the companion flange bolt.

      Torque: 85 N*m (867 kgf*cm, 63 ft.*lbf) 

      TEXT IN ILLUSTRATION

      *a Hold
      *b Turn
  43. INSTALL NO. 2 TRANSFER CASE PLUG 
    1. Using a 17 mm straight hexagon wrench, install a new gasket and the case plug to the rear transfer case.

      Torque: 98 N*m (1000 kgf*cm, 72 ft.*lbf) 

  44. INSTALL TRANSFER CASE BREATHER PLUG 
    1. Using SST and a hammer, install the breather plug to the front transfer case.
      • SST: 09350-30020 
        • 09350-07110
      Fig 43: Identifying Transfer Case Breather Plug
      GTY132038Courtesy of © TOYOTA, LICENSE AGREEMENT TMS1002
  45. INSTALL TRANSFER DRAIN PLUG 
    1. Using a 10 mm hexagon socket wrench, install a new gasket and the drain plug to the rear transfer case.

      Torque: 49 N*m (500 kgf*cm, 36 ft.*lbf) 

  46. INSTALL FILLER PLUG 
    1. Using a 10 mm hexagon socket wrench, install a new gasket and the filler plug to the rear transfer case.

      Torque: 49 N*m (500 kgf*cm, 36 ft.*lbf) 

  47. INSTALL TRANSFER CASE PLUG 
    1. Using a 6 mm hexagon socket wrench, install 2 new O-rings and the 2 case plugs to the front transfer case.

      Torque: 19 N*m (190 kgf*cm, 14 ft.*lbf) 

  48. INSTALL DYNAMIC DAMPER 
    1. Install the damper and 2 washers with the bolt to the rear transfer case.

      Torque: 30 N*m (306 kgf*cm, 22 ft.*lbf)