lemon-mirror:
Home >> Lexus >> 2021 >> RC F Base >> Repair and Diagnosis >> Engine Performance >> Engine Control Systems >> Engine Control System - Service Information >> Camshaft Oil Control Valve >> Inspection [09/2014 - ] >> Procedure

Inspection [09/2014 - ]: Procedure

  1. INSPECT CAMSHAFT TIMING OIL CONTROL VALVE ASSEMBLY 

    HINT: 

    Use the same procedure for the camshaft timing oil control valve assembly LH and camshaft timing oil control valve assembly RH.

    1. Measure the resistance according to the value(s) in the table below.

      Standard Resistance

      Tester Connection Condition Specified Condition
      1 - 2 20°C (68°F) 6.9 to 7.9 Ω

      If the result is not as specified, replace the camshaft timing oil control valve assembly.

    2. Check the operation.
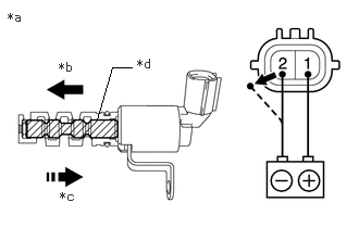
      1. Connect a positive (+) lead from the battery to terminal 1 and negative (-) lead to terminal 2, and check the movement of the spool valve.

        OK

        Condition Specified Condition
        Battery voltage applied Valve moves in left arrow direction shown in illustration
        Battery voltage cut off Valve moves in right arrow direction shown in illustration
        NOTE:

        Accumulation of foreign matter can cause minor pressure leaks. Minor pressure leaks in the exhaust side oil control valve will cause the exhaust camshaft to retard. The inappropriate camshaft timing that results from these leaks will cause a DTC to be stored.

        GTY429532Courtesy of © TOYOTA, LICENSE AGREEMENT TMS1002
        *a Component without harness connected
        (Camshaft Timing Oil Control Valve Assembly)
        *b When Applied
        *c When Cut Off
        *d Spool Valve

        If the result is not as specified, replace the camshaft timing oil control valve assembly.