lemon-mirror:
Home >> Lincoln >> 1997 >> Continental >> Repair and Diagnosis >> Body & Frame >> Power Windows >> Component Testing >> Single Switches

Single Switches

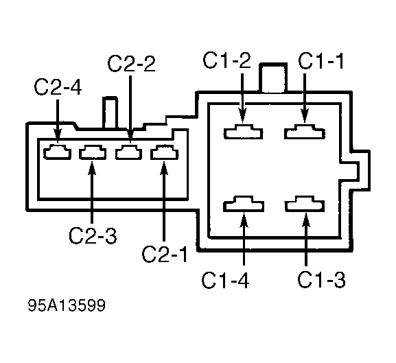
  1. Each single switch contains a relay. To test switch, power and ground must be applied to switch relay. Using jumper wires, apply battery voltage to switch terminal C2-3 and ground to terminal C1-4. See Fig 1 .
  2. Remove switch from door. See WINDOW SWITCH  under REMOVAL & INSTALLATION. Using an ohmmeter, check for continuity between indicated terminals with switch in appropriate position. See Fig 1 . See SINGLE SWITCH TESTING TABLE. If continuity is not as specified, replace power window switch(es).
SINGLE SWITCH TESTING

Switch Position Continuity Between Connector-Terminals No.
Neutral C1-2, C1-3 & C1-4
Neutral C2-1, C2-4 & (1) C1-4
Up C1-3 & C1-1
Neutral C1-2 & C1-4
Down C1-3 & C1-4
Neutral C1-1 & C1-2
(1) Circuit continuity is through relay coils.
Fig 1: Identifying Power Window Single Switch Terminals
G95A13599Courtesy of FORD MOTOR CO.