lemon-mirror:
Home >> Lincoln >> 1998 >> Continental >> Repair and Diagnosis >> Body & Frame >> Power Windows >> Component Testing >> Single Switches

Single Switches

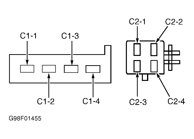
  1. Remove switch from door. Each single switch contains a relay. To test switch, power and ground must be applied to switch relay. Using jumper wires, apply battery voltage to switch terminal C1-2 and ground to terminal C2-1. See Fig 1 .
  2. Using an ohmmeter, check for continuity between indicated terminals with switch in appropriate position. See Fig 1 . See the SINGLE SWITCH TESTING  table. If continuity is not as specified, replace power window switch(es).
SINGLE SWITCH TESTING

Switch Position Continuity Between Terminals
Neutral C2-1, C2-2 & C2-3
Up C2-3 & C2-4
Down C2-2 & C2-4
Fig 1: Identifying Power Window Single Switch Terminals
G98F01455Courtesy of FORD MOTOR CO.