lemon-mirror:
Home >> Lincoln >> 1998 >> Town Car Base >> Repair and Diagnosis >> Body & Frame >> Windows >> Power Window System >> Component Testing >> Driver Door Master Window Switch

Driver Door Master Window Switch

NOTE: In wiring diagram, driver door master window switch connectors are labeled as C506 and C511. In driver door master window switch test, connector C506 is referred to as connector C1, and connector C511 is referred to as C2. Identification has been changed for test references only.

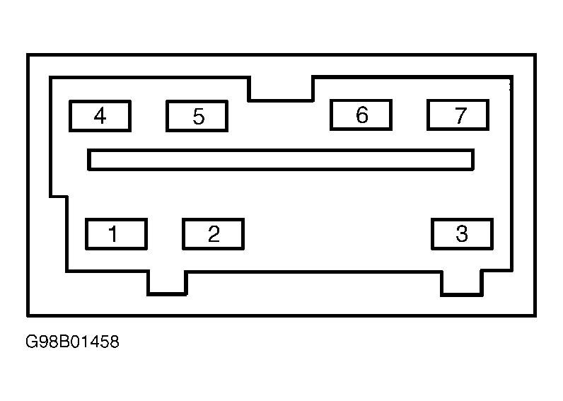
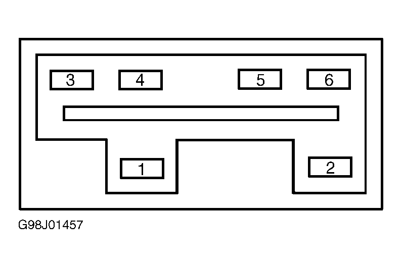
Remove driver door master window switch from vehicle. See POWER WINDOW SWITCH  under REMOVAL & INSTALLATION. Using ohmmeter, check for continuity between switch terminals in specified switch positions. See DRIVER DOOR MASTER WINDOW SWITCH TEST table. See Fig 1 and Fig 2 . Replace driver door master window switch if it does not test as specified.

DRIVER DOOR MASTER WINDOW SWITCH TEST

Switch Position Continuity Between Terminals
Neutral C1-1, C1-3, C1-4, C1-5, C1-6, C2-1, C2-2, C2-4, C2-5, C2-6 & C2-7
Left Front Up C1-2 & C2-4; C1-1 & C2-5
Left Front Down C1-2 & C2-5; C1-1 & C2-4
Right Front Up C1-2 & C2-6; C1-1 & C2-7
Right Front Down C1-2 & C2-7; C1-1 & C2-6
Left Rear Up C1-2 & C1-4; C1-1 & C1-3
Left Rear Down C1-2 & C1-3; C1-1 & C1-4
Right Rear Up C1-2 & C1-5; C1-1 & C1-6
Right Rear Down C1-2 & C1-6; C1-1 & C1-5
Lock-Out Off C1-2 & C2-3
Fig 1: Master Power Window Switch Connector C1 Terminals (Switch Side)
G98J01457Courtesy of FORD MOTOR CO.
Fig 2: Master Power Window Switch Connector C2 Terminals (Switch Side)
G98B01458Courtesy of FORD MOTOR CO.