lemon-mirror:
Home >> Lincoln >> 2000 >> Navigator RWD >> Repair and Diagnosis >> Body & Frame >> Windows >> Power Window System >> Component Tests >> Power Window Master Switch

Power Window Master Switch

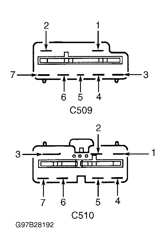
Remove master window control switch from vehicle. See POWER WINDOW SWITCH  under REMOVAL & INSTALLATION. Check continuity between specified terminals while operating switch to specified position. See MASTER SWITCH TESTING  table. See Fig 1 . Check continuity between appropriate master window switch connector and terminals with switch in appropriate position. Continuity between harness connector C510 terminals No. 1 and 2 (switch illumination circuit) should exist at all times. If continuity is not as specified, replace switch.

MASTER SWITCH TESTING

Switch Position Connector Continuity Between Terminals No.
Left Front
Down C509 2 & 7
Up C509 2 & 6
Right Front
Down C509 2 & 3
Up C509 2 & 4
Left Rear
Down C510 2 & 6
Up C510 2 & 7
Right Rear
Down C510 2 & 4
Up C510 2 & 5
Fig 1: Identifying Power Window Master Switch Terminals
G97B28192Courtesy of FORD MOTOR CO.