lemon-mirror:
Home >> Lincoln >> 2000 >> Navigator RWD >> Repair and Diagnosis >> External Pages >> Different car >> Section 338 (MULTIFUNCTION Electronic Module) >> Removal And Installation >> Vehicle Security Module >> Removal

Vehicle Security Module: Removal

WARNING: This page is about a different car, the 2003 Lincoln Navigator and 2003 Ford Expedition. However, it is still accessible from the selected car via links, so may be relevant.
  1. NOTE: Prior to removal of the vehicle security module, it is necessary to upload module configuration information to a diagnostic tool. This information needs to be downloaded into the new module once installed. For additional information, refer to MODULE CONFIGURATION .

    Disconnect the battery ground cable. For additional information, refer to BATTERY, MOUNTING AND CABLES .

  2. Remove the pushpin and the RH interior kick panel.
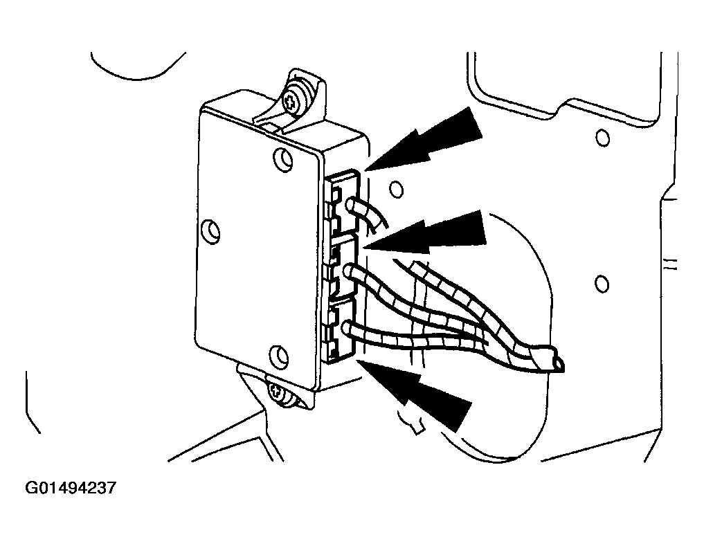
  3. Disconnect the three vehicle security module electrical connectors.
    Fig 1: Disconnecting Three Vehicle Security Module Electrical Connectors
    G01494237Courtesy of FORD MOTOR CO.
  4. Remove the two screws and the vehicle security module.
    Fig 2: Removing Two Screws And Vehicle Security Module
    G01494238Courtesy of FORD MOTOR CO.
  5. To install, reverse the removal procedure.