lemon-mirror:
Home >> Lincoln >> 2002 >> Continental >> Repair and Diagnosis >> Body & Frame >> Door Locks >> Keyless Entry/Computer Operated Locks >> Diagnosis And Testing >> Keyless Entry >> Component Tests >> Relay-Mini ISO

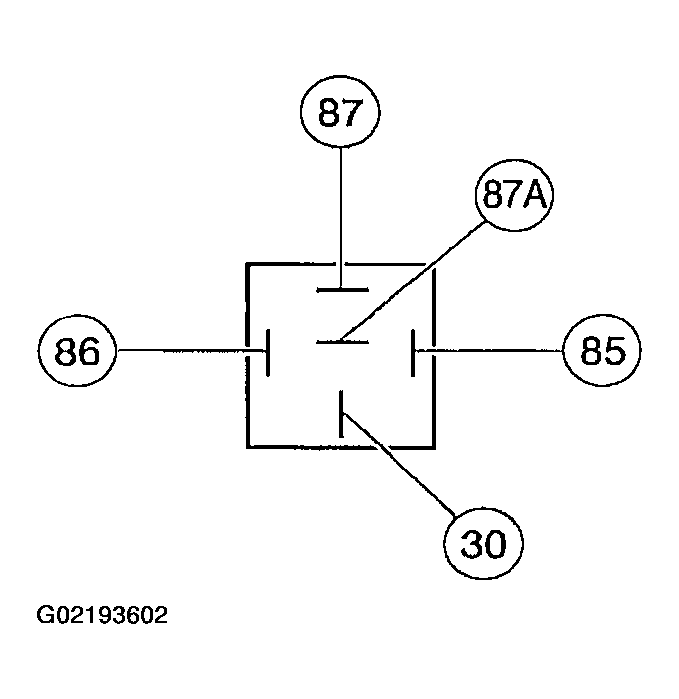
Relay-Mini ISO

Use 723 Digital Multimeter to check for the continuity between terminal 85 and all other terminals. If the resistance is 5 ohms or less between terminal 85 and any other terminal, replace the relay. If resistance is greater than 5 ohms, continue with the test. Use two jumper wires to connect relay terminals 86 and 30 directly to the positive battery terminal. Use 73 Digital Multimeter set into the volts position to check for voltage at terminal 87A. If battery voltage is not indicated, replace the relay. If battery voltage is indicated, connect a third jumper wire to terminal 85 and ground the jumper wire to a known good ground. Check for voltage at terminal 87. If battery voltage is not indicated, replace the relay.

Fig 1: Identifying Relay-Mini ISO Terminals
G02193602Courtesy of FORD MOTOR CO.