lemon-mirror:
Home >> Lincoln >> 2002 >> Navigator RWD >> Repair and Diagnosis >> Engine Mechanical >> Mechanical >> Engine 5.4L >> Disassembly >> Engine >> Disassembly

Engine 5.4L: Disassembly: Engine: Disassembly

NOTE: The crankshaft rear oil seal slinger and the oil seal retainer plate must be removed before mounting the engine on the engine stand.
  1. Remove the bolts and the flywheel.
    Fig 1: Removing Bolts And Flywheel
    G03570627Courtesy of FORD MOTOR CO.
  2. Using the special tools, remove the rear oil slinger.
    Fig 2: Removing Rear Oil Slinger
    G03570628Courtesy of FORD MOTOR CO.
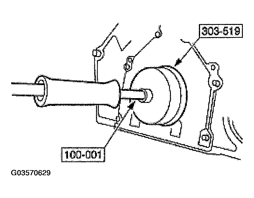
  3. Using the special tools, remove the rear main seal.
    Fig 3: Removing Rear Main Seal
    G03570629Courtesy of FORD MOTOR CO.
  4. Lower the engine onto the wooden blocks.
  5. Remove the special tool.
    Fig 4: Removing Special Tool
    G03570630Courtesy of FORD MOTOR CO.
  6. Remove the LH exhaust manifold.
    1. Remove the eight nuts.
    2. Remove the manifold and discard the gasket.
    Fig 5: Removing LH Exhaust Manifold
    G03570631Courtesy of FORD MOTOR CO.
  7. Remove the stud and the oil level indicator and tube.
    Fig 6: Removing Stud And Oil Level Indicator And Tube
    G03570632Courtesy of FORD MOTOR CO.
  8. NOTE: LH shown, RH similar.
    Fig 7: Installing Special Tools On LH And RH Sides Of Engine
    G03570633Courtesy of FORD MOTOR CO.
  9. Install the special tools on the LH and RH sides of the engine.
  10. Mount the engine on a work stand.
    Fig 8: Mounting Engine On Work Stand
    G03570634Courtesy of FORD MOTOR CO.
  11. CAUTION: Do not use metal scrapers, wire brushes, power abrasive discs or other abrasive means to clean the sealing surfaces. These tools cause scratches and gouges which make leak paths. Use a plastic scraping tool to remove all traces of old sealant.
  12. Remove the bolts and the oil pan.
    • Clean and inspect the sealing surfaces.
      Fig 9: Removing Bolts And Oil Pan
      G03570635Courtesy of FORD MOTOR CO.
  13. CAUTION: Do not use metal scrapers, wire brushes, power abrasive discs or other abrasive means to clean the sealing surfaces. These tools cause scratches and gouges which make leak paths. Use a plastic scraping tool to remove all traces of old sealant.
  14. Remove the bolts and the rear seal retainer plate.
    • Clean and inspect the sealing surfaces.
      Fig 10: Removing Bolts And Rear Seal Retainer Plate
      G03570636Courtesy of FORD MOTOR CO.
  15. NOTE: LH shown, RH similar.
    Fig 11: Removing Special Tools From LH And RH Sides Of Engine
    G03570637Courtesy of FORD MOTOR CO.
  16. Remove the special tools from the LH and RH sides of the engine.
  17. NOTE: LH shown, RH similar.
    Fig 12: Removing RH And LH Engine Mounts
    G03570638Courtesy of FORD MOTOR CO.
  18. Remove the RH and LH engine mounts.
  19. NOTE: LH shown, RH similar.
    Fig 13: Removing Cylinder Block Drain Plugs
    G03570639Courtesy of FORD MOTOR CO.
  20. Remove the cylinder block drain plugs, and drain the coolant in a suitable container.
  21. Disconnect the oil pressure sender.
    Fig 14: Disconnecting Oil Pressure Sender
    G03570640Courtesy of FORD MOTOR CO.
  22. Remove the oil fill tube.
    Fig 15: Removing Oil Fill Tube
    G03570641Courtesy of FORD MOTOR CO.
  23. Remove the bolts and the LH ignition coil cover.
    Fig 16: Removing Bolts And LH Ignition Coil Cover
    G03570642Courtesy of FORD MOTOR CO.
  24. Disconnect the ignition coils.
    Fig 17: Disconnecting Ignition Coils
    G03570643Courtesy of FORD MOTOR CO.
  25. Remove the ignition coils.
    Fig 18: Removing Ignition Coils
    G03570644Courtesy of FORD MOTOR CO.
  26. Disconnect the camshaft position (CMP) sensor.
    Fig 19: Disconnecting Camshaft Position Sensor
    G03570645Courtesy of FORD MOTOR CO.
  27. Disconnect the cylinder head temperature (CHT) sensor.
    Fig 20: Disconnecting Cylinder Head Temperature Sensor
    G03570646Courtesy of FORD MOTOR CO.
  28. Remove the nuts, bracket and ground strap.
    Fig 21: Removing Nuts, Bracket And Ground Strap
    G03570647Courtesy of FORD MOTOR CO.
  29. Remove the bolts and the RH ignition coil cover.
    Fig 22: Removing Bolts And RH Ignition Coil Cover
    G03570648Courtesy of FORD MOTOR CO.
  30. Disconnect the ignition coils.
    Fig 23: Disconnecting Ignition Coils
    G03570649Courtesy of FORD MOTOR CO.
  31. Remove the ignition coils.
    Fig 24: Removing Ignition Coils
    G03570650Courtesy of FORD MOTOR CO.
  32. Disconnect the knock sensor (KS).
    Fig 25: Disconnecting Knock Sensor
    G03570651Courtesy of FORD MOTOR CO.
  33. Separate the engine control sensor wiring from the engine at six locations and remove the wiring.
    Fig 26: Removing Wiring
    G03570652Courtesy of FORD MOTOR CO.
  34. Remove the bolt and the heater return tube.
    Fig 27: Removing Bolt And Heater Return Tube
    G03570653Courtesy of FORD MOTOR CO.
  35. Remove the bolt and the knock sensor (KS).
    Fig 28: Removing Bolt And Knock Sensor
    G03570654Courtesy of FORD MOTOR CO.
  36. Remove the water pump pulley.
    1. Remove the bolts.
    2. Remove the pulley.
      Fig 29: Removing Water Pump Pulley
      G03570655Courtesy of FORD MOTOR CO.
  37. Remove the bolts.
    Fig 30: Removing Bolts
    G03570656Courtesy of FORD MOTOR CO.
  38. CAUTION: Do not use metal scrapers, wire brushes, power abrasive discs or other abrasive means to clean the sealing surfaces. These tools cause scratches and gouges which make leak paths. Use a plastic scraping tool to remove all traces of old sealant.
  39. Remove the water pump.
    • Clean and inspect the sealing surfaces.
      Fig 31: Removing Water Pump
      G03570657Courtesy of FORD MOTOR CO.
  40. Remove the bolt.
    Fig 32: Removing Bolt
    G03570658Courtesy of FORD MOTOR CO.
  41. Using the special tool, remove the crankshaft damper.
    Fig 33: Removing Crankshaft Damper
    G03570659Courtesy of FORD MOTOR CO.
  42. Using the special tool, remove the front crank seal.
    Fig 34: Removing Front Crank Seal
    G03570660Courtesy of FORD MOTOR CO.
  43. Remove the bolt and the belt idler pulley.
    Fig 35: Removing Bolt And Belt Idler Pulley
    G03570661Courtesy of FORD MOTOR CO.
  44. NOTE: LH shown, RH similar.
    Fig 36: Removing Spark Plugs
    G03570662Courtesy of FORD MOTOR CO.
  45. Remove the eight spark plugs.
  46. CAUTION: Do not use metal scrapers, wire brushes, power abrasive discs or other abrasive means to clean the sealing surfaces. These tools cause scratches and gouges which make leak paths. Use a plastic scraping tool to remove all traces of old sealant.
    NOTE: LH shown, RH similar.
    Fig 37: Removing Bolts, Studs And Valve Covers
    G03570663Courtesy of FORD MOTOR CO.
  47. Remove the bolts, studs and the valve covers.
    • Remove the gaskets. Clean and inspect the sealing surfaces.
  48. CAUTION: Do not use metal scrapers, wire brushes, power abrasive discs or other abrasive means to clean the sealing surfaces. These tools cause scratches and gouges which make leak paths. Use a plastic scraping tool to remove all traces of old sealant.
    Fig 38: Removing Studs, Bolts, And Engine Front Cover
    G03570664Courtesy of FORD MOTOR CO.
  49. Remove the studs, bolts, and the engine front cover.

    Remove the gaskets, clean and inspect the sealing surfaces.

    ITEM DESCRIPTION

    Item Part Number Description
    1 N806177 Bolt, Hex Flange Head Pilot, M8 x 1.25 x 50
    2 N806177 Bolt, Hex Flange Head Pilot, M8 x 1.25 x 50
    3 N806177 Bolt, Hex Flange Head Pilot, M8 x 1.25 x 50
    4 N806177 Bolt, Hex Flange Head Pilot, M8 x 1.25 x 50
    5 N806177 Bolt, Hex Flange Head Pilot, M8 x 1.25 x 50
    6 N808529 Stud, Hex-Head Pilot, M10 x 1.5 x 30
    7 N808529 Stud, Hex-Head Pilot, M10 x 1.5 x 30
    8 N806177 Bolt, Hex-Head Flange, M8 x 1.25 x 50
    9 N806177 Bolt, Hex-Head Flange, M8 x 1.25 x 50
    10 N806177 Bolt, Hex-Head Flange, M8 x 1.25 x 50
    11 N806300 Stud Hex Shoulder Pilot, M8 x 1.25 x 65 - M8 x 1.25 x 27
    12 N806300 Stud Hex Shoulder Pilot, M8 x 1.25 x 65 - M8 x 1.25 x 27
    13 W705386 Bolt Hex Shoulder Pilot, M8 x 1.25 x 65
    14 N806300 Stud Hex Shoulder Pilot, M8 x 1.25 x 65 - M8 x 1.25 x 27
    15 W705386 Bolt Hex Shoulder Pilot, M8 x 1.25 x 65
  50. CAUTION: Since the engine is not free-wheeling, if the crankshaft (6303) or the camshafts (6250) are moved in any manner during removal and installation, the crankshaft and the camshafts must be re-synchronized.
    Fig 39: Removing Crankshaft Sensor Ring From Crankshaft
    G03570665Courtesy of FORD MOTOR CO.
  51. Remove the crankshaft sensor ring from the crankshaft.
  52. Rotate the crankshaft until the crankshaft keyway points towards the top of the engine (12 o'clock).
    Fig 40: Identifying Crankshaft Keyway Points Position
    G03570666Courtesy of FORD MOTOR CO.
  53. Position the camshaft lobes at the base circle.
  54. Using the special tool, compress the intake valve springs and remove the roller followers.
    Fig 41: Compressing Intake Valve Springs
    G03570667Courtesy of FORD MOTOR CO.
  55. Using the special tool, compress the exhaust valve springs and remove the roller followers.
    Fig 42: Compressing Exhaust Valve Springs
    G03570668Courtesy of FORD MOTOR CO.
  56. Repeat the previous steps to remove all roller followers.
  57. NOTE: LH shown, RH similar.
    Fig 43: Removing Bolts, Timing Chain Tensioner And Tensioner Arm
    G03570669Courtesy of FORD MOTOR CO.
  58. Remove the two bolts, the timing chain tensioner (6L266) and tensioner arm (6L253).
  59. NOTE: LH shown, RH similar.
  60. Remove the LH and RH timing chains and the crankshaft sprocket.
    • Remove the timing chains from the camshaft sprockets.
    • Remove the right and left timing chains and the crankshaft sprocket from the crankshaft.
      Fig 44: Removing LH And RH Timing Chains And Crankshaft Sprocket
      G03570670Courtesy of FORD MOTOR CO.
  61. CAUTION: The bolts are different lengths and must be returned to their original location.
    NOTE: RH shown, LH similar.
    Fig 45: Removing Bolts And Timing Chain Guides
    G03570671Courtesy of FORD MOTOR CO.
  62. Remove the bolts and the timing chain guides.
  63. Remove the RH exhaust manifold.
    1. Remove the eight nuts.
    2. Remove the exhaust manifold and gasket.
      Fig 46: Removing RH Exhaust Manifold
      G03570672Courtesy of FORD MOTOR CO.
  64. Remove the bolts from the RH and LH cylinder head and remove the cylinder heads.
    • Discard the bolts.
      Fig 47: Removing Bolts From RH And LH Cylinder Head
      G03570673Courtesy of FORD MOTOR CO.
  65. CAUTION: Do not use metal scrapers, wire brushes, power abrasive discs or other abrasive means to clean the sealing surfaces. These tools cause scratches and gouges which make leak paths. Use a plastic scraping tool to remove all traces of old sealant.
    Fig 48: Removing Head Gaskets
    G03570674Courtesy of FORD MOTOR CO.
  66. Remove and discard head gaskets.
    • Clean and inspect the cylinder block and the head sealing surfaces.
  67. Remove the bolts and remove the oil pump screen cover and tube and the spacer.
    Fig 49: Removing Oil Pump Screen Cover And Tube And Spacer
    G03570675Courtesy of FORD MOTOR CO.
  68. CAUTION: Do not use metal scrapers, wire brushes, power abrasive discs or other abrasive means to clean the sealing surfaces. These tools cause scratches and gouges which make leak paths. Use a plastic scraping tool to remove all traces of old sealant.
  69. Remove the bolts and remove the oil pump.
    • Remove the gasket. Clean and inspect the sealing surfaces.
      Fig 50: Removing Oil Pump
      G03570676Courtesy of FORD MOTOR CO.
  70. Before removing pistons, inspect the top of the cylinder bores. If necessary, remove the ridge or carbon deposits from each cylinder using a Cylinder Ridge Reamer, following manufacturer's instructions.
    Fig 51: Inspecting Top Of Cylinder Bores
    G03570677Courtesy of FORD MOTOR CO.
  71. CAUTION: Do not stamp the top of pistons. This may cause ring land damage.
    NOTE: Connecting rods and rod caps should be numbered to keep the correct orientation.
    Fig 52: Removing Bolts And Connecting Rod Caps
    G03570678Courtesy of FORD MOTOR CO.
  72. Remove the bolts and the connecting rod caps for pistons number 1 and 6.
  73. NOTE: Carefully tap connecting rod bolts out. Avoid damaging the rod cap.
  74. Discard the bolts.
  75. CAUTION: Do not scratch the cylinder walls or crankshaft journals with the connecting rod.
    NOTE: Connecting rod guides shown uninstalled for clarity.
    Fig 53: Installing Connecting Rod Guides
    G03570679Courtesy of FORD MOTOR CO.
  76. Install the Connecting Rod Guides and push the pistons number 1 and 6 through the top of the cylinder block (6010).
  77. To remove pistons 3 and 5, 4 and 7, 2 and 8, turn crankshaft 90 degrees and repeat the previous steps.
  78. NOTE: Crankshaft not shown for clarity.
    Fig 54: Removing Crankshaft Main Bearing Caps
    G03570680Courtesy of FORD MOTOR CO.
  79. Remove the crankshaft main bearing caps.
    1. Remove and discard the side bolts.
    2. Remove and discard the main bearing cap bolts.
    3. Remove the dowel pins.
  80. Remove the crankshaft (6303), the crankshaft thrust washer (6334), and the crankshaft upper main bearings from the cylinder block.
    Fig 55: Removing Crankshaft Thrust Washer
    G03570681Courtesy of FORD MOTOR CO.