lemon-mirror:
Home >> Lincoln >> 2002 >> Navigator RWD >> Repair and Diagnosis >> Engine Mechanical >> Mechanical >> Engine 5.4L >> In-Vehicle Repair >> Timing Drive Components >> Installation

Timing Drive Components: Installation

    CAUTION: Timing chain procedures must be followed exactly or damage to the pistons or valves will result.
    Fig 1: Compressing Tensioner Plunger Using Edge Of Soft-Jawed Vise
    G03570398Courtesy of FORD MOTOR CO.
  1. Compress the tensioner plunger, using the edge of a soft-jawed vise.
  2. Install the tensioner retaining clip.
    • Remove the tensioner from the vise.
      Fig 2: Removing Tensioner From Vise
      G03570399Courtesy of FORD MOTOR CO.
  3. NOTE: There are 61 links in the timing chain.
    Fig 3: Marking Copper Chain Links
    G03570400Courtesy of FORD MOTOR CO.
  4. If the copper links are not visible, mark two links on one end and one link on the other end, and use as timing marks.
  5. Install the timing chain guides.
    Fig 4: Installing Timing Chain Guides
    G03570401Courtesy of FORD MOTOR CO.
  6. Remove the special tool.
    Fig 5: Removing Special Tool
    G03570402Courtesy of FORD MOTOR CO.
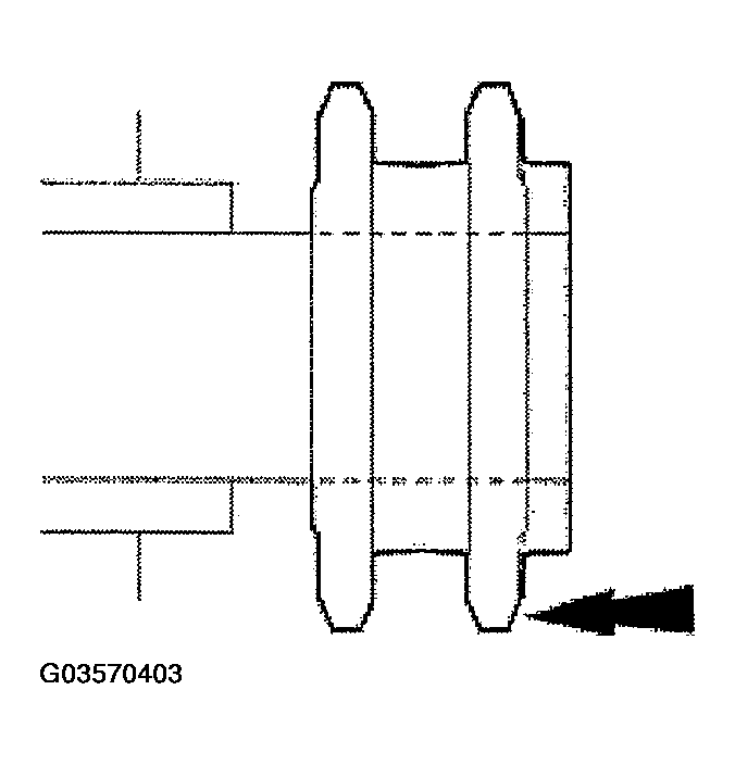
  7. Position the crankshaft sprocket with the long hub facing outward.
    Fig 6: Installing Crankshaft Sprocket With Long Hub Facing Outward
    G03570403Courtesy of FORD MOTOR CO.
  8. Install the LH timing chain onto the crankshaft sprocket, aligning the one copper (marked) link on the timing chain with the slot on the crankshaft sprocket.
    Fig 7: Aligning One Copper (Marked) Link On Timing Chain With Slot On Crankshaft Sprocket
    G03570404Courtesy of FORD MOTOR CO.
  9. Position the LH timing chain on the camshaft sprocket with the two copper (marked) chain links and the camshaft sprocket timing mark aligned.
    Fig 8: Installing LH Timing Chain On Camshaft Sprocket With Copper (Marked) Chain Links
    G03570405Courtesy of FORD MOTOR CO.
  10. Position the RH (outer) timing chain on the crankshaft sprocket, aligning the copper (marked) link with the timing mark on the sprocket.
    Fig 9: Aligning Copper (Marked) Link With Timing Mark On Sprocket
    G03570406Courtesy of FORD MOTOR CO.
  11. Position the RH timing chain on the camshaft sprocket. Make sure the two copper (marked) links align with the camshaft sprocket timing mark.
    Fig 10: Installing RH Timing Chain On Camshaft Sprocket
    G03570407Courtesy of FORD MOTOR CO.
  12. NOTE: LH shown; RH similar.
    Fig 11: Installing Tensioner Arms And Tensioners
    G03570408Courtesy of FORD MOTOR CO.
  13. Position the tensioner arms and tensioners, and install the bolts.
  14. Remove the tensioner retaining clip.
    Fig 12: Removing Tensioner Retaining Clip
    G03570409Courtesy of FORD MOTOR CO.
  15. As a post-check, verify correct alignment of all timing marks.
    Fig 13: Checking Alignment Of All Timing Marks
    G03570410Courtesy of FORD MOTOR CO.
  16. Remove the special tool.
  17. Position the crankshaft sensor ring on the crankshaft.
    Fig 14: Installing Crankshaft Sensor Ring On Crankshaft
    G03570411Courtesy of FORD MOTOR CO.
  18. Install the engine front cover. For additional information, refer to ENGINE FRONT COVER