lemon-mirror:
Home >> Lincoln >> 2003 >> Aviator AWD >> Repair and Diagnosis >> Transmission >> Automatic Transaxle/Transmission >> Disassembly And Assembly Of Subassemblies >> Fluid Pump >> Assembly

Fluid Pump: Assembly

  1. Assemble the components in the order indicated in the following illustration.
    Fig 1: Installation Sequence Of Fluid Pump
    G01635272Courtesy of FORD MOTOR CO.

Item 1: Seal Ring Assembly Note 

    NOTE: Inspect the fluid pump gears for cracks and scoring.
    Fig 2: Installing A New O-Ring Seal In Fluid Pump Drive Gear
    G01635273Courtesy of FORD MOTOR CO.
  1. Install a new O-ring seal in the fluid pump drive gear.
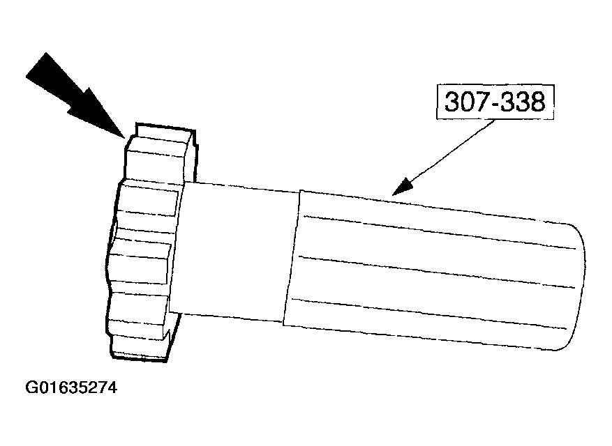
  2. CAUTION: Lubricate the special tool with multi-purpose grease.
    Fig 3: Seating O-Ring Seal In Pump Gear
    G01635274Courtesy of FORD MOTOR CO.
  3. Using the special tool, seat the O-ring seal in the pump gear.

Items 2 and 3: Front Pump Drive Gear and Driven Gear Assembly Note 

    CAUTION: The chamber on the inside edge of the small gear must be up when in the pump housing gear pocket. The dimple on the larger gear must be down when in the pump housing gear pocket.
    Fig 4: Installing Pump Gears Into Fluid Pump Housing
    G01635275Courtesy of FORD MOTOR CO.
  1. Install the pump gears into the fluid pump housing. Apply multi-purpose grease to the pump gears to prevent scoring at start up.

Item 5: Fluid Pump Control Valve Assembly Note 

  1. Install the valve with the tab facing down.
    Fig 5: Installing Valve
    G01635276Courtesy of FORD MOTOR CO.

Items 6 and 7: Fluid Pump Cover Assembly and Fluid Pump Adapter Plate Assembly Note 

  1. First install the special tools in the fluid pump cover, then install the fluid pump adapter plate.
    Fig 6: Installing Special Tools And Adaptor Plate In Fluid Pump Cover
    G01635277Courtesy of FORD MOTOR CO.
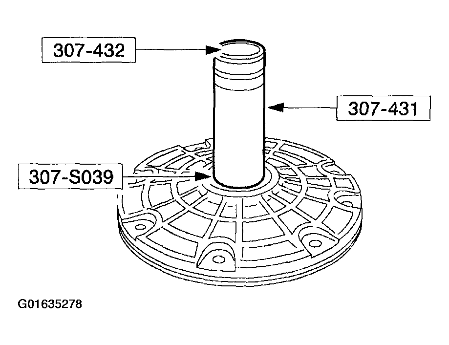
  2. CAUTION: The special tools must be used to correctly align the pump with the adapter plate to reduce gear noise, bushing failure, and leakage.
    Fig 7: Aligning Fluid Pump To Adapter Plate
    G01635278Courtesy of FORD MOTOR CO.
  3. Using the special tool, align the fluid pump to the adapter plate.

Item 8: Front Pump Support Assembly Note 

  1. Using the special tools, assemble the pump.
    Fig 8: Assemble Pump Using Special Tools
    G01635279Courtesy of FORD MOTOR CO.

Item 9: Fluid Pump Screws Assembly Note 

  1. Loosely install the fluid pump housing screws in their correct location and remove the special tools. Install the two remaining screws.
    Fig 9: Loosely Installing Fluid Pump Housing Screws
    G01635280Courtesy of FORD MOTOR CO.
  2. Tighten all the fluid pump screws in a star pattern.
    Fig 10: Tightening Fluid Pump Screws In A Star Pattern
    G01635281Courtesy of FORD MOTOR CO.

Item 11: Stator Support Seal Assembly Note 

    CAUTION: Be careful not to overstretch the seal ring past the seal ring groove, or damage to the seal will occur.
    Fig 11: Installing Fluid Pump Seal Ring
    G01635282Courtesy of FORD MOTOR CO.
  1. Using the special tools, install the fluid pump seal ring.
  2. CAUTION: Verify correct seal installation. Make sure seal grooves are clean and free of burrs.
    Fig 12: Installing Seal
    G01635283Courtesy of FORD MOTOR CO.
  3. Install the seal.
  4. CAUTION: Failure to correctly size the seal will damage the seal when the torque converter is installed.
    Fig 13: Sizing Seal Using Special Tool
    G01635284Courtesy of FORD MOTOR CO.
  5. Using the special tool, size the seal to the correct size. Leave the special tool on the seal for two minutes to obtain the correct seal size.