lemon-mirror:
Home >> Lincoln >> 2003 >> Navigator RWD >> Repair and Diagnosis >> Engine Mechanical >> Mechanical >> Engine-5.4L >> In-Vehicle Repair >> Timing Drive Components >> Installation

Timing Drive Components: Installation

    CAUTION: Timing chain procedures must be followed exactly or damage to the pistons or valves will result.
    Fig 1: Compressing Tensioner Plunger
    G01562966Courtesy of FORD MOTOR CO.
  1. Compress the tensioner plunger, using the edge of a soft-jawed vise.
  2. Install the tensioner retaining clip.
    • Remove the tensioner from the vise.
      Fig 2: Installing Tensioner Retaining Clip
      G01562967Courtesy of FORD MOTOR CO.
  3. NOTE: There are 61 links in the timing chain.
    Fig 3: Locating Timing Marks On Timing Chain
    G01562968Courtesy of FORD MOTOR CO.
  4. If the copper links are not visible, mark two links on one end and one link on the other end, and use as timing marks.
  5. Install the timing chain guides.
    Fig 4: Installing Timing Chain Guides
    G01562969Courtesy of FORD MOTOR CO.
  6. Remove the special tool.
    Fig 5: Removing Special Tool
    G01562970Courtesy of FORD MOTOR CO.
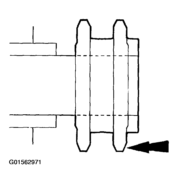
  7. Position the crankshaft sprocket with the long hub facing outward.
    Fig 6: Positioning Crankshaft Sprocket With Long Hub
    G01562971Courtesy of FORD MOTOR CO.
  8. Install the LH timing chain onto the crankshaft sprocket, aligning the one copper (marked) link on the timing chain with the slot on the crankshaft sprocket.
    Fig 7: Installing LH Timing Chain Onto Crankshaft Sprocket
    G01562972Courtesy of FORD MOTOR CO.
  9. Position the LH timing chain on the camshaft sprocket with the two copper (marked) chain links and the camshaft sprocket timing mark aligned.
    Fig 8: Positioning LH Timing Chain On Camshaft Sprocket With Two Copper (Marked) Chain Links
    G01562973Courtesy of FORD MOTOR CO.
  10. Position the RH (outer) timing chain on the crankshaft sprocket, aligning the copper (marked) link with the timing mark on the sprocket.
    Fig 9: Positioning RH (Outer) Timing Chain On Crankshaft Sprocket
    G01562974Courtesy of FORD MOTOR CO.
  11. Position the RH timing chain on the camshaft sprocket. Make sure the two copper (marked) links align with the camshaft sprocket timing mark.
    Fig 10: Positioning RH Timing Chain On Camshaft Sprocket
    G01562975Courtesy of FORD MOTOR CO.
  12. NOTE: LH shown; RH similar.
    Fig 11: Positioning Tensioner Arms And Tensioners
    G01562976Courtesy of FORD MOTOR CO.
  13. Position the tensioner arms and tensioners, and install the bolts.
  14. Remove the tensioner retaining clip.
    Fig 12: Removing Tensioner Retaining Clip
    G01562977Courtesy of FORD MOTOR CO.
  15. As a post-check, verify correct alignment of all timing marks.
    Fig 13: Identifying Timing Marks Alignment
    G01562978Courtesy of FORD MOTOR CO.
  16. Remove the special tool.
  17. Position the crankshaft sensor ring on the crankshaft.
    Fig 14: Positioning Crankshaft Sensor Ring On Crankshaft
    G01562979Courtesy of FORD MOTOR CO.
  18. Install the engine front cover. For additional information, refer to ENGINE FRONT COVER .