lemon-mirror:
Home >> Lincoln >> 2004 >> Navigator RWD >> Repair and Diagnosis >> Transmission >> Automatic Trans >> Automatic Transmission >> Disassembly And Assembly Of Subassemblies >> Pump Assembly >> Disassembly

Pump Assembly: Disassembly

CAUTION: The pump assembly is vehicle-dependent. Failure to use the correct pump may cause transmission assembly damage. For additional information, refer to the parts catalog for the correct pump.
    NOTE: Inspect and install a new front pump seal, if damaged.
    Fig 1: Removing Front Pump Seal
    G02783937Courtesy of FORD MOTOR CO.
  1. Using the special tools, remove the front pump seal.
  2. Remove the front pump stator support seal.
    Fig 2: Removing Front Pump Stator Support Seal
    G02783938Courtesy of FORD MOTOR CO.
  3. Remove the two Teflon® coast clutch seals.
    Fig 3: Removing Teflon® Coast Clutch Seals
    G02783939Courtesy of FORD MOTOR CO.
  4. Remove the pump outer diameter square-cut front pump seal.
    Fig 4: Removing Pump Outer Diameter Square-Cut Front Pump Seal
    G02783940Courtesy of FORD MOTOR CO.
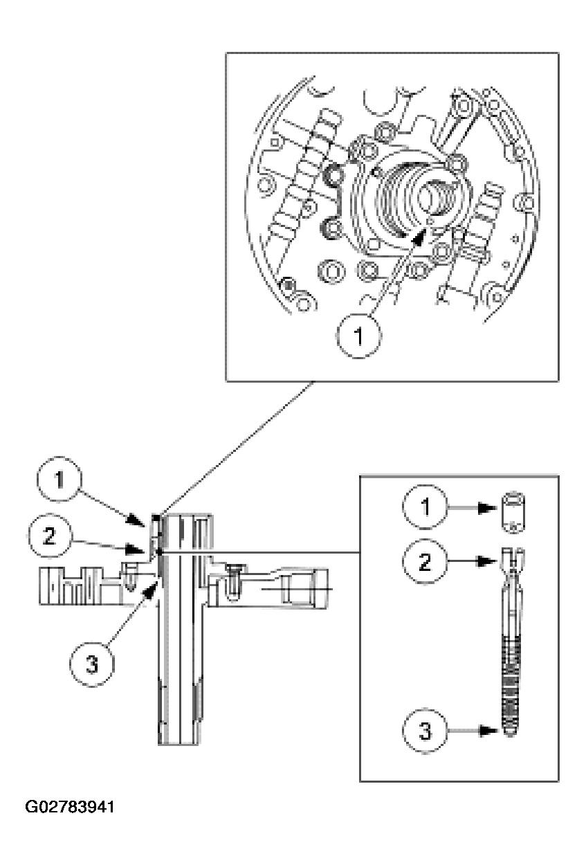
  5. CAUTION: Do not reuse the orifice cup plug or spring and stop assembly. Failure to install new parts may cause repeat repairs. Make sure the old rubber stop is removed (it may become separated from the spring assembly).
    CAUTION: Use care not to damage any machined surfaces of the stator support.
    Fig 5: Removing Orifice Cup Plug, & Spring & Stop Assembly
    G02783941Courtesy of FORD MOTOR CO.
  6. Remove and discard the orifice cup plug and the spring and stop assembly. Clean and inspect the bore, making sure it is clean of any debris.
    1. Remove the orifice cup plug.
    2. Remove the spring and stop assembly.
    3. Remove the old rubber stop.
  7. Remove 12 bolts and separate the pump control body from the pump body.
    Fig 6: Removing Bolts
    G02783942Courtesy of FORD MOTOR CO.
  8. CAUTION: Do not remove any of the remaining cup plugs unless directed to do so in other steps. Do not remove the stator support from the control body. This can distort the surface of the control body.
    NOTE: Inspect the main regulator booster valve and sleeve assembly. If the pump valve bore is not damaged but the valve and sleeve are worn, install a new valve and sleeve. For additional information, refer to PUMP ASSEMBLY, DISASSEMBLED VIEW .
    Fig 7: Removing Converter Clutch Shift Valve Assembly, Converter Regulator Valve Assembly, And Main Regulator Boost Valve And Sleeve Assembly
    G02783943Courtesy of FORD MOTOR CO.
  9. Remove the converter clutch shift valve assembly, converter regulator valve assembly, and main regulator boost valve and sleeve assembly.
    1. Remove the retainer clip with a small screwdriver or tweezers, then remove the converter clutch shift valve assembly.
    2. Remove the retainer clip with a small screwdriver or tweezers, then remove the converter regulator valve assembly.
    3. Remove the retainer clip with a small screwdriver or tweezers, then remove the main regulator valve assembly.
  10. Remove and inspect the inner and the outer gerotor gears.
    • Clean all pump parts in solvent.
    • Dry the parts with compressed air.
    • Inspect the pump gears, faces, gear teeth, pump housing and mating surfaces for damage or scoring.
    • Replace the entire pump if any part is damaged or worn.
    Fig 8: Removing Inner And Outer Gerotor Gears
    G02783944Courtesy of FORD MOTOR CO.
  11. Inspect the converter hub bushing. If scored or excessively worn, replace the entire pump. Note the orientation of the lube groove.
    Fig 9: Inspecting Converter Hub Bushing
    G02783945Courtesy of FORD MOTOR CO.
  12. NOTE: The pump assemblies are model-dependent. Refer to the parts catalog for correct usage.
    Fig 10: Removing Coast Clutch Seals
    G02783946Courtesy of FORD MOTOR CO.
  13. Remove the coast clutch seals and discard.
    1. Inspect the bushing for wear. If scored or worn, replace the entire pump.
    2. Remove the coast clutch seals.
  14. Measure and record the depth of the inner, then the outer, pump gerotor gear face-to-pump body machined surface.
    1. Place the pump gerotor gearset into the pump gear pocket and center it to the pump bushing diameter.
    2. Using the special tool, measure and record the depth of the inner gerotor gear face to the pump body machined surface. Repeat measurement for a total of three readings in equally spaced locations on the gear face. If the reading is not within specification, install a new front pump assembly.
    3. Remove the inner gear and reinstall the outer gear. Repeat Substep 2 for the outer gerotor gear face.
    Fig 11: Measuring Depth Of Pump Gerotor Gears Face-To-Pump Body Machined Surface
    G02783947Courtesy of FORD MOTOR CO.
  15. Inspect the following:
    • All valve and plug bores for scoring or damage.
    • All passages for obstructions.
    • Mating surfaces for burrs and scoring.
    • All springs for distortion.
    • When dry, check all valves and plugs for free movement in their respective bores.