lemon-mirror:
Home >> Lincoln >> 2005 >> Aviator AWD >> Repair and Diagnosis >> Engine Mechanical >> Mechanical >> Engine System-General Information >> General Procedures >> Piston Selection

Piston Selection

NOTE: The cylinder bore must be within the specifications for taper and out-of-round before fitting a piston.
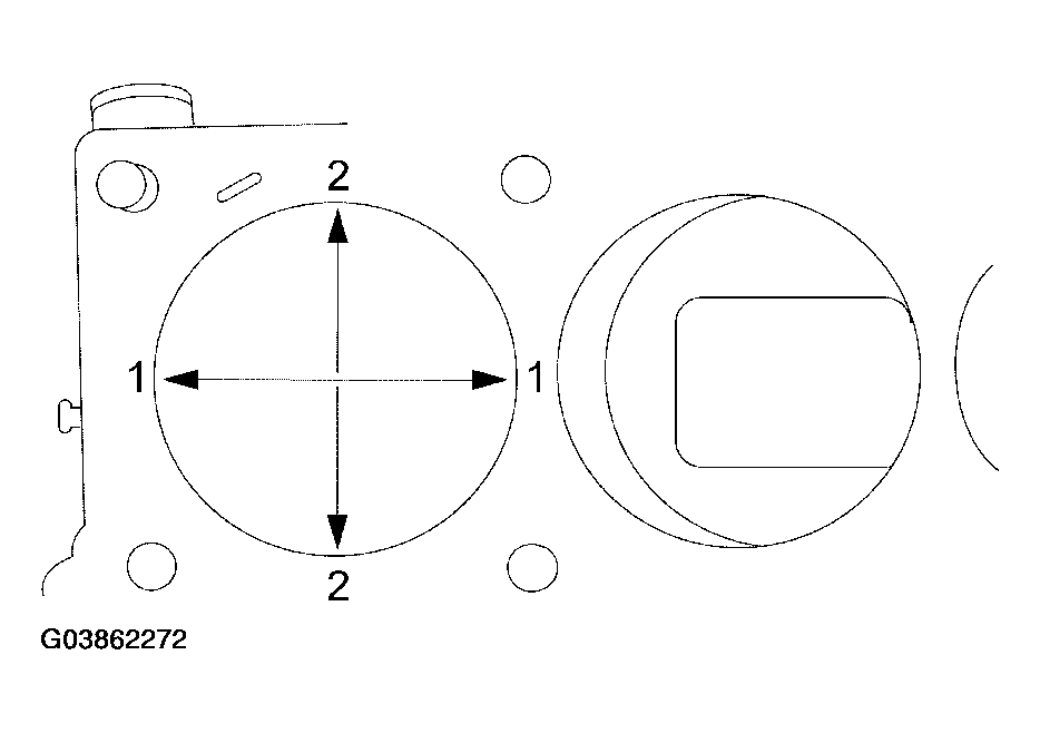
  1. Select a piston size based on the cylinder bore.
    Fig 1: Identifying Cylinder Bore
    G03862272Courtesy of FORD MOTOR CO.
  2. NOTE: For precision fit, new pistons are divided into 3 categories (grade sizes). A paint spot on the new pistons indicates the grade size. Choose the piston with the correct paint color after measuring the cylinder bore diameter.
  3. Choose the piston with the correct paint color.
    • Refer to the appropriate article in ENGINE for the procedure.
      Fig 2: Locating Piston Paint Color
      G03862273Courtesy of FORD MOTOR CO.