lemon-mirror:
Home >> Lincoln >> 2005 >> Aviator AWD >> Repair and Diagnosis >> Transmission >> Automatic Trans >> Automatic Transaxle/Transmission >> Diagnosis And Testing >> Transmission Connector Layouts >> Connector Reference >> Powertrain Control Module (PCM)

Powertrain Control Module (PCM)

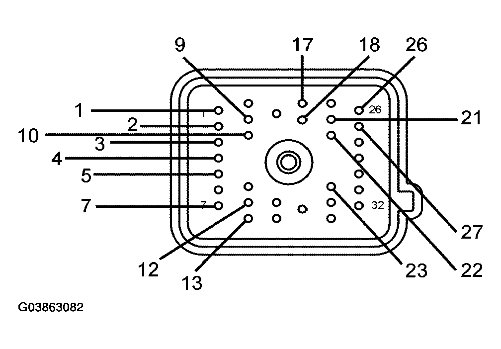
Fig 1: Identifying Powertrain Control Module
G03863082Courtesy of FORD MOTOR CO.
PIN NUMBER AND CIRCUIT DESCRIPTION

Pin Number Circuit Description
1 Shift solenoid A (SSA)
2 Shift solenoid B (SSB)
3 Shift solenoid C (SSC)
4 Shift solenoid D (SSD)
5 Torque converter clutch (TCC) solenoid
7 Pressure control solenoid A (PC A)
9 Digital transmission range sensor TR3A to (PCM)
10 Digital transmission range sensor TR4 to (PCM)
12 Pressure control solenoid C (PC C)
13 Pressure control solenoid B (PC B)
17 Signal return
18 Digital transmission range sensor TR2 to (PCM)
21 Intermediate shaft speed sensor signal input
22 Digital transmission range sensor TR1 to (PCM)
23 Transmission fluid temperature (TFT) sensor
26 Powertrain control module (PCM) to output shaft speed (OSS) sensor signal input
27 Powertrain control module (PCM) to turbine shaft speed (TSS) sensor signal input