lemon-mirror:
Home >> Lincoln >> 2005 >> Aviator RWD >> Repair and Diagnosis >> Engine Mechanical >> Mechanical >> Engine >> In-Vehicle Repair >> Engine Front Cover >> Installation

Engine Front Cover: Installation

    NOTE: If the engine front cover is not secured within 4 minutes, the sealant must be removed and the sealing area cleaned with metal surface cleaner. Allow to dry until there is no sign of wetness, or 4 minutes, whichever is longer. Failure to follow these instructions can result in future oil leakage.
    Fig 1: Identifying Sealant Application Points
    G03862382Courtesy of FORD MOTOR CO.
  1. Apply sealant in the locations shown.
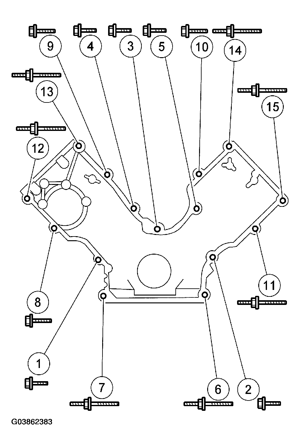
  2. Install the engine front cover and tighten the fasteners in the sequence shown.
    • Tighten to 25 Nm (18 lb-ft).
    Fig 2: Engine Front Cover Bolt Identification And Tightening Sequence
    G03862383Courtesy of FORD MOTOR CO.
  3. Install the 4 oil pan-to-engine front cover bolts in the sequence shown in 3 stages:
    • Stage 1: Tighten to 2 Nm (18 lb-in).
    • Stage 2: Tighten to 20 Nm (15 lb-ft).
    • Stage 3: Tighten an additional 60 degrees.
    Fig 3: Installing 4 Oil Pan-To-Engine Front Cover Bolts
    G03862384Courtesy of FORD MOTOR CO.
  4. Lubricate the engine front cover and the crankshaft seal inner lip with clean engine oil.
    Fig 4: Lubricating Engine Front Cover And Crankshaft Seal Inner Lip
    G03862385Courtesy of FORD MOTOR CO.
  5. Using the special tools, install the crankshaft seal.
    Fig 5: Installing Crankshaft Seal
    G03862386Courtesy of FORD MOTOR CO.
  6. Install the crankshaft pulley. For additional information, refer to CRANKSHAFT PULLEY .
  7. Using the special tool to keep the pulley from rotating, install the coolant pump pulley and the bolts.
    • Tighten to 25 Nm (18 lb-ft).
    Fig 6: Installing Coolant Pump Pulley
    G03862387Courtesy of FORD MOTOR CO.
  8. Install the CKP sensor and the mounting bolt.
    • Tighten to 10 Nm (89 lb-in).
  9. Connect the crankshaft position (CKP) sensor electrical connector.
  10. Install the transmission tube clip and the mounting nut.
    • Tighten to 25 Nm (18 lb-ft).
  11. Reposition and install the A/C compressor and mounting studs.
    • Tighten to 13 Nm (10 lb-ft).
  12. Install the A/C compressor mounting nuts.
    • Tighten to 25 Nm (18 lb-ft).
  13. Connect the battery wiring harness retainer.
  14. Connect the A/C compressor electrical connector.
  15. Reposition the power steering pump and install the mounting bolts.
    • Tighten to 25 Nm (18 lb-ft).
  16. Install the power steering hose bracket and the mounting nut.
    • Tighten to 25 Nm (18 lb-ft).
  17. Install a new oil filter.
  18. Install the CMP sensor and the mounting bolt.
    • Tighten to 10 Nm (89 lb-in).
  19. Connect the camshaft position (CMP) sensor electrical connector.
  20. Install the power steering reservoir bracket and the bolts.
    • Tighten to 10 Nm (89 lb-in).
  21. Install the accessory drive belt tensioner and the mounting bolts.
    • Tighten to 25 Nm (18 lb-ft).
  22. Install the accessory drive belt idler pulley and the mounting bolts.
    • Tighten to 25 Nm (18 lb-ft).
  23. Install the cooling fan and upper fan shroud. For additional information, refer to ENGINE COOLING .
  24. Install the valve covers. For additional information, refer to VALVE COVER - LH  and VALVE COVER - RH .
  25. Fill the engine with clean oil.
  26. Connect the battery ground cable. For additional information, refer to BATTERY, MOUNTING AND CABLES .