lemon-mirror:
Home >> Lincoln >> 2006 >> LS >> Repair and Diagnosis >> Engine Mechanical >> Mechanical >> Engine System-General Information >> General Procedure >> Valve Inspection

Valve Inspection

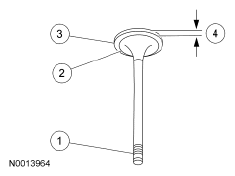
  1. Inspect the following valve areas:
    1. The end of the stem for grooves or scoring.
    2. The valve face and the edge for pits, grooves or scores.
    3. The valve head for signs of burning, erosion, warpage and cracking.
    4. The valve margin for wear.
      Fig 1: Identifying Valve Components And Valve Margin
      G04690206Courtesy of FORD MOTOR CO.