lemon-mirror:
Home >> Lincoln >> 2006 >> LS >> Repair and Diagnosis >> Transmission >> Automatic Trans >> Automatic Transaxle-Transmission External Controls >> General Procedures >> Selector Lever Cable Adjustment >> Shift Cable

Shift Cable

  1. With the vehicle in NEUTRAL, position it on a hoist. For additional information, refer to JACKING AND LIFTING .
  2. Place the selector lever in the D5 position.
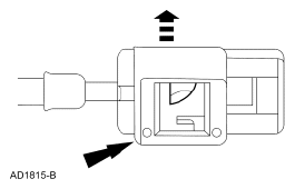
  3. Disconnect the transmission shift cable from the manual control lever.
    Fig 1: Locating Transmission Shift Cable
    G04691771Courtesy of FORD MOTOR CO.
  4. Place the manual control lever in the D5 position. This is 3 positions from the most rearward position.
    Fig 2: Placing Manual Control Lever In D5 Position
    G04691772Courtesy of FORD MOTOR CO.
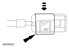
  5. Disconnect the transmission shift cable from the selector lever.
    Fig 3: Locating Transmission Shift Cable
    G04691773Courtesy of FORD MOTOR CO.
  6. Connect the transmission shift cable to the manual control lever.
    Fig 4: Locating Transmission Shift Cable
    G04691774Courtesy of FORD MOTOR CO.
  7. Unlock the adjuster at the end of the cable.
    Fig 5: Unlocking Adjuster
    G04691775Courtesy of FORD MOTOR CO.
  8. Connect the shift cable to the shifter and lock the end of the adjuster.
    Fig 6: Connecting Shift Cable To The Shifter
    G04691776Courtesy of FORD MOTOR CO.
  9. Carefully move the manual control lever from detent-to-detent and compare with transmission settings. Verify that the vehicle will start in PARK or NEUTRAL, and the backup lamps illuminate in REVERSE. If not, steps may need to be repeated and include digital transmission range (TR) sensor adjustment in NEUTRAL. For additional information on transmission range (TR) sensor adjustment, refer to AUTOMATIC TRANSAXLE-TRANSMISSION - 5R55S .
    • Adjust as necessary.