lemon-mirror:
Home >> Lincoln >> 2006 >> LS >> Repair and Diagnosis >> Transmission >> Automatic Trans >> Automatic Transaxle-Transmission >> Disassembly And Assembly Of Subassemblies >> Forward Clutch >> Assembly

Forward Clutch: Assembly

  1. Inspect the clutch components for damage or wear. Install new components as necessary.
    • Check the fluid passages for obstructions. All fluid passages must be clean and free of obstructions.
    • Inspect the clutch plates for damage.
    • Inspect the clutch springs.
    • Inspect the needle bearing and seal rings for damage.
    • Check clutch hub thrust surfaces for damage.
    • Check clutch plates for flatness and fit on the clutch hub serrations.
  2. NOTE: If the seals on the forward clutch piston show any signs of damage, a new forward clutch piston will need to be installed.
    Fig 1: Locating Forward Clutch Piston And Seals
    G04691514Courtesy of FORD MOTOR CO.
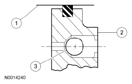
  3. Inspect the forward clutch piston and seals.
  4. Inspect the forward clutch drum assembly.
    1. Inspect the forward clutch cylinder surfaces for scores or burrs.
    2. Inspect the forward clutch piston for scores or burrs.
    3. Verify the check ball is free to move in the piston.
      Fig 2: Identifying Forward Clutch Drum Assembly
      G04691515Courtesy of FORD MOTOR CO.
  5. NOTE: The special tool must be installed on the forward clutch piston for a couple of minutes prior to installing it into the forward clutch cylinder.
    Fig 3: Identifying Special Tool (307-434)
    G04691516Courtesy of FORD MOTOR CO.
  6. Install the special tool on the forward clutch piston.
  7. CAUTION: Care must be taken to prevent damage to the seals.
    NOTE: Lubricate the forward clutch piston inner and outer seal with clean automatic transmission fluid.
    Fig 4: Identifying Special Tool (307-051)
    G04691517Courtesy of FORD MOTOR CO.
  8. Using the special tool, install the forward clutch piston assembly into the forward clutch cylinder.
  9. Install the forward clutch piston spring assembly.
    Fig 5: Locating Forward Clutch Piston Spring Assembly
    G04691518Courtesy of FORD MOTOR CO.
  10. CAUTION: Do not fully depress the clutch spring compressor or damage to the spring retainer may occur.
    Fig 6: Identifying Special Tool (307-015) And Forward Clutch Piston Spring Retaining Ring
    G04691519Courtesy of FORD MOTOR CO.
  11. Using the special tool, install the forward clutch piston spring retaining ring.
  12. CAUTION: The forward clutch friction plates are directional and must be installed with grooves pointing counterclockwise.
    CAUTION: If new plates are used, they should be soaked in clean automatic transmission fluid before assembly.
    Fig 7: Rotating Direct Clutch Disc Pack Counterclockwise
    G04691520Courtesy of FORD MOTOR CO.
  13. If reusing plates, grooves must be installed counterclockwise. Install the direct clutch disc pack.
  14. Install the steel clutch plates and friction clutch plates in alternating order starting with a steel clutch plate.
    Fig 8: Locating Steel Clutch Plates And Friction Clutch Plates
    G04691521Courtesy of FORD MOTOR CO.
  15. CAUTION: The retaining ring is a select fit.
  16. Install the original selective retaining ring.
    1. Install the forward clutch pressure plate.
    2. Install the original selective retaining ring.
      Fig 9: Identifying Original Selective Retaining Ring And Forward Clutch Pressure Plate
      G04691522Courtesy of FORD MOTOR CO.
  17. WARNING: Air pressure must not exceed 138 kPa (20 psi). Wear safety glasses when using compressed air. Make sure the cylinder is facing down as shown. Failure to follow these instructions may result in personal injury.
  18. Air check the forward clutch piston.
    1. Place the forward clutch cylinder with forward clutch piston facing down.
    2. Install the transmission center support on the forward clutch cylinder.
    3. Apply air pressure to the left port of the center support.
      Fig 10: Identifying Forward Clutch Piston, Forward Clutch Cylinder And Left Port
      G04691523Courtesy of FORD MOTOR CO.
  19. Check the forward clutch disc pack free play.
    1. Press down on the forward clutch disc pack.
    2. Using a feeler gauge, check the gap between the forward clutch retaining ring and the forward clutch pressure plate.
      • If the clearance is not within specifications, install the correct size retaining ring.
        FORWARD CLUTCH DISC PACK FREE PLAY

        Part Number Thickness Diameter
        mm In mm In
        XW4Z-7D483-AB 1.73 0.0681 141.45 5.65
        XW4Z-7D483-AC 2.08 0.0819 141.45 5.65
        XW4Z-7D483-AD 2.44 0.0961 141.45 5.65
        Fig 11: Checking Gap Between Forward Clutch Retaining Ring And Forward Clutch Pressure Plate (With Specifications)
        G04691524Courtesy of FORD MOTOR CO.