lemon-mirror:
Home >> Lincoln >> 2006 >> Navigator RWD >> Repair and Diagnosis >> Engine Mechanical >> Mechanical >> Engine >> Assembly >> Engine

Engine Mechanical: Mechanical: Engine: Assembly: Engine

SPECIAL TOOL(S)

G04627358Courtesy of FORD MOTOR CO.
Remover/Installer, Cylinder Head
303-572 (T97T-6000-A)
G04627359Courtesy of FORD MOTOR CO.
Installer, Connecting Rod
303-442 (T93P-6136-A)
G04627360Courtesy of FORD MOTOR CO.
Compressor, Valve Spring
303-1039
G04627361Courtesy of FORD MOTOR CO.
Installer, Crankshaft Vibration Damper
303-102 (T74P-6316-B)
G04627362Courtesy of FORD MOTOR CO.
Installer, Crankshaft Front Seal
303-635
G04627363Courtesy of FORD MOTOR CO.
Installer, Front Cover Seal
303-335 (T88T-6701-A)
G04627364Courtesy of FORD MOTOR CO.
Compressor, Piston Ring
303-D032 (D81L-6002-C) or equivalent
G04627365Courtesy of FORD MOTOR CO.
Installer, Crankshaft Rear Seal
303-518 (T95P-6701-DH)
G04627366Courtesy of FORD MOTOR CO.
Installer, Crankshaft Oil Slinger
303-517 (T95P-6701-CH)
G04627367Courtesy of FORD MOTOR CO.
Installer, Crankshaft Rear Seal
303-516 (T95P-6701-EH)
G04627368Courtesy of FORD MOTOR CO.
Impact Slide Hammer
100-001 (T50T-100-A)
G04627369Courtesy of FORD MOTOR CO.
Alignment Pins, Cylinder Head
303-1040 (SR-015486)
G04627370Courtesy of FORD MOTOR CO.
Modular Engine Lift Bracket
303-F047 (014-00073) or equivalent
G04627371Courtesy of FORD MOTOR CO.
Locking Tool, Camshaft Phaser Sprocket
303-1046
G04627372Courtesy of FORD MOTOR CO.
Holding Tool, Crankshaft
303-448 (T93P-6303-A)
MATERIALS

Item Specification
Motorcraft Metal Surface Prep
ZC-31
-
Silicone Gasket Remover
ZC-30
-
Silicone Gasket and Sealant
TA-30
WSE-M4G323-A4
Hydraulic Chain Tensioner Retaining Clip
1L3Z-6P250-AA
-
Motorcraft SAE 5W-20 Premium Synthetic Blend Motor Oil
XO-5W20-QSP (US); Motorcraft SAE 5W-20 Super Premium Motor Oil CXO-5W20-LSP12 (Canada); or equivalent
WSS-M2C930-A
Motorcraft Premium Gold Engine Coolant with Bittering Agent (US only) VC-7-B (US); CVC-7-A (Canada); or equivalent (yellow color) WSS-M97B51-A1
Fig 1: Exploded View Of Engine Components - Upper End
G04627373Courtesy of FORD MOTOR CO.
Fig 2: Engine - Upper End Components Description Table
G04627374Courtesy of FORD MOTOR CO.
Fig 3: Exploded View Of Engine Components - Front End
G04627375Courtesy of FORD MOTOR CO.
Fig 4: Exploded View Of Engine Components - Lower End
G04627376Courtesy of FORD MOTOR CO.
Fig 5: Engine - Lower End Components Description Table
G04627377Courtesy of FORD MOTOR CO.
  1. Record the main bearing code found on the front of the engine block.
    Fig 6: Identifying Main Bearing Code Found On Front Of Engine Block
    G04583819Courtesy of FORD MOTOR CO.
  2. Record the main bearing code found on the back of the crankshaft.
    Fig 7: Identifying Main Bearing Code - Found On Back Of Crankshaft
    G03886015Courtesy of FORD MOTOR CO.
  3. Using the data recorded earlier and the Bearing Select Fit Table, Standard Bearings, determine the required bearing grade for each main bearing.
    • Read the first letter of the engine block main bearing code and the first letter of the crankshaft main bearing code.
    • Read down the column below the engine block main bearing code letter, and across the row next to the crankshaft main bearing code letter, until the 2 intersect. This is the required bearing grade for the number one crankshaft main bearing.
    • As an example, if the engine block code letter is "F" and the crankshaft code letter is "D", the correct bearing grade for this main bearing is a "2".
    • Repeat this process for the remaining 4 main bearings.
      Fig 8: Bearing Select Fit Chart (Standard Bearings)
      G03886016Courtesy of FORD MOTOR CO.
  4. If oversize bearings are being used, use the procedure in the previous step and the Bearing Select Fit Table, Oversize Bearings to determine the required bearing grade for each main bearing.
    Fig 9: Bearing Select Fit Chart (Oversize Bearings)
    G04583822Courtesy of FORD MOTOR CO.
  5. NOTE: Before assembling the cylinder block, all sealing surfaces must be free of chips, dirt, paint and foreign material. Also, make sure the coolant and oil passages are clear.
  6. Install the crankshaft upper main bearings into the cylinder block and lubricate them with clean engine oil.
  7. NOTE: The upper thrust washers are shown for location purposes only. Do not install the upper thrust washers until the crankshaft is installed. Refer to the following 2 steps.
    Fig 10: Locating Crankshaft And Upper Crankshaft Main Bearings
    G03886018Courtesy of FORD MOTOR CO.
  8. Install the crankshaft onto the upper crankshaft main bearings.
  9. NOTE: The oil groove on the thrust washer must face toward the front of the engine (against the crankshaft thrust surface).
    Fig 11: Identifying Rear Upper Crankshaft Thrust Washer
    G03886019Courtesy of FORD MOTOR CO.
  10. Push the crankshaft rearward and install the rear crankshaft upper thrust washer at the back of the No. 5 main boss.
  11. NOTE: The oil groove on the thrust washer must face toward the front of the engine (against the crankshaft surface).
    Fig 12: Installing Front Crankshaft Upper Thrust Washer
    G04627384Courtesy of FORD MOTOR CO.
  12. Push the crankshaft forward and install the front crankshaft upper thrust washer at the front of the No. 5 main boss.
  13. NOTE:
    1. To aid in assembly, apply petroleum jelly to the back of the crankshaft thrust washer.
    2. The oil groove on the thrust washer must face toward the rear of the engine (crankshaft surface).
    Fig 13: Installing Main Bearing Cap
    G04627385Courtesy of FORD MOTOR CO.
  14. Install the lower crankshaft thrust washer to the back side of the No. 5 main bearing cap, with oil grooves facing the crankshaft surface.
  15. Install the crankshaft lower main bearings into the main bearing caps and lubricate them with clean engine oil. Locate the main bearing cap on the cylinder block and, keeping the cap as square as possible, alternately draw the cap down evenly using the cap fasteners.
  16. Install the dowel pins so the flat sides face the crankshaft.
    Fig 14: Locating Dowel Pins
    G04627386Courtesy of FORD MOTOR CO.
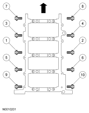
  17. Install the vertical main bearing cap fasteners and tighten in 2 stages, in the sequence shown in Fig 15.
    • Stage 1: Tighten to 40 N.m (30 lb-ft).
    • Stage 2: Tighten an additional 90 degrees.
      Fig 15: Identifying Tightening Sequence Of Vertical Main Bearing Cap Bolts
      G04627387Courtesy of FORD MOTOR CO.
  18. Install the side bolts and tighten them in 2 stages, in the sequence shown in Fig 16.
    • Stage 1: Tighten to 30 N.m (22 lb-ft).
    • Stage 2: Tighten an additional 90 degrees.
      Fig 16: Identifying Tightening Sequence Of Side Main Bearing Cap Bolts
      G04627388Courtesy of FORD MOTOR CO.
  19. Assemble the 8 pistons. For additional information, refer to PISTON .
  20. Make sure the ring gaps (oil spacer-A, oil ring-B, compression ring-C) are correctly spaced around the circumference of the piston.
    Fig 17: Identifying Piston Ring Gap Positioning
    G03920387Courtesy of FORD MOTOR CO.
  21. Check the piston-to-cylinder block and piston ring clearances. For additional information, refer to PISTON RING-TO-GROOVE CLEARANCE .
  22. CAUTION: Do not scratch the cylinder walls or crankshaft journals with the connecting rod.
    NOTE: The following piston installation steps are for all 8 connecting rods, rod bearings and pistons. Only one connecting rod, rod bearing and piston is shown.
  23. Use the special tools to install the connecting rod with the upper connecting rod bearing in place.
    • Lubricate the piston and ring with clean engine oil
    • Lubricate the rod bearings with clean engine oil.
      Fig 18: Using Special Tools To Install Piston And Connecting Rod Assembly
      G03920388Courtesy of FORD MOTOR CO.
  24. CAUTION: Do not scratch the cylinder walls or crankshaft journals with the connecting rod.
    Fig 19: Identifying Special Tool (303-442)
    G03920389Courtesy of FORD MOTOR CO.
  25. Once the connecting rod is seated on the crankshaft journal, remove the special tools.
  26. CAUTION: The rod cap installation must keep the same orientation as marked during disassembly.
    NOTE: The connecting rod caps are of the "cracked" design and must mate with the connecting rod ends. Excessive bearing clearance will result if not mated correctly.
  27. Position the lower bearing and connecting rod, and install the new bolts loosely.
  28. NOTE: Main bearing caps are removed for clarity.
  29. Tighten the bolts in 2 stages, in the sequence shown in Fig 20.
    • Stage 1: Tighten to 43 N.m (32 lb-ft).
    • Stage 2: Tighten an additional 105 degrees.
      Fig 20: Identifying Tighten Sequence Of Connecting Rod Bearing Caps
      G03920390Courtesy of FORD MOTOR CO.
  30. Position the oil pump and install the bolts.
    • Tighten to 10 N.m (89 lb-in).
      Fig 21: Locating Oil Pump Bolts
      G04638972Courtesy of FORD MOTOR CO.
  31. Install the oil pump screen and pickup tube spacer.
    • Tighten to 25 N.m (18 lb-ft).
      Fig 22: Installing Oil Pump Screen & Pickup Tube Spacer
      G04627394Courtesy of FORD MOTOR CO.
  32. CAUTION: Make sure the O-ring is in place and not damaged. A missing or damaged O-ring can cause foam in the lubrication system, low oil pressure and severe engine damage.
    NOTE: Clean and inspect the mating surfaces and install a new O-ring. Lubricate the O-ring with clean engine oil prior to installation.
  33. Position the oil pump screen and pickup tube and install the bolts.
    • Tighten the oil pump screen and pickup tube-to-oil pump bolts to 10 N.m (89 lb-in).
    • Tighten the oil pump screen and pickup tube-to-spacer bolt to 25 N.m (18 lb-ft).
      Fig 23: Tightening Oil Pump Screen & Pickup Tube-To-Oil Pump Bolts
      G04627395Courtesy of FORD MOTOR CO.
  34. Using the special tool, position the crankshaft keyway at the 11 o'clock position.
    Fig 24: Positioning Crankshaft With Special Tool (303-448)
    G03919963Courtesy of FORD MOTOR CO.
  35. CAUTION:
    1. Make sure all coolant residue and foreign material are cleaned from the block surface and cylinder bore.
    2. The use of sealing aids (aviation cement, copper spray, and glue) is not permitted. The gasket must be installed dry.
    3. The cylinder head bolts must be discarded and new bolts installed. They are tighten-to-yield designed and cannot be reused.
    NOTE:
    1. Do not turn the crankshaft until instructed to do so.
    2. LH shown, RH similar.
    Fig 25: Locating Cylinder Head And Gaskets Using Special Tool (303-1040)
    G03920395Courtesy of FORD MOTOR CO.
  36. Using the special tools, position the cylinder head gaskets and cylinder heads over the dowels and install the cylinder head bolts loosely.
  37. NOTE: RH shown, LH similar.
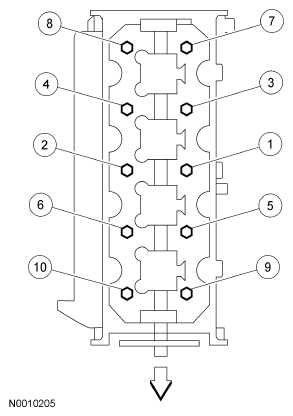
  38. Tighten the bolts in 3 stages, in the sequence shown in Fig 26.
    • Stage 1: Tighten to 40 N.m (30 lb-ft).
    • Stage 2: Tighten an additional 90 degrees.
    • Stage 3: Tighten an additional 90 degrees.
      Fig 26: Identifying Tightening Sequence Of Bolts
      G04627398Courtesy of FORD MOTOR CO.
  39. Remove the special tool from the LH cylinder head.
    Fig 27: Identifying Special Tool Onto Cylinder Head
    G03920258Courtesy of FORD MOTOR CO.
  40. Remove the special tool from the RH cylinder head.
    Fig 28: Identifying Special Tool On Cylinder Head
    G03920261Courtesy of FORD MOTOR CO.
  41. Install the hydraulic lash adjusters into the RH and LH cylinder heads.
    • Lubricate the hydraulic lash adjusters with clean engine oil prior to installation.
      Fig 29: Identifying Hydraulic Lash Adjusters
      G03920399Courtesy of FORD MOTOR CO.
  42. Install the LH and RH camshafts.
    • Lubricate the camshaft and camshaft journals with clean engine oil prior to installation.
  43. NOTE: LH shown, RH similar.
  44. Install the LH and RH camshaft bearing caps in their original locations.
    • Lubricate the camshaft bearing caps with clean engine oil.
    • Position the front camshaft bearing cap.
    • Position the remaining camshaft bearing caps.
    • Install the bolts loosely.
    • Tighten to 10 N.m (89 lb-in) in the sequence shown in Fig 30.
      Fig 30: Identifying Camshaft Bearing Cap Bolt Loosening/Tightening Sequence
      G03919956Courtesy of FORD MOTOR CO.
  45. CAUTION: Damage to the variable camshaft timing (VCT) phaser sprocket assembly will occur if mishandled or used as a lifting or leveraging device.
    NOTE: LH shown, RH similar.
    Fig 31: Identifying Camshaft Phaser And Sprocket Assembly Bolt
    G03919961Courtesy of FORD MOTOR CO.
  46. Install the VCT phaser sprockets and new VCT phaser sprocket bolts finger tight.
  47. CAUTION:
    1. Damage to the VCT phaser sprocket assembly will occur if mishandled or used as a lifting or leveraging device.
    2. Only use hand tools to remove the VCT phaser sprocket assembly or damage may occur to the camshaft or VCT phaser sprocket.
    NOTE: LH shown, RH similar.
  48. Using the special tool, tighten the LH and RH VCT phaser sprocket bolts in 2 stages.
    • Stage 1: Tighten to 40 N.m (30 lb-ft).
    • Stage 2: Tighten an additional 90 degrees.
      Fig 32: Identifying Special Sprocket Phaser Tool
      G03919955Courtesy of FORD MOTOR CO.
  49. CAUTION:
    1. Timing chain procedures must be followed exactly or damage to valves and pistons will result.
    2. Prior to installation, inspect the tensioner-sealing bead for seal integrity. If cracks, tears, separation from the tensioner body or permanent compression of the seal bead is observed, install a new tensioner.
    Fig 33: Compressing Tensioner Plunger
    G03885344Courtesy of FORD MOTOR CO.
  50. Compress the tensioner plunger, using a vise.
  51. Install a retaining clip on the tensioner to hold the plunger in during installation.
    Fig 34: Identifying Retaining Clip on Tensioner
    G03881580Courtesy of FORD MOTOR CO.
  52. Remove the tensioner from the vise.
  53. If the copper links are not visible, mark 2 links on one end and 1 link on the other end, and use as timing marks.
    Fig 35: Locating Timing Chain Marks
    G03885317Courtesy of FORD MOTOR CO.
  54. Install the crankshaft sprocket, making sure the flange faces forward.
    Fig 36: Identifying Crankshaft Sprocket
    G03919967Courtesy of FORD MOTOR CO.
  55. Install the 4 bolts and the LH and RH timing chain guides.
    • Tighten to 10 Nm (89 lb-in).
      Fig 37: Identifying Timing Chain Guides
      G03933858Courtesy of FORD MOTOR CO.
  56. Position the lower end of the LH (inner) timing chain on the crankshaft sprocket, aligning the timing mark on the outer flange of the crankshaft sprocket with the single copper (marked) link on the chain.
    Fig 38: Aligning Crankshaft Sprocket Timing Mark And LH Timing Chain Link
    G03919969Courtesy of FORD MOTOR CO.
  57. NOTE: Make sure the upper half of the timing chain is below the tensioner arm dowel.
    Fig 39: Identifying Copper Links Of Timing Chain On VCT Phaser Sprocket
    G03919970Courtesy of FORD MOTOR CO.
  58. Position the timing chain on the VCT phaser sprocket with the timing mark positioned between the 2 copper (marked) chain links.
  59. NOTE: The LH timing chain tensioner arm has a bump near the dowel hole for identification.
  60. Position the LH timing chain tensioner arm on the dowel pin and install the LH timing chain tensioner and bolts.
    • Tighten to 25 N.m (18 lb-ft).
      Fig 40: Identifying LH Timing Chain Tensioner & Tensioner Arm
      G03919950Courtesy of FORD MOTOR CO.
  61. Remove the retaining clip from the LH timing chain tensioner.
    Fig 41: View Of Retaining Clip AndTiming Chain Tensioner
    G03881591Courtesy of FORD MOTOR CO.
  62. Position the lower end of the RH (outer) timing chain on the crankshaft sprocket, aligning the timing mark on the sprocket with the single copper (marked) chain link.
    Fig 42: Aligning Crankshaft Sprocket Timing Mark And RH Timing Chain Link
    G03919973Courtesy of FORD MOTOR CO.
  63. NOTE:
    1. The lower half of the timing chain must be positioned above the tensioner arm dowel.
    2. The camshaft phaser and sprocket will be stamped with one of the illustrated timing marks for the RH camshaft.
    Fig 43: Aligning Timing Chain On VCT Phaser Sprocket With Timing Mark
    G04627415Courtesy of FORD MOTOR CO.
  64. Position the RH timing chain on the VCT phaser sprocket with the timing mark positioned between the 2 copper (marked) chain links.
  65. Position the RH timing chain tensioner arm on the dowel pin and install the RH timing chain tensioner and bolts.
    • Tighten to 25 N.m (18 lb-ft).
      Fig 44: Identifying RH Timing Chain Tensioner, Tensioner Arm And Bolts
      G03919951Courtesy of FORD MOTOR CO.
  66. Remove the retaining clip from the RH timing chain tensioner.
    Fig 45: View Of Retaining Clip AndTiming Chain Tensioner
    G03881591Courtesy of FORD MOTOR CO.
  67. As a post-check, verify correct alignment of all timing marks.
    Fig 46: Identifying Alignment Of All Timing Marks
    G04627418Courtesy of FORD MOTOR CO.
  68. Install the crankshaft sensor ring on the crankshaft.
    Fig 47: View Of Crankshaft Sensor Ring At Crankshaft
    G04583449Courtesy of FORD MOTOR CO.
  69. Using the special tool, install all of the camshaft roller followers.
    • Lubricate the camshaft roller followers with clean engine oil prior to installation.
      Fig 48: Compressing Spring Using Special Tool
      G03919948Courtesy of FORD MOTOR CO.
  70. CAUTION: Do not use metal scrapers, wire brushes, power abrasive discs or other abrasive means to clean the sealing surfaces. These tools cause scratches and gouges which make leak paths. Use a plastic scraping tool to remove all traces of old sealant.
    NOTE:
    1. If the engine front cover is not secured within 4 minutes, the sealant must be removed and the sealing area cleaned with silicone gasket remover and metal surface prep. Follow the directions on the packaging. Allow to dry until there is no sign of wetness, or 4 minutes, whichever is longer. Failure to follow this procedure can cause future oil leakage.
    2. Make sure that the engine front cover gasket are in place on the engine front cover before installation.
    Fig 49: Applying Silicone Gasket & Sealant Cylinder Head-To-Cylinder Block Surface Locations
    G04627421Courtesy of FORD MOTOR CO.
  71. Apply a bead of silicone gasket and sealant along the cylinder head-to-cylinder block surface at the locations shown in Fig 49.
  72. Install new engine front cover gaskets on the engine front cover. Position the engine front cover onto the dowels. Install the fasteners finger-tight.
    Fig 50: Identifying Engine Front Cover And Alignment Dowels
    G03881967Courtesy of FORD MOTOR CO.
  73. Tighten the engine front cover fasteners in sequence in 2 stages.

    Stage 1: Tighten fasteners 1 through 15 to 25 N.m (18 lb-ft).

    Stage 2: Tighten fasteners 6 and 7 to 48 N.m (35 lb-ft).

    Fig 51: Identifying Tightening Sequence Of Engine Front Cover Fasteners In Sequence
    G04627423Courtesy of FORD MOTOR CO.
  74. NOTE: Lubricate the new O-ring seal with clean engine oil prior to installation.
  75. Install the LH camshaft position (CMP) sensor and the bolt.
    • Tighten to 10 N.m (89 lb-in).
      Fig 52: Locating Bolt And LH CMP Sensor
      G03919989Courtesy of FORD MOTOR CO.
  76. NOTE: Lubricate the new O-ring seal with clean engine oil prior to installation.
  77. Install the RH CMP sensor and the bolt.
    • Tighten to 10 N.m (89 lb-in).
      Fig 53: Locating Camshaft (CMP) Sensor Bolt
      G03920013Courtesy of FORD MOTOR CO.
  78. CAUTION: Do not rotate the coolant pump housing once the coolant pump has been positioned in the cylinder block. Damage to the O-ring seal will occur.
  79. Position the coolant pump and install the bolts loosely.
    • Lubricate the new O-ring seal using clean engine coolant and install the O-ring seal onto the coolant pump.
      Fig 54: Identifying Coolant Pump
      G03885759Courtesy of FORD MOTOR CO.
  80. Tighten the 4 coolant pump bolts.
    • Tighten to 25 N.m (18 lb-ft).
      Fig 55: Identifying Coolant Pump Bolts
      G03885825Courtesy of FORD MOTOR CO.
  81. Lubricate the engine front cover and the crankshaft front seal inner lip with clean engine oil.
    Fig 56: Locating Crankshaft Front Seal
    G03881970Courtesy of FORD MOTOR CO.
  82. Using the special tools, install a new crankshaft front seal into the engine front cover.
    Fig 57: Installing Crankshaft Front Seal Using Special Tools
    G03919891Courtesy of FORD MOTOR CO.
  83. NOTE: If not secured within 4 minutes, the sealant must be removed and the sealing area cleaned with silicone gasket remover and metal surface prep. Follow the directions on the packaging. Allow to dry until there is no sign of wetness, or 4 minutes, whichever is longer. Failure to follow this procedure can cause future oil leakage.
    Fig 58: Applying Silicone Gasket And Sealant To Woodruff Key Slot On Crankshaft Pulley
    G03919877Courtesy of FORD MOTOR CO.
  84. Apply silicone gasket and sealant to the Woodruff key slot on the crankshaft pulley.
  85. Use the special tool to install the crankshaft pulley.
    Fig 59: Using Special Tool To Install Crankshaft Pulley
    G03920552Courtesy of FORD MOTOR CO.
  86. Tighten the new crankshaft pulley bolt in 4 stages.
    • Stage 1: Tighten to 90 N.m (66 lb-ft).
    • Stage 2: Loosen 360 degrees.
    • Stage 3: Tighten to 50 N.m (37 lb-ft).
    • Stage 4: Tighten an additional 90 degrees.
      Fig 60: Locating Crankshaft Pulley Bolt
      G04672695Courtesy of FORD MOTOR CO.
  87. Position the crankshaft position (CKP) sensor and the bolt.
    • Tighten to 10 N.m (89 lb-in).
      Fig 61: Locating Crankshaft Position (CKP) Sensor Bolt
      G03920231Courtesy of FORD MOTOR CO.
  88. Position the accessory drive belt tensioner and install the 3 bolts.
    • Tighten to 25 N.m (18 lb-ft).
      Fig 62: Identifying Accessory Drive Belt Tensioner Bolts
      G03920234Courtesy of FORD MOTOR CO.
  89. Install the 3 accessory drive belt idler pulleys, the coolant pump pulley and the 7 bolts.
    • Tighten to 25 N.m (18 lb-ft).
      Fig 63: Locating Coolant Pump Pulley And Accessory Drive Belt Idler Pulley Bolts
      G03933688Courtesy of FORD MOTOR CO.
  90. CAUTION: Do not use metal scrapers, wire brushes, power abrasive discs or other abrasive means to clean the sealing surfaces. These tools cause scratches and gouges which make leak paths. Use a plastic scraping tool to remove all traces of old sealant.
    NOTE: Clean and inspect the mating surfaces, and install a new gasket.
  91. Position the oil filter adapter and install the 4 bolts.
    • Tighten to 25 N.m (18 lb-ft).
      Fig 64: Locating Oil Filter Adapter Bolts
      G04627436Courtesy of FORD MOTOR CO.
  92. Position a new gasket, the LH exhaust manifold and tighten the 8 nuts in the sequence shown in Fig 65.
    • Tighten to 25 N.m (18 lb-ft).
      Fig 65: Identifying Tightening Sequence Of LH Exhaust Manifold Nuts
      G04627437Courtesy of FORD MOTOR CO.
  93. Install the LH engine support insulator and the 3 bolts.
    • Tighten to 63 N.m (46 lb-ft).
      Fig 66: Locating LH Engine Support Insulator Bolts
      G04627438Courtesy of FORD MOTOR CO.
  94. Position a new gasket, the RH exhaust manifold and tighten the 8 nuts in the sequence shown in Fig 67.
    • Tighten to 25 N.m (18 lb-ft).
      Fig 67: Identifying Tightening Sequence Of RH Exhaust Manifold Nuts
      G04627439Courtesy of FORD MOTOR CO.
  95. Install the RH engine support insulator and the 3 bolts.
    • Tighten to 63 N.m (46 lb-ft).
      Fig 68: Identifying RH Engine Support Insulator Bolts
      G03933620Courtesy of FORD MOTOR CO.
  96. CAUTION: Do not use metal scrapers, wire brushes, power abrasive discs or other abrasive means to clean sealing surfaces. These tools cause scratches and gouges which make leak paths. Use a plastic scraping tool to remove all traces of old sealant.
  97. Clean the valve cover mating surface with silicone gasket remover and metal surface prep. Follow the directions on the packaging.
  98. NOTE: If not secured within 4 minutes, the sealant must be removed and the sealing area cleaned with silicone gasket remover and metal surface prep. Follow the directions on the packaging. Allow to dry until there is no sign of wetness, or 4 minutes, whichever is longer. Failure to follow this procedure can cause future oil leakage.
    Fig 69: Applying Bead Of Silicone Gasket And Sealant In 2 Places Where Engine Front Cover Meets Cylinder Head
    G03919863Courtesy of FORD MOTOR CO.
  99. Apply silicone gasket and sealant in 2 places where the engine front cover meets the cylinder head.
  100. CAUTION: When installing the valve cover, make sure to avoid damaging the VCT solenoid.
  101. Position the RH valve cover and gasket on the cylinder head and tighten the bolts in the sequence shown in Fig 70.
    • Tighten to 10 N.m (89 lb-in).
      Fig 70: Identifying Tightening Sequence Of Valve Cover Bolts
      G03919864Courtesy of FORD MOTOR CO.
  102. CAUTION: Do not use metal scrapers, wire brushes, power abrasive discs or other abrasive means to clean sealing surfaces. These tools cause scratches and gouges which make leak paths. Use a plastic scraping tool to remove all traces of old sealant.
  103. Clean the valve cover mating surface with silicone gasket remover and metal surface prep. Follow the directions on the packaging.
  104. NOTE: If not secured within 4 minutes, the sealant must be removed and the sealing area cleaned with silicone gasket remover and metal surface prep. Follow the directions on the packaging. Allow to dry until there is no sign of wetness, or 4 minutes, whichever is longer. Failure to follow this procedure can cause future oil leakage.
    Fig 71: Applying Bead Of Silicone Gasket And Sealant In 2 Places Where Engine Front Cover Meets Cylinder Head
    G03919870Courtesy of FORD MOTOR CO.
  105. Apply silicone gasket and sealant in 2 places where the engine front cover meets the cylinder head.
  106. CAUTION: When installing the valve cover, make sure to avoid damaging the VCT solenoid.
  107. Position the LH valve cover and gasket on the cylinder head and tighten the bolts in the sequence shown in Fig 72.
    • Tighten to 10 N.m (89 lb-in).
      Fig 72: Identifying Tighten Sequence Of Valve Cover Bolts
      G03919871Courtesy of FORD MOTOR CO.
  108. Install the oil level indicator tube and the bolt.
    • Install a new O-ring seal and lubricate the O-ring seal with clean engine oil prior to installation.
    • Tighten to 10 N.m (89 lb-in).
      Fig 73: Locating Oil Level Indicator Tube Bolt
      G04627445Courtesy of FORD MOTOR CO.
  109. NOTE:
    1. Do not reuse the O-ring seals.
    2. Lubricate the O-ring seals with clean engine coolant prior to installation.
    Fig 74: Locating Coolant Tube
    G03885471Courtesy of FORD MOTOR CO.
  110. Slide the coolant tube forward with the new O-ring seals into the cylinder block.
  111. Install the coolant tube stud bolt.
    • Tighten to 10 N.m (89 lb-in).
      Fig 75: Identifying Coolant Tube Stud Bolt
      G03920263Courtesy of FORD MOTOR CO.
  112. Install the 2 knock sensors (KS) and the bolts.
    • Tighten to 20 N.m (15 lb-ft).
      Fig 76: Identifying Knock Sensors (KS)
      G03920293Courtesy of FORD MOTOR CO.
  113. Position the electrical harness on the engine assembly and connect the engine wiring harness retainers to the valve cover studs.
  114. NOTE: LH shown, RH similar.
  115. Install the 8 ignition coils and the 8 bolts.
    • Tighten to 6 N.m (53 lb-in).
      Fig 77: Identifying Ignition Coils And Bolts
      G03920226Courtesy of FORD MOTOR CO.
  116. Install the LH radio ignition interference capacitor and the stud bolt.
    • Tighten to 25 N.m (18 lb-ft).
      Fig 78: Identifying LH Radio Ignition Interference Capacitor And Stud Bolt
      G03920225Courtesy of FORD MOTOR CO.
  117. Connect the cylinder head temperature (CHT) sensor electrical connector.
    Fig 79: Locating Cylinder Head Temperature (CHT) Sensor Electrical Connector
    G03920224Courtesy of FORD MOTOR CO.
  118. Connect the 4 RH ignition coil electrical connectors.
    Fig 80: Locating Ignition Coil Electrical Connectors
    G03920223Courtesy of FORD MOTOR CO.
  119. Connect the electrical connector retainer to the coolant tube.
    Fig 81: Locating Electrical Connector Retainer At Coolant Tube Support Bracket
    G03919850Courtesy of FORD MOTOR CO.
  120. Connect the 2 engine wiring harness retainers from the RH valve cover studs.
    Fig 82: Locating Engine Wiring Harness Retainers At RH Valve Cover
    G03920221Courtesy of FORD MOTOR CO.
  121. Connect the RH VCT solenoid electrical connector.
    Fig 83: Locating Camshaft Timing (VCT) Solenoid Electrical Connectors
    G03920220Courtesy of FORD MOTOR CO.
  122. Install the RH radio ignition interference capacitor and the stud bolt.
    • Tighten to 25 N.m (18 lb-ft).
      Fig 84: Identifying RH Radio Ignition Interference Capacitor Stud Bolt
      G03920219Courtesy of FORD MOTOR CO.
  123. Connect the RH CMP sensor electrical connector.
    Fig 85: Identifying RH CMP Sensor Electrical Connector
    G03919909Courtesy of FORD MOTOR CO.
  124. Install the special tool.
    Fig 86: Identifying Special Tool (303-F047)
    G03920205Courtesy of FORD MOTOR CO.
  125. Using a suitable floor crane, remove the engine from the engine stand.
  126. CAUTION: Do not use metal scrapers, wire brushes, power abrasive discs or other abrasive means to clean the aluminum retainer plate. These tools cause scratches and gouges, which make leak paths. Use a plastic scraping tool to remove all traces of old sealant.
  127. Inspect the crankshaft rear seal retainer plate. Clean the mating surface for the rear seal retainer plate with silicone gasket remover and metal surface prep. Follow the directions on the packaging.
  128. NOTE: If not secured within 4 minutes, the sealant must be removed and the sealing area cleaned with silicone gasket remover and metal surface prep. Follow the directions on the packaging. Allow to dry until there is no sign of wetness, or 4 minutes, whichever is longer. Failure to follow this procedure can cause future oil leakage.
    Fig 87: Applying Bead Of Silicone Gasket And Sealant Around Crankshaft Rear Seal Retainer Plate Sealing Surface
    G03881975Courtesy of FORD MOTOR CO.
  129. Apply a 4 mm (0.16 in) bead of silicone gasket and sealant around the crankshaft rear seal retainer sealing surface.
  130. Install the crankshaft rear seal retainer plate and loosely install the 6 bolts.
    Fig 88: Identifying Crankshaft Rear Oil Seal Retainer
    G04583880Courtesy of FORD MOTOR CO.
  131. Tighten the bolts in the sequence shown in Fig 89.
    • Tighten to 10 N.m (89 lb-in).
      Fig 89: Identifying Tightening Sequence Of Bolts
      G04627461Courtesy of FORD MOTOR CO.
  132. CAUTION: Do not use metal scrapers, wire brushes, power abrasive discs or other abrasive means to clean the sealing surfaces. These tools cause scratches and gouges, which make leak paths. Use a plastic scraping tool to remove all traces of old sealant.
  133. Inspect the oil pan. Clean the mating surface for the oil pan with silicone gasket remover and metal surface prep. Follow the directions on the packaging.
  134. NOTE: If not secured within 4 minutes, the sealant must be removed and the sealing area cleaned with silicone gasket remover and metal surface prep. Follow the directions on the packaging. Allow to dry until there is no sign of wetness, or 4 minutes, whichever is longer. Failure to follow this procedure can cause future oil leakage.
    Fig 90: Area For Applying Bead Of Silicone Gasket And Sealant
    G04583522Courtesy of FORD MOTOR CO.
  135. Apply silicone gasket and sealant at the crankshaft rear seal retainer plate-to-cylinder block sealing surface.
  136. NOTE: If not secured within 4 minutes, the sealant must be removed and the sealing area cleaned with silicone gasket remover and metal surface prep. Follow the directions on the packaging. Allow to dry until there is no sign of wetness, or 4 minutes, whichever is longer. Failure to follow this procedure can cause future oil leakage.
    Fig 91: Applying Silicone Gasket And Sealant At Engine Front Cover-To-Cylinder Block Mating Surface
    G03920465Courtesy of FORD MOTOR CO.
  137. Apply silicone gasket and sealant at the engine front cover-to-cylinder block sealing surface.
  138. Install the oil pan gasket and the oil pan and loosely install the bolts.
    Fig 92: Identifying Oil Pan And Gasket
    G03885989Courtesy of FORD MOTOR CO.
  139. Tighten the bolts in 3 stages, in the sequence shown in Fig 93.
    • Stage 1: Tighten to 2 N.m (18 lb-in).
    • Stage 2: Tighten to 20 N.m (15 lb-ft).
    • Stage 3: Tighten an additional 60 degrees.
      Fig 93: Identifying Oil Pan Bolt Tightening Sequence
      G03920110Courtesy of FORD MOTOR CO.
  140. NOTE: Lubricate the inner lip of the crankshaft rear seal with clean engine oil.
    Fig 94: Using Special Tools To Install New Crankshaft Rear Seal
    G04583928Courtesy of FORD MOTOR CO.
  141. Using the special tools, install a new crankshaft rear seal.
  142. Using the special tools, install a new crankshaft rear oil slinger.
    Fig 95: Installing Crankshaft Rear Oil Slinger Using Special Tools
    G03920154Courtesy of FORD MOTOR CO.
  143. Install the flexplate and the 8 bolts in the sequence shown in Fig 96.
    • Tighten to 80 N.m (59 lb-ft).
      Fig 96: Identifying Tightening Sequence For Flexplate Or Flywheel Bolts
      G03920141Courtesy of FORD MOTOR CO.