lemon-mirror:
Home >> Lincoln >> 2008 >> Navigator RWD >> Repair and Diagnosis >> Engine Mechanical >> Mechanical >> Engine >> Assembly >> Engine

Engine Mechanical: Mechanical: Engine: Assembly: Engine

Special Tools

Illustration Tool Name Tool Number
GF0000362Courtesy of FORD MOTOR CO.
Alignment Pins, Cylinder Head 303-1040 (SR-015486)
GF0000361Courtesy of FORD MOTOR CO.
Compressor, Piston Ring 303-D032 (D81L-6002-C) or equivalent
GF0000329Courtesy of FORD MOTOR CO.
Compressor, Valve Spring 303-1039
GF0000400Courtesy of FORD MOTOR CO.
Holding Tool, Crankshaft 303-448 (T93P-6303-A)
GF0000218Courtesy of FORD MOTOR CO.
Impact Slide Hammer 100-001 (T50T-100-A)
GF0000351Courtesy of FORD MOTOR CO.
Installer, Connecting Rod 303-442 (T93P-6136-A)
GF0000313Courtesy of FORD MOTOR CO.
Installer, Crankshaft Front Oil Seal 303-635
GF0000320Courtesy of FORD MOTOR CO.
Installer, Crankshaft Rear Oil Slinger 303-517 (T95P-6701-CH)
GF0000318Courtesy of FORD MOTOR CO.
Installer, Crankshaft Rear Oil Seal 303-516 (T95P-6701-EH)
GF0000316Courtesy of FORD MOTOR CO.
Installer, Crankshaft Rear Oil Seal 303-518 (T95P-6701-DH)
GF0000245Courtesy of FORD MOTOR CO.
Installer, Crankshaft Vibration Damper 303-102 (T74P-6316-B)
GF0000314Courtesy of FORD MOTOR CO.
Installer, Front Cover Oil Seal 303-335 (T88T-6701-A)
GF0000339Courtesy of FORD MOTOR CO.
Lifting Bracket, Engine 303-F047 (014-00073) or equivalent
GF0000330Courtesy of FORD MOTOR CO.
Locking Tool, Cam Phaser Sprocket 303-1046
GF0000345Courtesy of FORD MOTOR CO.
Remover/Installer, Cylinder Head 303-572 (T97T-6000-A)
Material

Item Specification
Hydraulic Chain Tensioner Retaining Clip
1L3Z-6P250-AA
-
Motorcraft Metal Surface Prep
ZC-31
-
Motorcraft Premium Gold Engine Coolant with Bittering Agent (US only)
VC-7-B (US); CVC-7-A (Canada); or equivalent (yellow color)
WSS-M97B51-A1
Motorcraft SAE 5W-20 Premium Synthetic Blend Motor Oil
XO-5W20-QSP (US); Motorcraft SAE 5W-20 Super Premium Motor Oil CXO-5W20-LSP12 (Canada); or equivalent
WSS-M2C930-A
Silicone Brake Caliper Grease and Dielectric Compound
XG-3-A
ESE-M1C171-A
Silicone Gasket and Sealant
TA-30
WSE-M4G323-A4
Silicone Gasket Remover
ZC-30
-
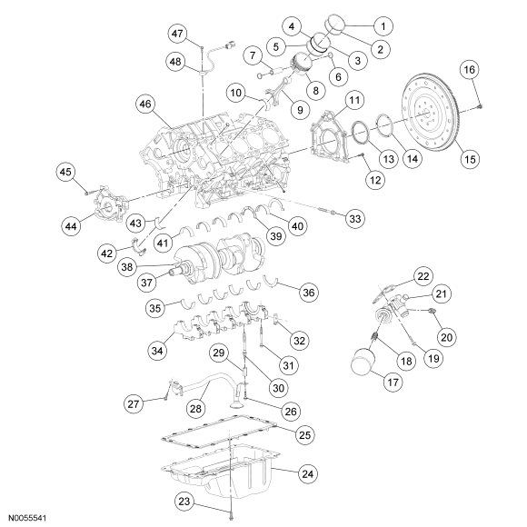
Fig 1: Exploded View Of Engine - Upper End
GF0022050Courtesy of FORD MOTOR CO.
Item Part Number Description
1 12B637 Engine wiring harness
2 6A505 Valve cover - LH
3 6750 Oil level indicator
4 N605892 Oil level indicator tube bolt
5 6K873 Oil level indicator tube
6 N807834 Camshaft bearing cap bolt (10 required)
7 6B280 Camshaft bearing cap (4 required)
8 6C255 Camshaft - LH
9 6529 Roller follower (24 required)
10 6518 Valve spring retainer key (48 required)
11 6514 Valve spring retainer (24 required)
12 6513 Valve spring (24 required)
13 6A517 Valve stem seal (24 required)
14 6C501 Hydraulic lash adjuster (24 required)
15 6279 Camshaft phaser sprocket bolt - LH
16 6C524 Camshaft phaser sprocket - LH
17 6B284 Camshaft bearing cap
18 12405 Spark plug (4 required)
19 12A366 Ignition coil (4 required)
20 6065 Cylinder head bolt (20 required)
21 W707747 Exhaust manifold stud (8 required)
22 9Y431 Exhaust manifold gaskets (2 required)
23 9431 Exhaust manifold - LH
24 W701706 Exhaust manifold nut (8 required)
25 6507 Intake valve (16 required)
26 6505 Exhaust valve (8 required)
27 6083 Cylinder head gasket - LH
28 W701520 Variable camshaft timing (VCT) oil control solenoid assembly bolt (2 required)
29 6C261 VCT oil control solenoid assembly
30 6050 Cylinder head - LH
31 14B102 Cylinder head temperature (CHT) sensor jumper harness
32 W701571 Heater outlet tube stud bolt
33 18663 Heater outlet tube
34 6051 Cylinder head gasket - RH
35 6049 Cylinder head - RH
36 9Y431 Exhaust manifold gasket (2 required)
37 9430 Exhaust manifold - RH
38 W701706 Exhaust manifold nut (8 required)
39 W707747 Exhaust manifold stud (8 required)
40 6C260 VCT oil control solenoid assembly
41 W701520 VCT oil control solenoid assembly bolt (2 required)
42 6279 Camshaft phaser sprocket bolt - RH
43 6C524 Camshaft phaser sprocket - RH
44 6B284 Camshaft bearing cap
45 N807834 Camshaft bearing cap bolt (10 required)
46 6B280 Camshaft bearing cap (4 required)
47 6251 Camshaft - RH
48 12405 Spark plug (4 required)
49 12A366 Ignition coil (4 required)
50 W706175 Ignition coil bolt (8 required)
51 6582 Valve cover - RH
52 6765 Oil fill adapter
53 6766 Oil fill adapter cap
54 6758 Crankcase ventilation tube
55 W503282 Coolant crossover tube bolt (3 required)
56 W503279 Thermostat housing bolt (2 required)
57 8594 Thermostat housing
58 N806807 Thermostat O-ring seal
59 8575 Thermostat
60 8C369 Coolant crossover tube
61 9A474 Intake manifold vacuum tube and support bracket
62 W709775 Intake manifold bolt (10 required)
63 9Y451 Intake manifold assembly
64 6K817 PCV tube
65 W500204 PCV heater element assembly bolt (2 required)
66 9F624 PCV heater element assembly
Fig 2: Exploded View Of Engine - Front End
GF0002800Courtesy of FORD MOTOR CO.
Item Part Number Description
1 N804758 Radio ignition interference capacitor nut
2 18801 Radio ignition interference capacitor
3 6C086 Engine front cover
4 W503282 Timing chain guide bolt- RH (2 required)
5 6L266 Timing chain tensioner - RH
6 N606543 Timing chain tensioner bolt - RH (2 required)
7 6268 Timing chain - RH
8 6M256 Timing chain guide - RH
9 N606543 Timing chain tensioner bolt - LH (2 required)
10 6M269 Timing chain tensioner - LH
11 6M274 Tensioner arm - LH
12 N605892 Timing chain guide upper bolt - LH
13 6306 Crankshaft sprocket
14 6B274 Timing chain guide - LH
15 N606527 Timing chain guide lower bolt - LH
16 6268 Timing chain - LH
17 6K255 Tensioner arm - RH
18 12A227 Ignition pulse wheel
19 W707225 Power steering pump stud bolt
20 W706447 Power steering pump bolt (2 required)
21 3A696 Power steering pump assembly
22 W706605 Engine front cover bolt
23 N808529 Engine front cover stud bolt (2 required)
24 N806177 Engine front cover bolt (9 required)
25 6C315 Crankshaft position (CKP) sensor
26 N806155 CKP sensor bolt
27 19A216 Accessory drive belt idler pulley
28 N808102 Accessory drive belt idler pulley bolt
29 6700 Crankshaft front seal
30 6316 Crankshaft pulley
31 N806165 Crankshaft pulley washer
32 W701512 Crankshaft pulley bolt
33 8A528 Coolant pump pulley
34 N806282 Coolant pump pulley bolt (4 required)
35 N808794 Coolant pump bolt (4 required)
36 8501 Coolant pump
37 N808102 Accessory drive belt idler pulley bolt
38 19A216 Accessory drive belt idler pulley
39 N806155 Camshaft position (CMP) sensor bolt (2 required)
40 6B288 CMP sensor (2 required)
41 W709573 Engine front cover stud bolt (3 required)
Fig 3: Exploded View Of Engine - Lower End
GF0022051Courtesy of FORD MOTOR CO.
Item Part Number Description
1 6150 Upper compression ring (8 required)
2 6152 Lower compression ring (8 required)
3 6159 Outer oil control ring (8 required)
4 6161 Inner oil control ring (8 required)
5 6159 Outer oil control ring (8 required)
6 6140 Piston pin retainer (16 required)
7 6135 Piston pin (8 required)
8 6110 Piston (8 required)
9 6200 Connecting rod assembly (8 required)
10 6211 Connecting rod bearing (8 required)
11 6K318 Crankshaft rear seal retainer plate
12 N806155 Crankshaft rear seal retainer plate bolt (6 required)
13 6310 Crankshaft rear seal
14 6701 Crankshaft oil slinger
15 6375 Flexplate
16 N806168 Flexplate bolt (8 required)
17 6714 Oil filter
18 6890 Oil filter threaded adapter
19 N806156 Oil filter adapter bolt (4 required)
20 9278 Engine oil pressure (EOP) switch
21 6881 Oil filter adapter
22 6A636 Oil filter adapter gasket
23 W701605 Oil pan bolt (16 required)
24 6675 Oil pan
25 6710 Oil pan gasket
26 N605904 Oil pump screen and pickup tube bolt
27 N806155 Oil pump screen and pickup tube bolt (2 required)
28 6622 Oil pump screen and pickup tube
29 N806180 Oil pump screen and pickup tube spacer
30 6K258 Crankshaft main bearing cap stud
31 6345 Crankshaft main bearing cap bolt (9 required)
32 6A346 Crankshaft main bearing dowel (10 required)
33 6C357 Crankshaft main bearing cap bolt (10 required)
34 6325 Crankshaft main bearing cap (5 required)
35 6A338 Crankshaft bearing - lower (5 required)
36 6K302 Crankshaft thrust washer - lower
37 6303 Crankshaft
38 N806201 Crankshaft key
39 6A341 Crankshaft thrust washer - upper (2 required)
40 6333 Crankshaft bearing - upper (4 required)
41 6W337 Crankshaft bearing - upper
42 6210 Connecting rod cap (8 required)
43 6211 Connecting rod bearing (8 required)
44 6621 Oil pump
45 N806183 Oil pump bolt (3 required)
46 6010 Cylinder block
47 W500225 Knock sensor (KS) bolt (2 required)
48 12A699 KS (2 required)
  1. Record the main bearing code found on the front of the engine block.
  2. Fig 4: Identifying Main Bearing Code Found On Front Of Engine Block
    G04583819Courtesy of FORD MOTOR CO.
  3. Record the main bearing code found on the back of the crankshaft.
  4. Fig 5: Identifying Main Bearing Code - Found On Back Of Crankshaft
    G03886015Courtesy of FORD MOTOR CO.
  5. Using the data recorded earlier and the Bearing Select Fit Chart, Standard Bearings, determine the required bearing grade for each main bearing.
    • Read the first letter of the engine block main bearing code and the first letter of the crankshaft main bearing code.
    • Read down the column below the engine block main bearing code letter, and across the row next to the crankshaft main bearing code letter, until the 2 intersect. This is the required bearing grade for the number one crankshaft main bearing.
    • As an example, if the engine block code letter is "F" and the crankshaft code letter is "D", the correct bearing grade for this main bearing is a "2".
    • Repeat this process for the remaining 4 main bearings.
  6. Fig 6: Bearing Select Fit Chart (Standard Bearings)
    G03886016Courtesy of FORD MOTOR CO.
  7. If oversize bearings are being used, use the procedure in the previous step and the Bearing Select Fit Chart, Oversize Bearings to determine the required bearing grade for each main bearing.
  8. Fig 7: Bearing Select Fit Chart (Oversize Bearings)
    G04583822Courtesy of FORD MOTOR CO.
    NOTE: Before assembling the cylinder block, all sealing surfaces must be free of chips, dirt, paint and foreign material. Also, make sure the coolant and oil passages are clear.
  9. Install the crankshaft upper main bearings into the cylinder block and lubricate them with clean engine oil.
  10. NOTE: The upper thrust washers are shown for location purposes only. Do not install the upper thrust washers until the crankshaft is installed. Refer to the following 2 steps.
  11. Install the crankshaft onto the upper crankshaft main bearings.
  12. Fig 8: Installing Crankshaft Onto Upper Crankshaft Main Bearings
    GF0002802Courtesy of FORD MOTOR CO.
    NOTE: The oil groove on the thrust washer must face toward the front of the engine (against the crankshaft thrust surface).
  13. Push the crankshaft rearward and install the rear crankshaft upper thrust washer at the back of the No. 5 main boss.
  14. Fig 9: Installing Rear Crankshaft Upper Thrust Washer
    GF0000612Courtesy of FORD MOTOR CO.
    NOTE: The oil groove on the thrust washer must face toward the front of the engine (against the crankshaft surface).
  15. Push the crankshaft forward and install the front crankshaft upper thrust washer at the front of the No. 5 main boss.
  16. Fig 10: Installing Front Crankshaft Upper Thrust Washer
    GF0002803Courtesy of FORD MOTOR CO.
    NOTE: To aid in assembly, apply petroleum jelly to the back of the crankshaft thrust washer.
    NOTE: The oil groove on the thrust washer must face toward the rear of the engine (crankshaft surface).
  17. Install the lower crankshaft thrust washer to the back side of the No. 5 main bearing cap, with oil grooves facing the crankshaft surface.
  18. Fig 11: Installing Lower Crankshaft Thrust Washer
    GF0002804Courtesy of FORD MOTOR CO.
  19. Install the crankshaft lower main bearings into the main bearing caps and lubricate them with clean engine oil. Locate the main bearing cap on the cylinder block and, keeping the cap as square as possible, alternately draw the cap down evenly using the cap fasteners.
  20. Install the dowel pins so the flat sides face the crankshaft.
  21. Fig 12: Installing Dowel Pins So Flat Sides Face Crankshaft
    GF0040924Courtesy of FORD MOTOR CO.
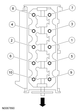
  22. Install the vertical main bearing cap fasteners and tighten in 2 stages, in the sequence shown.
    • Stage 1: Tighten to 40 Nm (30 lb-ft).
    • Stage 2: Tighten an additional 90 degrees.
  23. Fig 13: Tightening Main Bearing Cap Fasteners In Sequence
    GF0002806Courtesy of FORD MOTOR CO.
  24. Install the side bolts and tighten them in 2 stages, in the sequence shown.
    • Stage 1: Tighten to 30 Nm (22 lb-ft).
    • Stage 2: Tighten an additional 90 degrees.
  25. Fig 14: Tightening Side Bolts In Sequence
    GF0002807Courtesy of FORD MOTOR CO.
  26. Assemble the 8 pistons. For additional information, refer to Piston .
  27. Make sure the ring gaps (oil spacer-A, oil ring-B, compression ring-C) are correctly spaced around the circumference of the piston.
  28. Fig 15: Identifying Piston Ring Gap Positioning
    G03920387Courtesy of FORD MOTOR CO.
  29. Check the piston-to-cylinder block and piston ring clearances. For additional information, refer to ENGINE SYSTEM - GENERAL INFORMATION article.
  30. CAUTION: Do not scratch the cylinder walls or crankshaft journals with the connecting rod or engine damage may occur.
    NOTE: The following piston installation steps are for all 8 connecting rods, rod bearings and pistons. Only one connecting rod, rod bearing and piston is shown.
  31. Use the special tools to install the connecting rod with the upper connecting rod bearing in place.
    • Lubricate the piston and ring with clean engine oil
    • Lubricate the rod bearings with clean engine oil.
  32. Fig 16: Using Special Tools To Install Piston And Connecting Rod Assembly
    G03920388Courtesy of FORD MOTOR CO.
    CAUTION: Do not scratch the cylinder walls or crankshaft journals with the connecting rod or engine damage may occur.
  33. Once the connecting rod is seated on the crankshaft journal, remove the special tools.
  34. Fig 17: Identifying Special Tool (303-442)
    G03920389Courtesy of FORD MOTOR CO.
    CAUTION: The rod cap installation must keep the same orientation as marked during disassembly or engine damage may occur.
    NOTE: The connecting rod caps are of the "cracked" design and must mate with the connecting rod ends. Excessive bearing clearance will result if not mated correctly.
  35. Position the lower bearing and connecting rod, and install the new bolts loosely.
  36. NOTE: Main bearing caps are removed for clarity.
  37. Tighten the bolts in 2 stages, in the sequence shown.
    • Stage 1: Tighten to 43 Nm (32 lb-ft).
    • Stage 2: Tighten an additional 105 degrees.
  38. Fig 18: Identifying Connecting Rod Bearing Caps Tightening Sequence
    G03920390Courtesy of FORD MOTOR CO.
  39. Position the oil pump and install the bolts.
    • Tighten to 10 Nm (89 lb-in).
  40. Fig 19: Locating Oil Pump Bolts
    G04638972Courtesy of FORD MOTOR CO.
  41. Install the oil pump screen and pickup tube spacer.
    • Tighten to 25 Nm (18 lb-ft).
  42. Fig 20: Installing Oil Pump Screen And Pickup Tube Spacer
    GF0002808Courtesy of FORD MOTOR CO.
    CAUTION: Make sure the O-ring is in place and not damaged. A missing or damaged O-ring can cause foam in the lubrication system, low oil pressure and severe engine damage.
    NOTE: Clean and inspect the mating surfaces and install a new O-ring. Lubricate the O-ring with clean engine oil prior to installation.
  43. Position the oil pump screen and pickup tube and install the bolts.
    • Tighten the oil pump screen and pickup tube-to-oil pump bolts to 10 Nm (89 lb-in).
    • Tighten the oil pump screen and pickup tube-to-spacer bolt to 25 Nm (18 lb-ft).
  44. Fig 21: Positioning Oil Pump Screen, Pickup Tube And Installing Bolts
    GF0002809Courtesy of FORD MOTOR CO.
  45. Position the crankshaft using the special tool, the remove the tool.
  46. Fig 22: Positioning Crankshaft With Special Tool (303-448)
    G03919963Courtesy of FORD MOTOR CO.
    CAUTION: Make sure all coolant residue and foreign material are cleaned from the block surface and cylinder bore. Failure to follow these instructions may result in engine damage.
    CAUTION: The use of sealing aids (aviation cement, copper spray, and glue) is not permitted. The gasket must be installed dry. Failure to follow these instructions may result in engine damage
    CAUTION: The cylinder head bolts must be discarded and new bolts installed. They are a tighten-to-yield design and cannot be reused. Failure to follow these instructions may result in engine damage.
    NOTE: Do not turn the crankshaft until instructed to do so.
    NOTE: LH shown, RH similar.
  47. Using the special tools, position the cylinder head gaskets and cylinder heads over the dowels and install the cylinder head bolts loosely.
  48. Fig 23: Locating Cylinder Head And Gaskets Using Special Tool (303-1040)
    G03920395Courtesy of FORD MOTOR CO.
    NOTE: RH shown, LH similar.
  49. Tighten the bolts in 3 stages, in the sequence shown.
    • Stage 1: Tighten to 40 Nm (30 lb-ft).
    • Stage 2: Tighten an additional 90 degrees.
    • Stage 3: Tighten an additional 90 degrees.
  50. Fig 24: Tightening Bolts In 3 Stages In Sequence
    GF0040925Courtesy of FORD MOTOR CO.
  51. Remove the special tool from the LH cylinder head.
  52. Fig 25: Identifying Special Tool (303-572) LH Cylinder Head
    G03920258Courtesy of FORD MOTOR CO.
  53. Remove the special tool from the RH cylinder head.
  54. Fig 26: Identifying Special Tool (303-572) RH Cylinder Head
    G03920261Courtesy of FORD MOTOR CO.
    CAUTION: If the components are to be reinstalled, they must be installed in the same positions. Failure to follow these instructions may result in engine damage.
  55. Install the hydraulic lash adjusters into the RH and LH cylinder heads.
    • Lubricate the hydraulic lash adjusters with clean engine oil prior to installation.
  56. Fig 27: Identifying Hydraulic Lash Adjusters
    G03920399Courtesy of FORD MOTOR CO.
  57. Install the LH and RH camshafts.
    • Lubricate the camshaft and camshaft journals with clean engine oil prior to installation.
  58. NOTE: LH shown, RH similar.
  59. Install the LH and RH camshaft bearing caps in their original locations.
    • Lubricate the camshaft bearing caps with clean engine oil.
    • Position the front camshaft bearing cap.
    • Position the remaining camshaft bearing caps.
    • Install the bolts loosely.
    • Tighten to 10 Nm (89 lb-in) in the sequence shown.
  60. Fig 28: Identifying Camshaft Bearing Cap Bolt Loosening/Tightening Sequence
    G03919956Courtesy of FORD MOTOR CO.
    CAUTION: Damage to the variable camshaft timing (VCT) phaser sprocket assembly will occur if mishandled or used as a lifting or leveraging device.
    NOTE: LH shown, RH similar.
  61. Install the variable camshaft timing (VCT) phaser sprockets and new VCT phaser sprocket bolts finger tight.
  62. Fig 29: Identifying Camshaft Phaser And Sprocket Assembly Bolt
    G03919961Courtesy of FORD MOTOR CO.
    CAUTION: Damage to the variable camshaft timing (VCT) phaser sprocket assembly will occur if mishandled or used as a lifting or leveraging device.
    CAUTION: Only use hand tools to remove the variable camshaft timing (VCT) phaser sprocket assembly or damage may occur to the camshaft or VCT phaser sprocket.
    NOTE: LH shown, RH similar.
  63. Using the special tool, tighten the LH and RH VCT phaser sprocket bolts in 2 stages.
    • Stage 1: Tighten to 40 Nm (30 lb-ft).
    • Stage 2: Tighten an additional 90 degrees.
  64. Fig 30: Identifying Special Sprocket Phaser Tool
    G03919955Courtesy of FORD MOTOR CO.
    CAUTION: Timing chain procedures must be followed exactly or damage to valves and pistons will result.
    CAUTION: Prior to installation, inspect the tensioner-sealing bead for seal integrity. If cracks, tears, separation from the tensioner body or permanent compression of the seal bead is observed, install a new tensioner. Failure to follow these instructions may result in engine damage.
  65. Compress the tensioner plunger, using a vise.
  66. Fig 31: Compressing Tensioner Plunger
    G03885344Courtesy of FORD MOTOR CO.
  67. Install a retaining clip on the tensioner to hold the plunger in during installation.
  68. Fig 32: Identifying Retaining Clip on Tensioner
    G03881580Courtesy of FORD MOTOR CO.
  69. Remove the tensioner from the vise.
  70. If the copper links are not visible, mark 2 links on one end and 1 link on the other end, and use as timing marks.
  71. Fig 33: Locating Timing Chain Marks
    G03885317Courtesy of FORD MOTOR CO.
  72. Install the crankshaft sprocket, making sure the flange faces forward.
  73. Fig 34: Identifying Crankshaft Sprocket
    G03919967Courtesy of FORD MOTOR CO.
  74. Install the 4 bolts and the LH and RH timing chain guides.
    • Tighten to 10 Nm (89 lb-in).
  75. Fig 35: Identifying Timing Chain Guides
    G03933858Courtesy of FORD MOTOR CO.
  76. Position the lower end of the LH (inner) timing chain on the crankshaft sprocket, aligning the timing mark on the outer flange of the crankshaft sprocket with the single copper (marked) link on the chain.
  77. Fig 36: Aligning Crankshaft Sprocket Timing Mark And LH Timing Chain Link
    G03919969Courtesy of FORD MOTOR CO.
    NOTE: Make sure the upper half of the timing chain is below the tensioner arm dowel.
  78. Position the timing chain on the VCT phaser sprocket with the timing mark positioned between the 2 copper (marked) chain links.
  79. Fig 37: Identifying Copper Links Of Timing Chain On VCT Phaser Sprocket
    G03919970Courtesy of FORD MOTOR CO.
    NOTE: The LH timing chain tensioner arm has a bump near the dowel hole for identification.
  80. Position the LH timing chain tensioner arm on the dowel pin and install the LH timing chain tensioner and bolts.
    • Tighten to 25 Nm (18 lb-ft).
  81. Fig 38: Identifying LH Timing Chain Tensioner & Tensioner Arm
    G03919950Courtesy of FORD MOTOR CO.
  82. Remove the retaining clip from the LH timing chain tensioner.
  83. Fig 39: Identifying Retaining Clip And Timing Chain Tensioner
    G03881591Courtesy of FORD MOTOR CO.
  84. Position the lower end of the RH (outer) timing chain on the crankshaft sprocket, aligning the timing mark on the sprocket with the single copper (marked) chain link.
  85. Fig 40: Aligning Crankshaft Sprocket Timing Mark And RH Timing Chain Link
    G03919973Courtesy of FORD MOTOR CO.
    NOTE: The camshaft phaser and sprocket will be stamped with one of the illustrated timing marks for the RH camshaft.
  86. Position the RH timing chain on the VCT phaser sprocket with the timing mark positioned between the 2 copper (marked) chain links.
  87. Fig 41: Positioning RH Timing Chain On Camshaft Sprocket
    GF0002756Courtesy of FORD MOTOR CO.
  88. Position the RH timing chain tensioner arm on the dowel pin and install the RH timing chain tensioner and bolts.
    • Tighten to 25 Nm (18 lb-ft).
  89. Fig 42: Identifying RH Timing Chain Tensioner, Tensioner Arm And Bolts
    G03919951Courtesy of FORD MOTOR CO.
  90. Remove the retaining clip from the RH timing chain tensioner.
  91. Fig 43: Identifying Retaining Clip And Timing Chain Tensioner
    G03881591Courtesy of FORD MOTOR CO.
  92. As a post-check, verify correct alignment of all timing marks.
  93. Fig 44: Locating Timing Marks
    G06126287Courtesy of FORD MOTOR CO.
  94. Install the crankshaft sensor ring on the crankshaft.
  95. Fig 45: View Of Crankshaft Sensor Ring At Crankshaft
    G04583449Courtesy of FORD MOTOR CO.
    CAUTION: If the components are to be reinstalled, they must be installed in the same positions. Failure to follow these instructions may result in engine damage.
    NOTE: Do not allow the valve keepers to fall off of the valve or the valve may drop into the cylinder. If a valve drops into the cylinder, the cylinder head must be removed. For additional information, refer to Cylinder Head .
    NOTE: It may be necessary to push the valve down while compressing the spring.
  96. Using the special tool, install all of the camshaft roller followers.
    • Lubricate the camshaft roller followers with clean engine oil prior to installation.
  97. Fig 46: Compressing Spring Using Special Tool (303-1039)
    G03919948Courtesy of FORD MOTOR CO.
    CAUTION: Do not use metal scrapers, wire brushes, power abrasive discs or other abrasive means to clean the sealing surfaces. These tools cause scratches and gouges which make leak paths. Use a plastic scraping tool to remove all traces of old sealant.
    NOTE: If the engine front cover is not secured within 4 minutes, the sealant must be removed and the sealing area cleaned with silicone gasket remover and metal surface prep. Follow the directions on the packaging. Allow to dry until there is no sign of wetness, or 4 minutes, whichever is longer. Failure to follow this procedure can cause future oil leakage.
    NOTE: Make sure that the engine front cover gasket are in place on the engine front cover before installation.
  98. Apply a bead of silicone gasket and sealant along the cylinder head-to-cylinder block surface at the locations shown.
  99. Fig 47: Applying Bead Of Silicone Gasket And Sealant
    GF0002811Courtesy of FORD MOTOR CO.
  100. Install new engine front cover gaskets on the engine front cover. Position the engine front cover onto the dowels. Install the fasteners finger-tight.
  101. Fig 48: Installing Engine Front Cover Gasket
    GF0000367Courtesy of FORD MOTOR CO.
  102. Tighten the engine front cover fasteners in sequence in 2 stages.

    Stage 1: Tighten fasteners 1 through 15 to 25 Nm (18 lb-ft).

    Stage 2: Tighten fasteners 6 and 7 to 48 Nm (35 lb-ft).

    Item Part Number Description
    1 N806177 Bolt, Hex Flange Head Pilot, M8 x 1.25 x 50
    2 N806177 Bolt, Hex Flange Head Pilot, M8 x 1.25 x 50
    3 N806177 Bolt, Hex Flange Head Pilot, M8 x 1.25 x 50
    4 N806177 Bolt, Hex Flange Head Pilot, M8 x 1.25 x 50
    5 N806177 Bolts, Hex Flange Head Pilot, M8 x 1.25 x 50
    6 N808529 Stud, Hex Head Pilot, M10 x 1.5 x 1.5 x 103
    7 N808529 Stud, Hex Head Pilot, M10 x 1.5 x 1.5 x 103
    8 N806177 Bolt, Hex Flange Head Pilot, M8 x 1.25 x 50
    9 N806177 Bolt, Hex Flange Head Pilot, M8 x 1.25 x 50
    10 N806177 Bolt, Hex Flange Head Pilot, M8 x 1.25 x 50
    11 N806177 Bolt, Hex Flange Head Pilot, M8 x 1.25 x 50
    12 W709573 Stud and Washer, Hex Head Pilot, M8 x 1.25 x 1.25 x 94
    13 W709573 Stud and Washer, Hex Head Pilot, M8 x 1.25 x 1.25 x 94
    14 W709573 Stud and Washer, Hex Head Pilot, M8 x 1.25 x 1.25 x 94
    15 W706605 Bolt, Hex Head Pilot, M8 x 1.25 x 56
  103. Fig 49: Tightening Engine Front Cover In Sequence
    GF0002754Courtesy of FORD MOTOR CO.
    NOTE: Lubricate the O-ring seal with clean engine oil prior to installation.
  104. Install the LH camshaft position (CMP) sensor and the bolt.
    • Tighten to 10 Nm (89 lb-in).
  105. Fig 50: Locating LH CMP Sensor Bolt
    G03919989Courtesy of FORD MOTOR CO.
    NOTE: Lubricate the O-ring seal with clean engine oil prior to installation.
  106. Install the RH CMP sensor and the bolt.
    • Tighten to 10 Nm (89 lb-in).
  107. Fig 51: Locating Camshaft (CMP) Sensor Bolt
    G03920013Courtesy of FORD MOTOR CO.
    CAUTION: Do not rotate the coolant pump housing once the coolant pump has been positioned in the cylinder block. Damage to the O-ring seal will occur.
  108. Position the coolant pump and install the bolts loosely.
    • Lubricate the new O-ring seal using clean engine coolant and install the O-ring seal onto the coolant pump.
  109. Fig 52: Identifying Coolant Pump
    G03885759Courtesy of FORD MOTOR CO.
  110. Tighten the 4 coolant pump bolts.
    • Tighten to 25 Nm (18 lb-ft).
  111. Fig 53: Coolant Pump Bolts
    GF0000354Courtesy of FORD MOTOR CO.
  112. Lubricate the engine front cover and the crankshaft front seal inner lip with clean engine oil.
  113. Fig 54: Locating Crankshaft Front Seal
    G03881970Courtesy of FORD MOTOR CO.
  114. Using the special tools, install a new crankshaft front seal into the engine front cover.
  115. Fig 55: Installing Crankshaft Front Seal Using Special Tools (303-102, 303-335, 303-635)
    G03919891Courtesy of FORD MOTOR CO.
    NOTE: If not secured within 4 minutes, the sealant must be removed and the sealing area cleaned with silicone gasket remover and metal surface prep. Follow the directions on the packaging. Allow to dry until there is no sign of wetness, or 4 minutes, whichever is longer. Failure to follow this procedure can cause future oil leakage.
  116. Apply silicone gasket and sealant to the Woodruff key slot on the crankshaft pulley.
  117. Fig 56: Applying Silicone Gasket And Sealant To Woodruff Key Slot On Crankshaft Pulley
    G03919877Courtesy of FORD MOTOR CO.
  118. Use the special tool to install the crankshaft pulley.
  119. Fig 57: Using Special Tool (303-102) To Install Crankshaft Pulley
    G03920552Courtesy of FORD MOTOR CO.
  120. Tighten the new crankshaft pulley bolt in 4 stages.
    • Stage 1: Tighten to 90 Nm (66 lb-ft).
    • Stage 2: Loosen 360 degrees.
    • Stage 3: Tighten to 50 Nm (37 lb-ft).
    • Stage 4: Tighten an additional 90 degrees.
  121. Fig 58: Identifying Crankshaft Pulley Bolt Tightening Sequence
    GF0002723Courtesy of FORD MOTOR CO.
    NOTE: Lubricate the O-ring seal with clean engine oil prior to installation.
  122. Install the crankshaft position (CKP) sensor and the bolt.
    • Tighten to 10 Nm (89 lb-in).
  123. Fig 59: Locating Crankshaft Position (CKP) Sensor Bolt
    G03920231Courtesy of FORD MOTOR CO.
  124. Position the accessory drive belt tensioner and install the 3 bolts.
    • Tighten to 25 Nm (18 lb-ft).
  125. Fig 60: Identifying Accessory Drive Belt Tensioner Bolts
    G03920234Courtesy of FORD MOTOR CO.
  126. Install the 3 accessory drive belt idler pulleys, the coolant pump pulley and the 7 bolts.
    • Tighten to 25 Nm (18 lb-ft).
  127. Fig 61: Locating Coolant Pump Pulley And Accessory Drive Belt Idler Pulley Bolts
    G03933688Courtesy of FORD MOTOR CO.
    CAUTION: Do not use metal scrapers, wire brushes, power abrasive discs or other abrasive means to clean the sealing surfaces. These tools cause scratches and gouges which make leak paths. Use a plastic scraping tool to remove all traces of old sealant.
    NOTE: Clean and inspect the mating surfaces, and install a new gasket.
  128. Position the oil filter adapter and install the 4 bolts.
    • Tighten to 25 Nm (18 lb-ft).
  129. Fig 62: Locating Oil Filter Adapter Bolts
    GF0002693Courtesy of FORD MOTOR CO.
    NOTE: LH shown, RH similar.
  130. Install 16 new exhaust manifold studs.
    • Tighten to 12 Nm (9 lb-ft).
  131. Fig 63: Locating LH Exhaust Manifold-To-Cylinder Head Studs
    GF0002793Courtesy of FORD MOTOR CO.
  132. Position a new gasket, the LH exhaust manifold and tighten the 8 nuts in the sequence shown.
    • Tighten to 25 Nm (18 lb-ft).
  133. Fig 64: Identifying Tightening Sequence Of LH Exhaust Manifold Bolts
    GF0002767Courtesy of FORD MOTOR CO.
  134. Position the exhaust manifold heat shield and install the 3 bolts.
    • Tighten to 10 Nm (89 lb-in).
  135. Fig 65: Exhaust Manifold Heat Shield Bolts
    GF0022045Courtesy of FORD MOTOR CO.
  136. Position the LH engine support insulator-to-cylinder block bracket and install the 3 bolts.
    • Tighten to 63 Nm (46 lb-ft).
  137. Fig 66: Left Engine Support Insulator-To-Cylinder Block Bracket Bolts
    GF0022048Courtesy of FORD MOTOR CO.
  138. Position a new gasket, the RH exhaust manifold and tighten the 8 nuts in the sequence shown.
    • Tighten to 25 Nm (18 lb-ft).
  139. Fig 67: Identifying RH Exhaust Manifold Nuts Tightening Sequence
    GF0002770Courtesy of FORD MOTOR CO.
  140. Position the RH engine support insulator-to-cylinder block bracket and install the 3 bolts.
    • Tighten to 63 Nm (46 lb-ft).
  141. Fig 68: Right Engine Support Insulator Bracket Bolts
    GF0022044Courtesy of FORD MOTOR CO.
    CAUTION: Do not use metal scrapers, wire brushes, power abrasive discs or other abrasive means to clean sealing surfaces. These tools cause scratches and gouges which make leak paths. Use a plastic scraping tool to remove all traces of old sealant.
  142. Clean the valve cover mating surface with silicone gasket remover and metal surface prep. Follow the directions on the packaging.
  143. NOTE: If not secured within 4 minutes, the sealant must be removed and the sealing area cleaned with silicone gasket remover and metal surface prep. Follow the directions on the packaging. Allow to dry until there is no sign of wetness, or 4 minutes, whichever is longer. Failure to follow this procedure can cause future oil leakage.
  144. Apply silicone gasket and sealant in 2 places where the engine front cover meets the cylinder head.
  145. Fig 69: Applying Bead Of Silicone Gasket And Sealant In 2 Places Where Engine Front Cover Meets Cylinder Head
    G03919863Courtesy of FORD MOTOR CO.
    CAUTION: When installing the valve cover, make sure to avoid damaging the variable camshaft timing (VCT) solenoid.
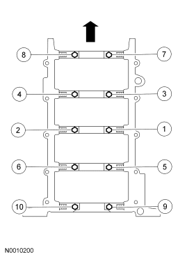
  146. Position the RH valve cover and gasket on the cylinder head and tighten the bolts in the sequence shown.
    • Tighten to 10 Nm (89 lb-in).
  147. Fig 70: Tightening RH Valve Cover In Sequence
    GF0002740Courtesy of FORD MOTOR CO.
    CAUTION: Do not use metal scrapers, wire brushes, power abrasive discs or other abrasive means to clean sealing surfaces. These tools cause scratches and gouges which make leak paths. Use a plastic scraping tool to remove all traces of old sealant.
  148. Clean the valve cover mating surface with silicone gasket remover and metal surface prep. Follow the directions on the packaging.
  149. NOTE: If not secured within 4 minutes, the sealant must be removed and the sealing area cleaned with silicone gasket remover and metal surface prep. Follow the directions on the packaging. Allow to dry until there is no sign of wetness, or 4 minutes, whichever is longer. Failure to follow this procedure can cause future oil leakage.
  150. Apply silicone gasket and sealant in 2 places where the engine front cover meets the cylinder head.
  151. Fig 71: Applying Bead Of Silicone Gasket And Sealant In 2 Places Where Engine Front Cover Meets Cylinder Head
    G03919870Courtesy of FORD MOTOR CO.
    CAUTION: When installing the valve cover, make sure to avoid damaging the variable camshaft timing (VCT) solenoid.
  152. Position the LH valve cover and gasket on the cylinder head and tighten the bolts in the sequence shown.
    • Tighten to 10 Nm (89 lb-in).
  153. Fig 72: Tightening LH Valve Cover In Sequence
    GF0002744Courtesy of FORD MOTOR CO.
  154. Install the oil level indicator tube and the bolt.
    • Install a new O-ring seal and lubricate the O-ring seal with clean engine oil prior to installation.
    • Tighten to 10 Nm (89 lb-in).
  155. Fig 73: Locating Oil Level Indicator Tube Bolt
    GF0002790Courtesy of FORD MOTOR CO.
    NOTE: Do not reuse the O-ring seals.
    NOTE: Lubricate the O-ring seals with clean engine coolant prior to installation.
  156. Slide the coolant tube forward with the new O-ring seals into the cylinder block.
  157. Fig 74: Sliding Coolant Tube Forward With O-Ring Seals Into Cylinder Block
    GF0000368Courtesy of FORD MOTOR CO.
  158. Install the coolant tube stud bolt.
    • Tighten to 10 Nm (89 lb-in).
  159. Fig 75: Identifying Coolant Tube Stud Bolt
    G03920263Courtesy of FORD MOTOR CO.
  160. Install the 2 knock sensors (KS) and the bolts.
    • Tighten to 20 Nm (15 lb-ft).
  161. Fig 76: Identifying Knock Sensors (KS)
    G03920293Courtesy of FORD MOTOR CO.
  162. Position the electrical harness on the engine assembly and connect the engine wiring harness retainers to the valve cover studs.
  163. NOTE: Verify that the ignition coil spring is correctly located inside the ignition coil boot and that there is no damage to the tip of the boot.
    NOTE: LH shown, RH similar.
  164. Install the 8 ignition coils and the 8 bolts.
    • Apply a light coat of dielectric compound to the inside of the ignition coil boots prior to installation.
    • Tighten to 6 Nm (53 lb-in).
  165. Fig 77: Identifying Ignition Coils And Bolts
    G03920226Courtesy of FORD MOTOR CO.
  166. Install the LH radio ignition interference capacitor and the nut.
    • Tighten to 25 Nm (18 lb-ft).
  167. Fig 78: Identifying LH Radio Ignition Interference Capacitor And Stud Bolt
    G03920225Courtesy of FORD MOTOR CO.
  168. Connect the 2 engine wiring harness retainers to the LH valve cover studs.
  169. Fig 79: Locating Engine Wiring Harness Retainers
    GF0015230Courtesy of FORD MOTOR CO.
  170. Connect the cylinder head temperature (CHT) sensor electrical connector.
  171. Fig 80: Locating Cylinder Head Temperature (CHT) Sensor Electrical Connector
    G03920224Courtesy of FORD MOTOR CO.
  172. Connect the 4 RH ignition coil electrical connectors.
  173. Fig 81: Locating Ignition Coil Electrical Connectors
    G03920223Courtesy of FORD MOTOR CO.
  174. Connect the electrical connector retainer to the coolant tube.
  175. Fig 82: Locating Electrical Connector Retainer At Coolant Tube Support Bracket
    G03919850Courtesy of FORD MOTOR CO.
  176. Connect the 2 engine wiring harness retainers from the RH valve cover studs.
  177. Fig 83: Locating Engine Wiring Harness Retainers At RH Valve Cover
    G03920221Courtesy of FORD MOTOR CO.
    NOTE: RH shown, LH similar.
  178. Connect the RH and LH VCT solenoid electrical connector.
  179. Fig 84: Locating Camshaft Timing (VCT) Solenoid Electrical Connectors
    G03920220Courtesy of FORD MOTOR CO.
  180. Install the RH radio ignition interference capacitor and the nut.
    • Tighten to 25 Nm (18 lb-ft).
  181. Fig 85: Identifying RH Radio Ignition Interference Capacitor Stud Bolt
    G03920219Courtesy of FORD MOTOR CO.
    NOTE: RH shown, LH similar.
  182. Disconnect the RH and LH CMP sensor electrical connectors.
  183. Fig 86: Identifying RH CMP Sensor Electrical Connector
    G03919909Courtesy of FORD MOTOR CO.
  184. Connect the 2 coolant hoses to the oil filter adapter.
  185. Fig 87: Coolant Hoses At Oil Filter Adapter
    GF0022047Courtesy of FORD MOTOR CO.
  186. Install the special tool.
  187. Fig 88: Identifying Special Tool (303-F047)
    G03920205Courtesy of FORD MOTOR CO.
  188. Using a suitable floor crane, remove the engine from the engine stand.
  189. CAUTION: Do not use metal scrapers, wire brushes, power abrasive discs or other abrasive means to clean the aluminum retainer plate. These tools cause scratches and gouges, which make leak paths. Use a plastic scraping tool to remove all traces of old sealant.
  190. Inspect the crankshaft rear seal retainer plate. Clean the mating surface for the rear seal retainer plate with silicone gasket remover and metal surface prep. Follow the directions on the packaging.
  191. NOTE: If not secured within 4 minutes, the sealant must be removed and the sealing area cleaned with silicone gasket remover and metal surface prep. Follow the directions on the packaging. Allow to dry until there is no sign of wetness, or 4 minutes, whichever is longer. Failure to follow this procedure can cause future oil leakage.
  192. Apply a 4 mm (0.16 in) bead of silicone gasket and sealant around the crankshaft rear seal retainer sealing surface.
  193. Fig 89: Applying Sealant Around Crankshaft Rear Seal Retainer Plate Sealing Surface
    GF0002781Courtesy of FORD MOTOR CO.
  194. Install the crankshaft rear seal retainer plate and loosely install the 6 bolts.
  195. Fig 90: Locating Crankshaft Rear Seal Retainer Plate Bolts
    GF0000369Courtesy of FORD MOTOR CO.
  196. Tighten the bolts in the sequence shown.
    • Tighten to 10 Nm (89 lb-in).
  197. Fig 91: Tightening Bolts In Sequence
    GF0002812Courtesy of FORD MOTOR CO.
    CAUTION: Do not use metal scrapers, wire brushes, power abrasive discs or other abrasive means to clean the sealing surfaces. These tools cause scratches and gouges, which make leak paths. Use a plastic scraping tool to remove all traces of old sealant.
  198. Inspect the oil pan. Clean the mating surface for the oil pan with silicone gasket remover and metal surface prep. Follow the directions on the packaging.
  199. NOTE: If not secured within 4 minutes, the sealant must be removed and the sealing area cleaned with silicone gasket remover and metal surface prep. Follow the directions on the packaging. Allow to dry until there is no sign of wetness, or 4 minutes, whichever is longer. Failure to follow this procedure can cause future oil leakage.
  200. Apply silicone gasket and sealant at the crankshaft rear seal retainer plate-to-cylinder block sealing surface.
  201. Fig 92: Applying Silicone Gasket And Sealant
    GF0000322Courtesy of FORD MOTOR CO.
    NOTE: If not secured within 4 minutes, the sealant must be removed and the sealing area cleaned with silicone gasket remover and metal surface prep. Follow the directions on the packaging. Allow to dry until there is no sign of wetness, or 4 minutes, whichever is longer. Failure to follow this procedure can cause future oil leakage.
  202. Apply silicone gasket and sealant at the engine front cover-to-cylinder block sealing surface.
  203. Fig 93: Applying Sealant At Engine Front Cover-To-Cylinder Block Mating Surface
    G03920465Courtesy of FORD MOTOR CO.
  204. Install the oil pan gasket and the oil pan and loosely install the bolts.
  205. Fig 94: Positioning New Oil Pan Gasket And Oil Pan
    GF0000323Courtesy of FORD MOTOR CO.
  206. Tighten the bolts in 3 stages, in the sequence shown.
    • Stage 1: Tighten to 2 Nm (18 lb-in).
    • Stage 2: Tighten to 20 Nm (15 lb-ft).
    • Stage 3: Tighten an additional 60 degrees.
  207. Fig 95: Identifying Oil Pan Bolt Tightening Sequence
    G03920110Courtesy of FORD MOTOR CO.
    NOTE: Lubricate the inner lip of the crankshaft rear seal with clean engine oil.
  208. Using the special tools, install a new crankshaft rear seal.
  209. Fig 96: Using Special Tools (303-516, 303-518) To Install New Crankshaft Rear Seal
    G04583928Courtesy of FORD MOTOR CO.
  210. Using the special tools, install a new crankshaft rear oil slinger.
  211. Fig 97: Installing Crankshaft Rear Oil Slinger Using Special Tools
    G03920154Courtesy of FORD MOTOR CO.
  212. Install the flexplate and the 8 bolts in the sequence shown.
    • Tighten to 80 Nm (59 lb-ft).
  213. Fig 98: Identifying Tightening Sequence For Flexplate Or Flywheel Bolts
    G03920141Courtesy of FORD MOTOR CO.