lemon-mirror:
Home >> Mazda >> 1972 >> 616 >> Repair and Diagnosis >> Engine Performance >> Fuel Delivery >> Electric Fuel Pumps >> Testing >> Checking Switch Contact Gap

Checking Switch Contact Gap

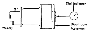
  1. After installing switch to body, measure diaphragm shaft movement with a suitable dial indicator while noting when switch contacts make and break. Set the dial indicator and depress and release diaphragm. The specified switching position is 0.02 - 0.04" (0.5 - 1 mm) from each stroke end. If switch position deviates from the specified, adjust as follows:
  2. If points open too early and close too late, decrease thickness of adjusting washer located between diaphragm shaft and lever. If switch opens too late and closes too early, increase washer thickness. Washers in the following sizes are available: 0.010" and 0.024" (0.25 mm and 0.6 mm).
  3. If points open earlier than the standard, bend upper stopper upward. If points open too late, bend it downward. If points close later than standard, bend lower stopper upward. If points close too early, bend lower stopper downward. Adjustment by upper and lower stoppers requires that both stoppers be bent at the same time. Point gap should be 0.04" (1 mm).
Fig 1: Checking Switch
G09313702Courtesy of MAZDA MOTORS CORP.
Fig 2: Adjusting Point Gap
G09313703Courtesy of MAZDA MOTORS CORP.