lemon-mirror:
Home >> Mazda >> 1982 >> RX-7 S >> Repair and Diagnosis >> Engine Performance >> Engine Control Systems >> Idle Compensation System >> Testing >> Air Conditioner Relay >> Man. Trans. Only

Man. Trans. Only

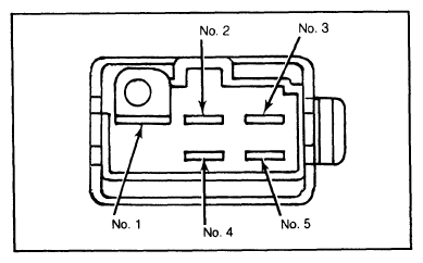
  1. Disconnect electrical connector from air conditioner relay. Using an ohmmeter, check continuity between terminals.
  2. With engine off and no power applied, there should be continuity between No. 1 and No. 5. There should be no continuity between No. 1 and No. 3.
  3. Connect a wire from battery positive post to terminal No. 2 and battery negative post to terminal No. 4. There should be continuity between No. 1 and No. 3. There should be no continuity between No. 1 and No. 5.
Fig 1: Air Conditioner Relay Terminals (Manual Transmission Only)
G09323268Courtesy of MAZDA MOTORS CORP.