lemon-mirror:
Home >> Mazda >> 1983 >> RX-7 GSL, Automatic >> Repair and Diagnosis >> Engine Performance >> System >> Auxiliary Control Device >> Component Testing >> Choke Relay

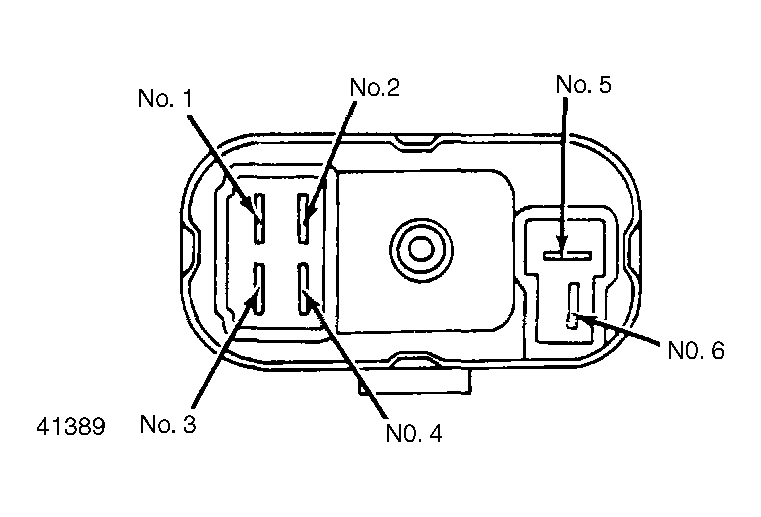
Choke Relay

  1. Disconnect coupler from relay. With engine off and no power applied, check continuity of terminals.
  2. There should be continuity between No. 1 and No. 2. There should be no continuity between No. 3 and No. 4.
  3. Connect a wire from battery positive post to terminal No. 6 and battery negative post to terminal No. 5. There should be continuity between No. 3 and No. 4. There should be no continuity between No. 1 and No. 2.
Fig 1: Choke Relay Terminal Locations
G41389