lemon-mirror:
Home >> Mazda >> 1983 >> RX-7 GSL, Automatic >> Repair and Diagnosis >> Engine Performance >> System >> Idle Compensation System >> Component Testing >> Air Conditioner Relay >> Vehicles With M/T

Vehicles With M/T

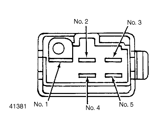
  1. Disconnect electrical connector from air conditioner relay. Using an ohmmeter, check continuity between terminals.
  2. With engine off and no power applied, there should be continuity between No. 1 and No. 5. There should be no continuity between No. 1 and No. 3.
  3. Connect a wire from battery positive post to terminal No. 2 and battery negative post to terminal No. 4. There should be continuity between No. 1 and No. 3. There should be no continuity between No. 1 and No. 5.
Fig 1: Air Conditioner Relay Terminals (Vehicles With M/T)
G41381