lemon-mirror:
Home >> Mazda >> 1986 >> RX-7 Base, Automatic >> Repair and Diagnosis >> Engine Performance >> System >> Hot Start Assist System >> System Testing >> Hot Start Assist Relay

Hot Start Assist Relay

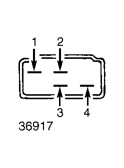
Disconnect electrical connector from hot start relay. Using an ohmmeter, check continuity between the No. 1 and No. 4 terminals. Continuity should exist without power applied. Continuity should not exist when power is applied to No. 2 (positive) and No. 3 (negative) without power applied.

Fig 1: Hot Start Assist Relay Terminal Numbering
G36917