lemon-mirror:
Home >> Mazda >> 1990 >> MX-5 Miata Automatic >> Repair and Diagnosis >> Maintenance >> Procedures >> Maintenance Information >> Service Point Locations

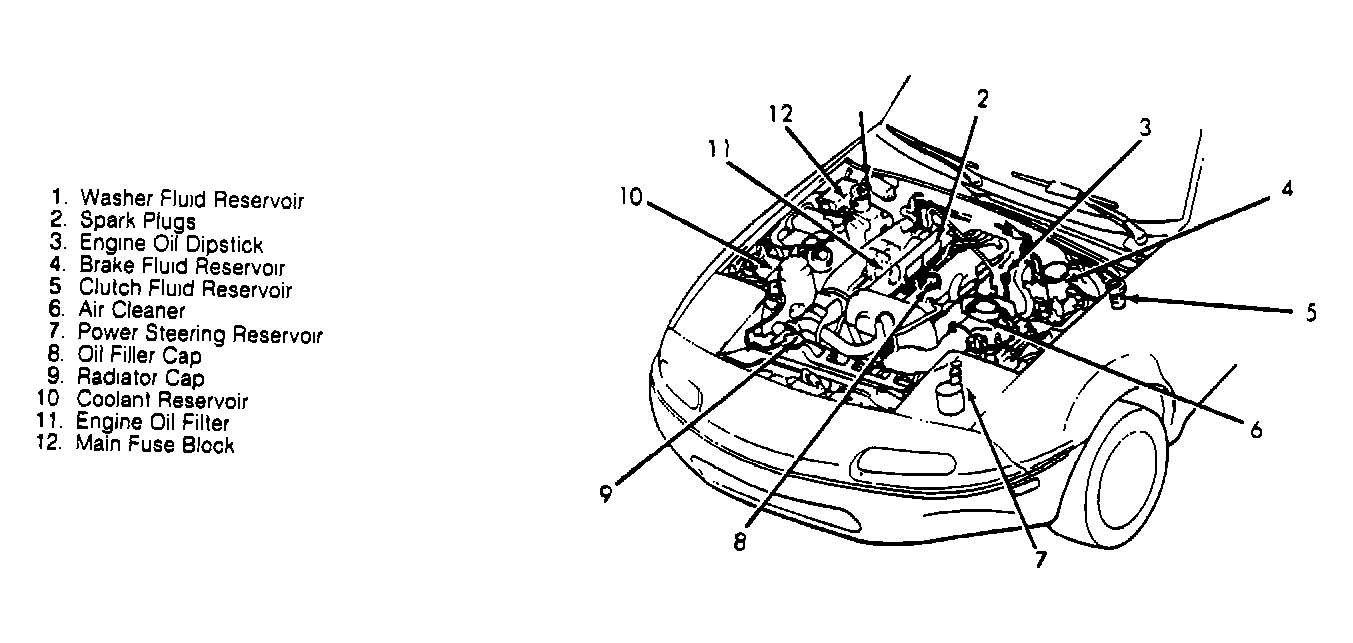
Service Point Locations

Fig 1: Service Point Locations
G90D01195Courtesy of MAZDA MOTOR OF AMERICA, INC.