lemon-mirror:
Home >> Mazda >> 1993 >> 626 ES, Automatic >> Repair and Diagnosis >> Engine Performance >> System >> Engine Controls - Tests W/Codes - 2.5L >> Trouble Code Identification >> Code 8: (Airflow Sensor)

Code 8: (Airflow Sensor)

Fig 1: Trouble Code No. 8 - Diagnostic Flowchart
G93J80415Courtesy of MAZDA MOTORS CORP.
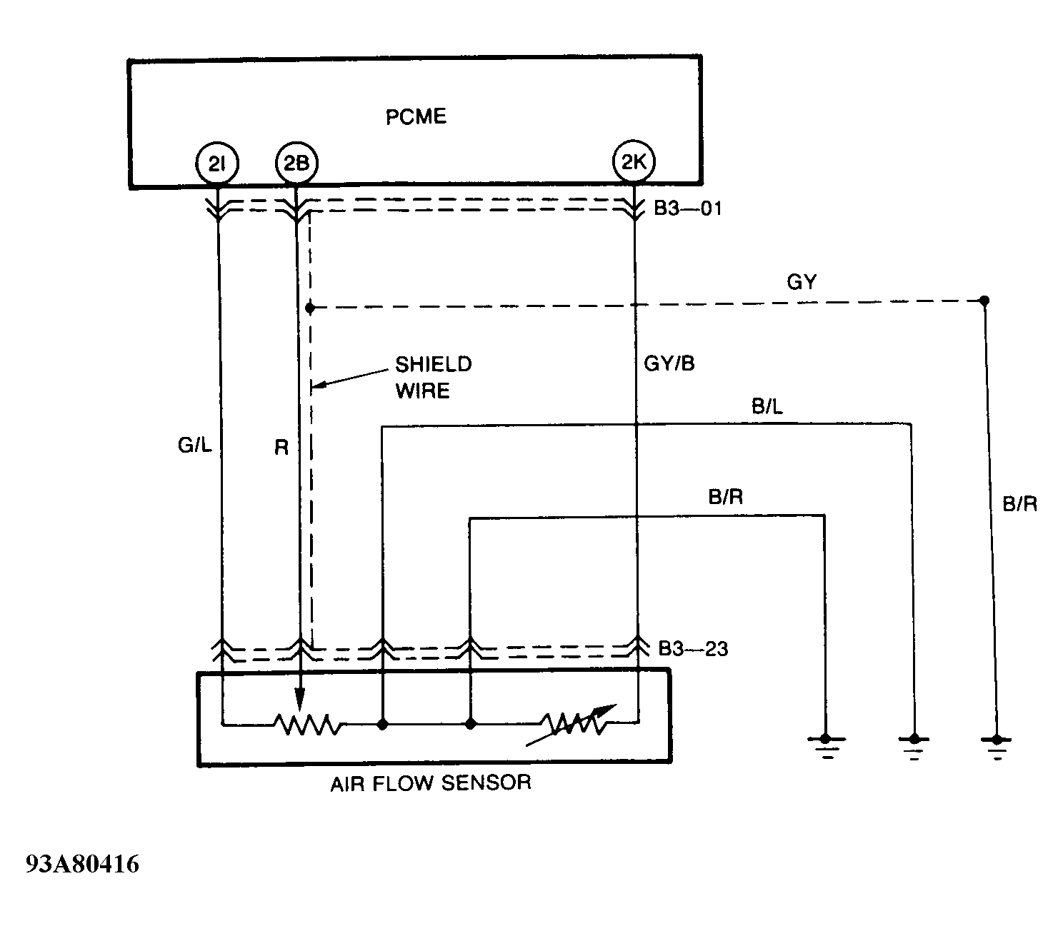
Fig 2: Trouble Code No. 8 - Schematic
G93A80416Courtesy of MAZDA MOTORS CORP.