lemon-mirror:
Home >> Mazda >> 1993 >> RX-7 Automatic >> Repair and Diagnosis >> Engine Performance >> System >> Engine Controls - Tests W/Codes >> Trouble Code Identification >> Code 2: (Crank Angle Sensor - Ne Sensor)

Code 2: (Crank Angle Sensor - Ne Sensor)

Fig 1: Trouble Code No. 2 - Diagnostic Flowchart
G93B80607Courtesy of MAZDA MOTORS CORP.
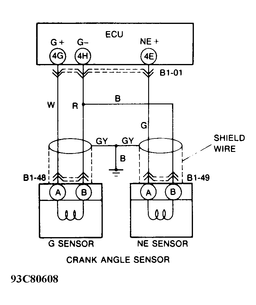
Fig 2: Trouble Code No. 2 - Schematic
G93C80608Courtesy of MAZDA MOTORS CORP.