lemon-mirror:
Home >> Mazda >> 1993 >> RX-7 Automatic >> Repair and Diagnosis >> Engine Performance >> System >> Engine Controls - Tests W/Codes >> Trouble Code Identification >> Code 20: (Metering Oil Pump Position Sensor)

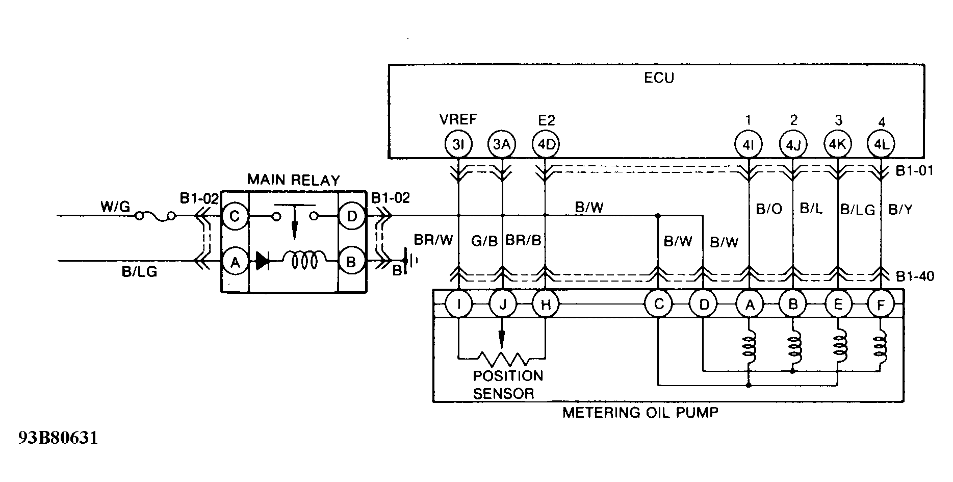
Code 20: (Metering Oil Pump Position Sensor)

Fig 1: Trouble Code No. 20 - Diagnostic Flowchart
G93A80630Courtesy of MAZDA MOTORS CORP.
Fig 2: Trouble Code No. 20 - Schematic
G93B80631Courtesy of MAZDA MOTORS CORP.