lemon-mirror:
Home >> Mazda >> 1993 >> RX-7 Automatic >> Repair and Diagnosis >> Engine Performance >> System >> Engine Controls - Tests W/Codes >> Trouble Code Identification >> Code 23: (Fuel THERMOSENSOR)

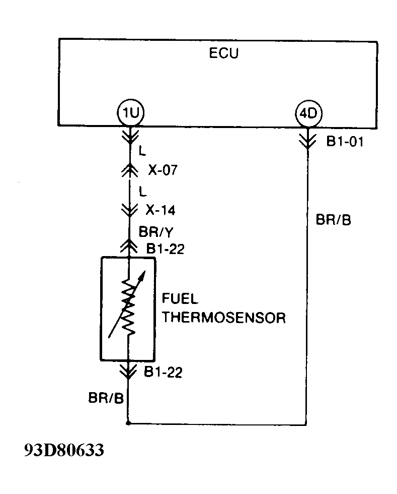
Code 23: (Fuel THERMOSENSOR)

Fig 1: Trouble Code No. 23 - Diagnostic Flowchart
G93C80632Courtesy of MAZDA MOTORS CORP.
Fig 2: Trouble Code No. 23 - Schematic
G93D80633Courtesy of MAZDA MOTORS CORP.