lemon-mirror:
Home >> Mazda >> 1993 >> RX-7 Automatic >> Repair and Diagnosis >> Engine Performance >> System >> Engine Controls - Tests W/Codes >> Trouble Code Identification >> Code 76: (Slip Lock-Up Off Signal)

Code 76: (Slip Lock-Up Off Signal)

Fig 1: Trouble Code No. 76 - Diagnostic Flowchart
G93F80676Courtesy of MAZDA MOTORS CORP.
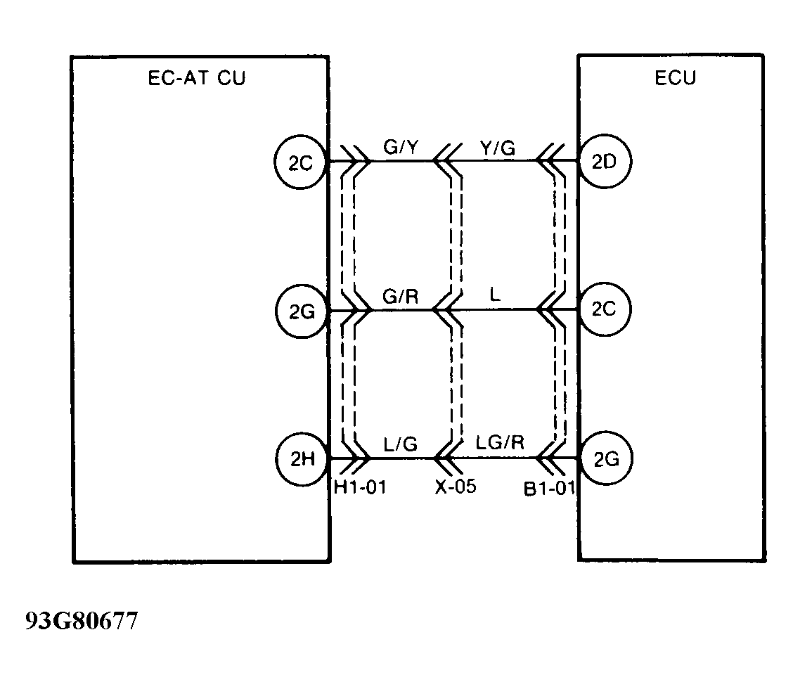
Fig 2: Trouble Code No. 76 - Schematic
G93G80677Courtesy of MAZDA MOTORS CORP.