lemon-mirror:
Home >> Mazda >> 1994 >> 929 >> Repair and Diagnosis >> Body & Frame >> Power Windows >> Component Testing >> Main Switch

Main Switch

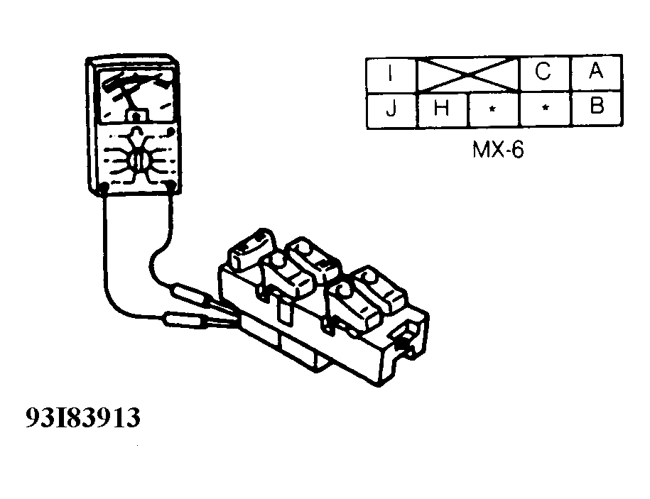
Check continuity across specified terminals of main switch connector with main switch button held in specified position. See MAIN SWITCH CONTINUITY TEST  . SeeFig 1 and Fig 2 . Replace main switch if continuity is not as specified.

MAIN SWITCH CONTINUITY TEST

Switch Position (1) Terminals
Driver
UP A & L; J & H
DOWN A & J; L & H
One-Touch DOWN A & J; L & H
Off (Neutral) J, L & H
Passenger
UP A & D; H & B
DOWN A & B; H & D
Off (Neutral) H, B & D
Right Rear
UP A & E; C & H
DOWN A & C; E & H
Off (Neutral) C, E & H
Left Rear
UP A & K; H & I
DOWN A & I; H & K
Off (Neutral) H, I & K
(1) Ensure power cut switch is in ON position.
Fig 1: Main Switch Connector Terminal ID - 1 Of 2 (929)
G93I83913Courtesy of MAZDA MOTORS CORP.
Fig 2: Main Switch Connector Terminal ID - 2 Of 2 (929)
G93J83914Courtesy of MAZDA MOTORS CORP.