lemon-mirror:
Home >> Mazda >> 1995 >> MX-5 Miata Base, Automatic >> Repair and Diagnosis >> Engine Performance >> System >> Engine Controls - Tests W/Codes >> Trouble Code Charts >> Code 10: Intake Air Temperature Sensor

Code 10: Intake Air Temperature Sensor

Fig 1: Trouble Code No. 10 Intake Air Temperature Sensor
G95I31482
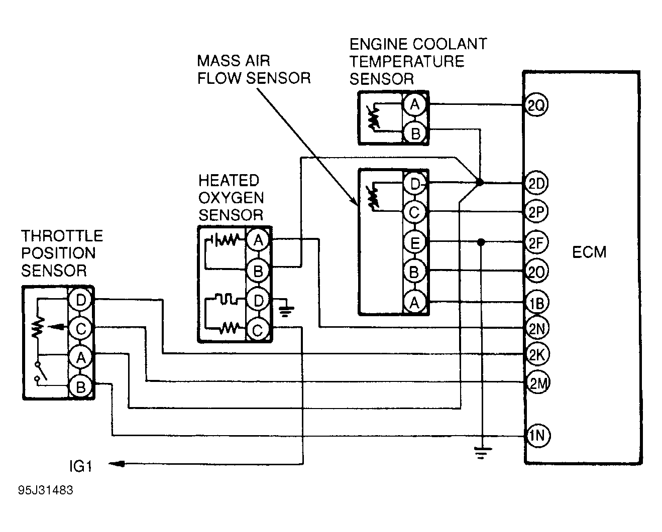
Fig 2: Trouble Code No. 10 Throttle Position Sensor, Mass Air Flow Sensor & Engine Coolant Temperature Sensor Circuit Diagram
G95J31483