lemon-mirror:
Home >> Mazda >> 2000 >> MPV DX >> Repair and Diagnosis (Single Page) >> Body & Frame >> Door Locks >> Security & Locks >> Programming >> Code Word Input Procedure >> Notes

Code Word Input Procedure: Notes

NOTE:
  • A code word is composed of eight digits from 1-9 and is part of the immobilizer unit from the manufacturer. Each unit has its own code word. To obtain the code word, you need to have the immobilizer serial number, then ask the distributor.
  • To input the code word into the PCM, turn the ignition key and count the number of flashes of the security light. The calculation of the number of flashes of the security light comes with the timing of the turning of the key.
  1. Wait for 5 minutes  until security light flashes slowly. (From 300 ms  ON - 300 ms  OFF to 1.2 s  ON - 1.2 s  OFF.
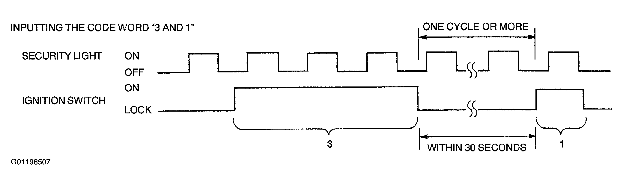
  2. Input the code word as shown in the example below.
    Fig 1: Illustration Of Cycles
    G01196507
    1. Turn ignition switch to ON position while security light is off and count three illumination cycles. As the light goes out after the third illumination, turn key to LOCK position.
    2. Wait at least one illumination cycle and within 30 seconds  of going to LOCK position, turn ignition switch to ON position while security light is off and count one illumination cycle. As the light goes out after the first illumination, turn key to LOCK position.
    3. Repeat Step ( 2 ) for rest of six digits.
  3. When code word is registered correctly in the PCM, the security light stops flashing and illuminates.
  4. As soon as the security light stops flashing and illuminates, the following immobilizer system reprogram procedure should be started.
NOTE:
  • If the code word is not input correctly, the security light goes out after all eight digits are input. In this case, perform the "Code Word Input Error Recovery Procedure". See CODE WORD INPUT ERROR RECOVERY PROCEDURE  .