lemon-mirror:
Home >> Mazda >> 2000 >> MPV DX >> Repair and Diagnosis >> External Pages >> Different car >> Section 516 (Entertainment System) >> Accessory Socket Removal/Installation >> Cap Removal Note

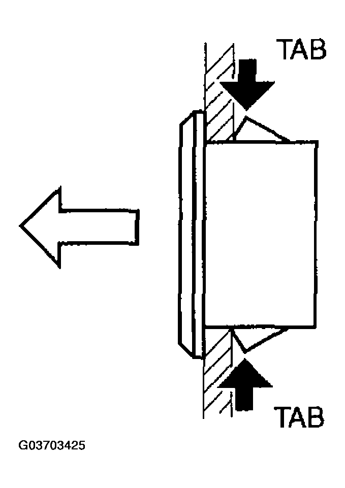
Cap Removal Note

WARNING: This page is about a different car, the 2005 Mazda RX-8. However, it is still accessible from the selected car via links, so may be relevant.
  1. While pressing the tabs, pull the cap outwards.
    Fig 1: Pulling Cap
    G03703425Courtesy of MAZDA MOTORS CORP.