lemon-mirror:
Home >> Mazda >> 2000 >> MPV DX >> Repair and Diagnosis >> External Pages >> Different car >> Section 568 (Entertainment System) >> Lower Module Removal/Installation >> Notes

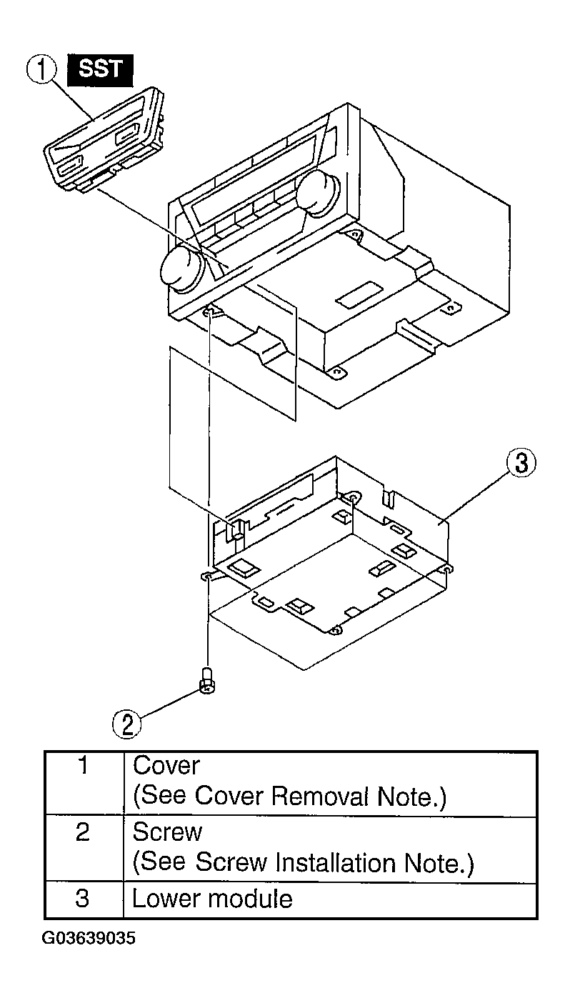
Lower Module Removal/Installation: Notes

WARNING: This page is about a different car, the 2005 Mazda MX-5 Miata. However, it is still accessible from the selected car via links, so may be relevant.
  1. Disconnect the negative battery cable.
  2. Remove the audio unit. (See AUDIO UNIT REMOVAL .)
  3. Remove in the order indicated in the table.
    Fig 1: Removing Lower Module
    G03639035Courtesy of MAZDA MOTORS CORP.
  4. Install in the order of removal.