lemon-mirror:
Home >> Mazda >> 2000 >> Protege DX, Standard >> Repair and Diagnosis >> External Pages >> Different car >> Section 249 (Lighting System) >> Headlight Leveling Switch Inspection

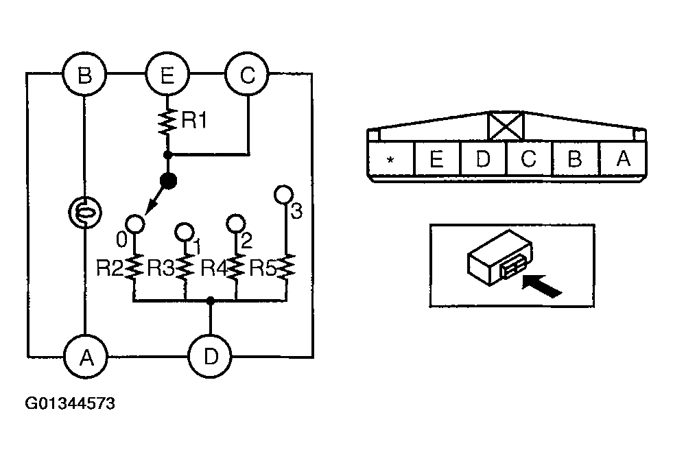
Headlight Leveling Switch Inspection

WARNING: This page is about a different car, the 2004 Mazda RX-8. However, it is still accessible from the selected car via links, so may be relevant.
  1. Remove the headlight leveling switch. (See HEADLIGHT LEVELING SWITCH REMOVAL/INSTALLATION .)
  2. Verify that continuity between the headlight leveling switch terminals is as indicated.
    • If not as indicated, replace the headlight leveling switch.
    Fig 1: Inspecting Headlight Leveling Switch Continuity
    G01344572Courtesy of MAZDA MOTORS CORP.
    Fig 2: Identifying Headlight Leveling Switch Terminals
    G01344573Courtesy of MAZDA MOTORS CORP.