lemon-mirror:
Home >> Mazda >> 2001 >> Tribute ES, FWD >> Repair and Diagnosis >> Transmission >> Automatic Trans >> Automatic Transaxle >> Forward/Coast/Direct Clutches >> Assembly Note

Assembly Note

  1. Soak the internal spline clutch plates in clean MERCON(R) Automatic Transaxle Fluid (ATF) for 30 minutes before assembly.
  2. Install the forward clutch piston inner seal on the forward/coast/direct clutch cylinder assembly.
    Fig 1: Installing Forward Clutch Piston Inner Seal
    G01163444
  3. Install the forward clutch piston outer lip seal on the forward clutch piston assembly.
    Fig 2: Installing Forward Clutch Piston Outer Lip Seal
    G01163445
  4. Install the forward clutch piston assembly in the forward/coast/direct clutch cylinder assembly.
    Fig 3: Installing Forward Clutch Piston Assembly
    G01163446
  5. Install the coast clutch piston assembly onto the special tool.
    Fig 4: Installing Coast Clutch Piston Assembly
    G01163447
  6. Using the special tool, install the coast clutch piston into the forward clutch piston assembly.
    Fig 5: Installing Coast Clutch Piston
    G01163448
  7. Install the forward/coast clutch return spring assembly.
    Fig 6: Installing Forward/Coast Clutch Return Spring Assembly
    G01163449
    WARNING: Use caution when releasing tool pressure on the clutch piston springs. Failure to follow these instructions can result in personal injury.
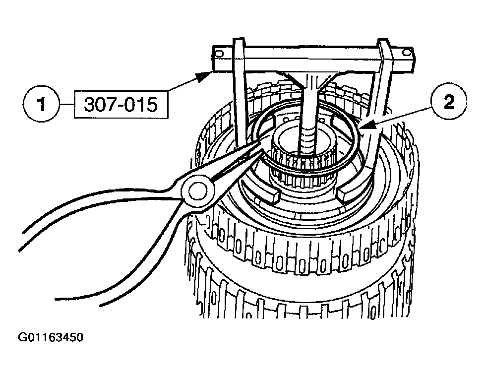
  8. Install the forward/coast clutch return spring retaining ring.
    Fig 7: Installing Forward/Coast Clutch Return Spring Retaining Ring
    G01163450
    1. Using the special tool, compress the return spring.
    2. Install the forward/coast clutch retaining ring.
  9. Install the forward and coast clutch plates in the sequence shown.
    Fig 8: Installing Forward And Coast Clutch Plates In The Sequence Shown
    G01163451
    1. Coast clutch external spline clutch plates (steel).
    2. Coast clutch internal spline clutch plates (friction).
    3. Coast clutch pressure plate.
    4. Forward clutch wave spring.
    5. Forward clutch internal spline clutch plates (friction).
    6. Forward clutch external spline clutch plates (steel).
    7. Forward clutch pressure plate.
  10. Install the forward clutch pressure plate retaining ring.
    Fig 9: Installing Forward Clutch Pressure Plate Retaining Ring
    G01163452
  11. Using a feeler gauge, measure the clearance between the forward clutch pressure plate and the forward clutch pressure plate retaining ring.
    Fig 10: Measuring Clearance Between The Forward Clutch Pressure Plate And The Forward Clutch Pressure Plate Retaining Ring
    G01163453
    1. Take a second measurement on the opposite side.
    2. Average the two measurements to get the clearance.
    3. If the clearance is not within specification, select and install the proper thickness retaining ring to obtain the standard clearance.
    4. Retaining ring sizes:
      1. 1.43-1.53 mm (0.056-0.060 in)
      2. 1.59-1.69 mm (0.062-0.066 in)
      3. 1.75-1.85 mm (0.069-0.073 in)
      4. 1.92-2.02 mm (0.75-0.079 in)
  12. Install the direct clutch piston inner lip seal on the direct clutch cylinder assembly.
    Fig 11: Installing Direct Clutch Piston Inner Lip Seal
    G01163454
  13. Install the direct clutch piston outer seal on the direct clutch piston assembly.
    Fig 12: Installing Direct Clutch Piston Outer Seal
    G01163455
    NOTE: Position the lip seal facing down.
  14. Install the direct clutch piston assembly in the forward/coast/direct clutch cylinder assembly.
    Fig 13: Installing Direct Clutch Piston Assembly
    G01163456
  15. Install the direct clutch return spring assembly.
    Fig 14: Installing Direct Clutch Return Spring Assembly
    G01163457
    WARNING: Use caution when releasing tool pressure on the clutch piston springs. Failure to follow these instructions can result in personal injury.
    CAUTION: Do not compress the direct clutch return springs completely.
  16. Install the direct clutch return spring retaining ring.
    Fig 15: Installing Direct Clutch Return Spring Retaining Ring
    G01163458
    1. Using the special tool, compress the direct clutch return springs.
    2. Install the direct clutch return spring retaining ring.
      NOTE:
      • Quantity of plates are model dependent.
  17. Install the direct clutch plates.
    Fig 16: Installing Direct Clutch Plates
    G01163459
    1. Install the direct clutch external spline (steel) clutch plates.
    2. Install the direct clutch internal spline (friction) clutch plates.
    3. Install the direct clutch pressure plate.
  18. Install the direct clutch pressure plate retaining ring.
    Fig 17: Installing Direct Clutch Pressure Plate Retaining Ring
    G01163460
  19. Measure the direct clutch clearance as follows:
    1. Install the special tool.
    2. Zero the dial on the direct clutch pressure plate.
    3. Pull the direct clutch pressure plate upward, and record the reading.
    Fig 18: Measuring Direct Clutch Clearance
    G01163461
  20. Make a second measurement on the opposite side. Average the two measurements to get the clearance. If the clearance is not within the specification, select and install, using the special tool, the correct thickness direct clutch pressure plate retainer snap ring to obtain the standard clearance.
    Fig 19: Second Measuring Direct Clutch Clearance
    G01163462
    1. Retaining ring sizes:
      1. 1.28-1.38 mm (0.050-0.054 in)
      2. 1.39-1.49 mm (0.054-0.058 in)
      3. 1.52-1.62 mm (0.059-0.063 in)
      4. 1.65-1.75 mm (0.064-0.069 in)